Salut,
Pour ceux que ça intéressent, J"ai trouvé pratique de pouvoir se faire une idée rapide sur ce qui les attend pour les moyeux AR de leur disco 300 tdi, pour l'approfondissement, ils liront avec un grand intérêt le best seller du Pater sur les moyeux AV de son def 300tdi
ici car de nombreux détails diffèrent et m'ont amené à me poser certaines questions par exemple:
La main-meneuse et le demi-arbre de roue étant indissociable contrairement à l"avant: on doit sortir l'ensemble

Si on cherche à le faire alors qu'on est dans un garage pas très large (ce qui est le cas du mien

) ben c'est impossible car ça bute contre les murs

- le long côté conducteur

- le court côté passager
L"absence de durites souples au niveau des étriers de freins. Cela nous permet-il de suspendre l'étrier sous l'aile arrière sans endommager la canalisation rigide? Oui à condition de dégrafer le tuyau du pont on tord ainsi le tuyau très légèrement et ce sur une grande longueur sans dépasser la limite élastique.

- l'étrier suspendu sous l'aile

- le tuyau dé-clipsé
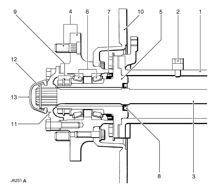
L"absence de
joint homocinétique fait qu'il n'y a pas de cage à aiguilles dans la fusée ni de butée en bronze, seul le
joint à lèvres est commun aux 2 montages: je me pose quand même une question sur le positionnement du
joint: y a t-il une côte d'enfoncement à respecter ou vient t-il en butée contre l'épaulement?
d'aprés la coupe du moyeu AR, il vient en butée
La suite au prochain épisode
A+