Dépassement soupapes et pistons 300tdi

Reconnaitre un moteur, restaurer une culasse...

Modérateurs : The Pater, LØLØ

Règles du forum
En naviguant sur le site http://www.landroverfaq.com vous reconnaissez avoir lu ses Conditions d’Utilisation, vous déclarez les comprendre et vous acceptez d’y être lié de manière inconditionnelle. Si tel n'est pas le cas, merci de quitter immédiatement ce site.

Vous pouvez joindre autant d'images que nécessaire à vos messages A LA CONDITION EXPRESSE d'utiliser l'hébergement fourni par le site.

L'administrateur effacera systématiquement tout message contenant des photos hébergées chez Imageschack, Casimage, Wistiti ou tout autre hébergeur tiers sans sommation ni justification.
Répondre
Avatar du membre
gus08
Habitué
Messages : 136
Enregistré le : 25/07/2014 13:08

Dépassement soupapes et pistons 300tdi

Message non lu par gus08 »

Salut.
Voila l'heure de l assemblage culasse/bloc.
Le bloc etant assemblé je fais les derniers controles.
Dépassement des pistons a une moyenne de 0.80 donc joint 3 trous(1.69mm) ok
Controle des tetes de soupapes et l'usineur a mis 2 soupapes d'echappement a 0.60mm a la place de 0.81mini

Voici ma question:
JDC de 1.69mm-0.80mm des pistons, reste 0.89mm.
De combien sortent les soupapes?
J'ai cru voir de 0.81mm a 1.09mm pour admission et 0.86mm a 1.14mm pour echappement

Donc si mon raisonnement est bon,
Ech 1.14 maxi-0.60= 0.54mm
Si on soustrait des 0.89 du JDC ça donne adm 0.89-0.54=0.35mm

En theorie ça ne doit pas toucher.
L'usineur est en congés donc pas moyen de lui faire reprendre les sieges et soupapes pour gagner 0.20 a 0.30mm

Merci pour vos avis

Gus

PS: LØLØ nouveau sujet pour etre précis au niveau réponse :-)
Avatar du membre
The Pater
Modérateur
Messages : 13985
Enregistré le : 25/08/2004 8:19
Localisation : 06°27'46"E 45°50'29"N

Re: Dépassement soupapes et pistons 300tdi

Message non lu par The Pater »

gus08 a écrit : Dépassement des pistons a une moyenne de 0.80 donc joint 3 trous(1.69mm) ok
té té té té

ce n'est pas la moyenne des dépassement à prendre, mais la plus forte valeur. Si tu as un des pistons qui dépsses 0.80, il faut le joint le plus épais, celui avec 0 trous.
Voici ma question:
JDC de 1.69mm-0.80mm des pistons, reste 0.89mm.
De combien sortent les soupapes?
J'ai cru voir de 0.81mm a 1.09mm pour admission et 0.86mm a 1.14mm pour echappement
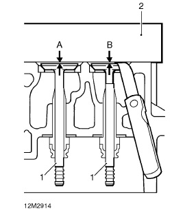
On ne vérifie pas le retrait des soupapes par rapport au pistons et au joint. On suppose le joint correct en épaisseur. Les soupapes sont vérifiées par rapport au plan de joint de la culasse.
Sans titre soupapes.jpg
le jeu vérifié au jeu de cales doit donner : 0.81mm a 1.09mm pour admission et 0.86mm a 1.14mm pour échappement. Sinon, il faut soit changer les sièges, soit les rectifier.

A+
Ingénieur :
Personne faisant un travail divinatoire de précision basé sur des informations peu fiables données par des personnes peu qualifiées, voire ignorantes.
=>, magicien, devin, sorcier
Avatar du membre
gus08
Habitué
Messages : 136
Enregistré le : 25/07/2014 13:08

Re: Dépassement soupapes et pistons 300tdi

Message non lu par gus08 »

The Pater a écrit :
té té té té

ce n'est pas la moyenne des dépassement à prendre, mais la plus forte valeur. Si tu as un des pistons qui dépsses 0.80, il faut le joint le plus épais, celui avec 0 trous.

Oui c'est bien ce que j'ai pour le JDC(1.69) car un des pistons est a un peu plus de 0.80
On ne vérifie pas le retrait des soupapes par rapport au pistons et au joint. On suppose le joint correct en épaisseur. Les soupapes sont vérifiées par rapport au plan de joint de la culasse.

Sans titre soupapes.jpg

le jeu vérifié au jeu de cales doit donner : 0.81mm a 1.09mm pour admission et 0.86mm a 1.14mm pour échappement. Sinon, il faut soit changer les sièges, soit les rectifier.
Le jeu est bien mesuré comme la photo et seule 2 soupapes d'echappement ne sont pas bonnes

Pas le choix je vais attendre que l'usineur rentre de congés.

La poisse.
Par chez moi c est penible de faire ce genre de reparation. Depuis que chez cet usineur(s) ça a été racheté c est un cauchemard.
Pour exemple 1 mois pour recuperer la culasse c etait en mai, en attendant j ai reparer et changé les traverses arriere et d'autres trucs pour qu il soit parfait pour le nouveau CT.
Et le bloc j ai attendu 2 mois pour le re alesage...

Avant ça aurait mis 1 semaine et je n'aurais pas eu de surprises comme ça.

Bref restons positifs

Merci The Pater

A+
Avatar du membre
The Pater
Modérateur
Messages : 13985
Enregistré le : 25/08/2004 8:19
Localisation : 06°27'46"E 45°50'29"N

Re: Dépassement soupapes et pistons 300tdi

Message non lu par The Pater »

gus08 a écrit :
The Pater a écrit :
té té té té

ce n'est pas la moyenne des dépassement à prendre, mais la plus forte valeur. Si tu as un des pistons qui dépsses 0.80, il faut le joint le plus épais, celui avec 0 trous.

Oui c'est bien ce que j'ai pour le JDC(1.69) car un des pistons est a un peu plus de 0.80

je ne comprends pas car deux post avant tu indiques que tu as le JDC à trois trous, je t'indique après qu'il faut un à 0 trous, et tu indiques finalement que c'est bon ? :?:

A+
Ingénieur :
Personne faisant un travail divinatoire de précision basé sur des informations peu fiables données par des personnes peu qualifiées, voire ignorantes.
=>, magicien, devin, sorcier
Avatar du membre
gus08
Habitué
Messages : 136
Enregistré le : 25/07/2014 13:08

Re: Dépassement soupapes et pistons 300tdi

Message non lu par gus08 »

Pardon apres recherches, effectivement le mien est un 3 trous qui est a 1.69mm indiqué sur l'emballage REINZ et le 0 est a 1.71mm.
Et suivant les marques ce n'est plus pareil, c est pour ça que j'avais cru avoir un 0 trous.
Par contre 2 centièmes ça me laisse perplexe sur le changement du joint.
Avatar du membre
nanard833
Habitué
Messages : 3989
Enregistré le : 10/10/2009 20:18
Localisation : disco 300TDI 431000 bornes

Re: Dépassement soupapes et pistons 300tdi

Message non lu par nanard833 »

Salut,

voir ici pour les refs

chez elring un 4 trous fait 1.6 mm d'épaisseur (correspondant normalement à 0 trou) pour dépassement pistons à partir 0.81 mm jusqu'à 0.9 mm .....
jdc 16mm 300tdi.jpg
chez REINZ un 0 trou fait 1.71 mm
jdc 16mm REINZ 300tdi.jpg
peut-être qu'une fois serré, les épaisseurs sont identiques….


il y a aussi des joints métal multicouches (non composite) mais qui encaissent moins les éventuels défauts des plans de joint (bloc et culasse)

Bref, tu prends un Elring de 1.6 mm correspondant au dépassement le plus important de tes 4 pistons (> 0.8mm ) et basta :mrgreen:

A+
Gratter la botte ne soulage guère quand ça démange à l'intérieur (proverbe chinois)
Avatar du membre
gus08
Habitué
Messages : 136
Enregistré le : 25/07/2014 13:08

Re: Dépassement soupapes et pistons 300tdi

Message non lu par gus08 »

Salut.
Un elring 1.60 ok mais le mien fait 1.69. Donc il est bon aussi :D
Je l ai mesuré au palmer et il fait bien 1.69, les cerclages sont plus epais(logique)
merci
Avatar du membre
nanard833
Habitué
Messages : 3989
Enregistré le : 10/10/2009 20:18
Localisation : disco 300TDI 431000 bornes

Re: Dépassement soupapes et pistons 300tdi

Message non lu par nanard833 »

Salut,

oui c'est bon

A+
Gratter la botte ne soulage guère quand ça démange à l'intérieur (proverbe chinois)
Avatar du membre
gus08
Habitué
Messages : 136
Enregistré le : 25/07/2014 13:08

Re: Dépassement soupapes et pistons 300tdi

Message non lu par gus08 »

Parfait. En plus l usineur par chance etait la et a repris tout les sieges :D
Répondre

Retourner vers « Moteur »