vitesse qui passe mal à chaud
Règles du forum
En naviguant sur le site http://www.landroverfaq.com vous reconnaissez avoir lu ses Conditions d’Utilisation, vous déclarez les comprendre et vous acceptez d’y être lié de manière inconditionnelle. Si tel n'est pas le cas, merci de quitter immédiatement ce site.
Vous pouvez joindre autant d'images que nécessaire à vos messages A LA CONDITION EXPRESSE d'utiliser l'hébergement fourni par le site.
L'administrateur effacera systématiquement tout message contenant des photos hébergées chez Imageschack, Casimage, Wistiti ou tout autre hébergeur tiers sans sommation ni justification.
En naviguant sur le site http://www.landroverfaq.com vous reconnaissez avoir lu ses Conditions d’Utilisation, vous déclarez les comprendre et vous acceptez d’y être lié de manière inconditionnelle. Si tel n'est pas le cas, merci de quitter immédiatement ce site.
Vous pouvez joindre autant d'images que nécessaire à vos messages A LA CONDITION EXPRESSE d'utiliser l'hébergement fourni par le site.
L'administrateur effacera systématiquement tout message contenant des photos hébergées chez Imageschack, Casimage, Wistiti ou tout autre hébergeur tiers sans sommation ni justification.
vitesse qui passe mal à chaud
Bonsoir à tous et surtout bonne année
J'aurais besoin de vos lumières car depuis peu, quand mon def est chaud la 1er et 2 eme passe trés trés mal.
J'ai vidangé et changé l huile de boite mais cela ne change rien du tout.
A l’arrêt toute les vitesses passent super bien
et la marche arrière craque quand il est chaud aussi
est ce normal?
merci d'avance
J'aurais besoin de vos lumières car depuis peu, quand mon def est chaud la 1er et 2 eme passe trés trés mal.
J'ai vidangé et changé l huile de boite mais cela ne change rien du tout.
A l’arrêt toute les vitesses passent super bien
et la marche arrière craque quand il est chaud aussi
est ce normal?
merci d'avance
Re: vitesse qui passe mal à chaud
Bonjour,
Vu les symptômes, je pencherais bien vers un problème de mauvais débrayage.
Le comportement de la pédale d'embrayage est-il normal ?
Tu peux tenter une purge du circuit hydraulique d'embrayage.
a+
Vu les symptômes, je pencherais bien vers un problème de mauvais débrayage.
Le comportement de la pédale d'embrayage est-il normal ?
Tu peux tenter une purge du circuit hydraulique d'embrayage.
a+
- LØLØ
- Modérateur
- Messages : 6209
- Enregistré le : 30/07/2006 15:41
- Localisation : guainville (28 )
- Contact :
Re: vitesse qui passe mal à chaud
Salut,
Qu'est ce que tu as mis comme huile dans la boite ?
MTF94 ? A+
Qu'est ce que tu as mis comme huile dans la boite ?
MTF94 ? A+
2 solutions: la bonne et l'Anglaise
LUCAS: Il n'y a pas de contact où il le faut et il y en a un où il ne faut pas
On ne peut aller loin en amitié, si on n'est pas disposé à se pardonner les uns aux autres les petits défauts.
www.eternal-vehicles.fr
LUCAS: Il n'y a pas de contact où il le faut et il y en a un où il ne faut pas
On ne peut aller loin en amitié, si on n'est pas disposé à se pardonner les uns aux autres les petits défauts.
www.eternal-vehicles.fr
- The Pater
- Modérateur
- Messages : 13979
- Enregistré le : 25/08/2004 8:19
- Localisation : 06°27'46"E 45°50'29"N
Re: vitesse qui passe mal à chaud
causes possibles :
Type d'huile
Etats des synchros
Embrayage qui débraye pas totalement
A+
Type d'huile
Etats des synchros
Embrayage qui débraye pas totalement
A+
Ingénieur :
Personne faisant un travail divinatoire de précision basé sur des informations peu fiables données par des personnes peu qualifiées, voire ignorantes.
=>, magicien, devin, sorcier
Personne faisant un travail divinatoire de précision basé sur des informations peu fiables données par des personnes peu qualifiées, voire ignorantes.
=>, magicien, devin, sorcier
Re: vitesse qui passe mal à chaud
Même la marche arrière craque. Il n'y a pas de synchro dans ce cas,non ? Cela appuie la these de l'embrayage qui ne débraye pas complètement ?The Pater a écrit :causes possibles :
Etats des synchros
Embrayage qui débraye pas totalement
A+
À bientôt
- The Pater
- Modérateur
- Messages : 13979
- Enregistré le : 25/08/2004 8:19
- Localisation : 06°27'46"E 45°50'29"N
Re: vitesse qui passe mal à chaud
Bien vu.....casa a écrit : Même la marche arrière craque. Il n'y a pas de synchro dans ce cas,non ? Cela appuie la these de l'embrayage qui ne débraye pas complètement ?
A+
Ingénieur :
Personne faisant un travail divinatoire de précision basé sur des informations peu fiables données par des personnes peu qualifiées, voire ignorantes.
=>, magicien, devin, sorcier
Personne faisant un travail divinatoire de précision basé sur des informations peu fiables données par des personnes peu qualifiées, voire ignorantes.
=>, magicien, devin, sorcier
Re: vitesse qui passe mal à chaud
bonsoir,
merci pour vos réponses
J'ai changé il y a pas longtemps l'émetteur et le récepteur d'embrayage
La garde de la pédale est très basse car a peine je relâche la pédale et il part de suite.
oui j'ai purgé le circuit, mais peut être faut il le refaire
merci pour vos réponses
J'ai changé il y a pas longtemps l'émetteur et le récepteur d'embrayage
La garde de la pédale est très basse car a peine je relâche la pédale et il part de suite.
oui j'ai purgé le circuit, mais peut être faut il le refaire
-
jerome38
- Habitué
- Messages : 725
- Enregistré le : 03/06/2004 10:45
- Localisation : Uriage, Region grenobloise
Re: vitesse qui passe mal à chaud
As tu réglé correctement la longueur de la biellette sur l'emmetteur...?
Re: vitesse qui passe mal à chaud
bonsoir,
J'ai réglé l’émetteur mais sur le récepteur j ai rien réglé
Le récepteur se règle comment?
J'ai réglé l’émetteur mais sur le récepteur j ai rien réglé
Le récepteur se règle comment?
- The Pater
- Modérateur
- Messages : 13979
- Enregistré le : 25/08/2004 8:19
- Localisation : 06°27'46"E 45°50'29"N
Re: vitesse qui passe mal à chaud
Il n'y a pas de réglage.pich a écrit : Le récepteur se règle comment?
A+
Ingénieur :
Personne faisant un travail divinatoire de précision basé sur des informations peu fiables données par des personnes peu qualifiées, voire ignorantes.
=>, magicien, devin, sorcier
Personne faisant un travail divinatoire de précision basé sur des informations peu fiables données par des personnes peu qualifiées, voire ignorantes.
=>, magicien, devin, sorcier
Re: vitesse qui passe mal à chaud
bonsoir,
Et comment bien réglé la tige de l émetteur?
merci d'avance
Et comment bien réglé la tige de l émetteur?
merci d'avance
- The Pater
- Modérateur
- Messages : 13979
- Enregistré le : 25/08/2004 8:19
- Localisation : 06°27'46"E 45°50'29"N
Re: vitesse qui passe mal à chaud
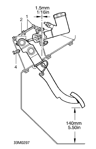
Tu enlèves la plaque qui est audessus de la tige : vis 1 sur le dessin. Il y a 6 vis.pich a écrit : Et comment bien réglé la tige de l émetteur?
Tu desserres les écrous 2 (place très limitée pour passer la clef)
Tu régles la vis 4 pour que la pédale soit à 140 mm du sol (sans tapis de sol !)
Tu régles les écrous 2 pour obtenir un jeu de 1,5 mm entre tige et piston, pédale d'embrayage complétement relachée.
A+
Ingénieur :
Personne faisant un travail divinatoire de précision basé sur des informations peu fiables données par des personnes peu qualifiées, voire ignorantes.
=>, magicien, devin, sorcier
Personne faisant un travail divinatoire de précision basé sur des informations peu fiables données par des personnes peu qualifiées, voire ignorantes.
=>, magicien, devin, sorcier
Re: vitesse qui passe mal à chaud
Bonsoir pater,
merci pour l'explication ,juste (Tu régles les écrous 2 pour obtenir un jeu de 1,5 mm entre tige et piston, pédale d'embrayage complétement relachée.)
j'ai du mal a voir a quoi correspond le jeu entre la tige et le piston?
merci pour l'explication ,juste (Tu régles les écrous 2 pour obtenir un jeu de 1,5 mm entre tige et piston, pédale d'embrayage complétement relachée.)
j'ai du mal a voir a quoi correspond le jeu entre la tige et le piston?
- The Pater
- Modérateur
- Messages : 13979
- Enregistré le : 25/08/2004 8:19
- Localisation : 06°27'46"E 45°50'29"N
Re: vitesse qui passe mal à chaud
Il faut qu'une fois les écrous serrés, qu'en appuyant sur la pédale, la tige bouge de 1.5 mm dans le vide avant de toucher le piston.pich a écrit : j'ai du mal a voir a quoi correspond le jeu entre la tige et le piston?
Je fais cela de la façon suivante:
Ecrous desserrées, je pousse à la main la tige.
Recule de 1.5 mm (entre 1 et 2 mm) la tige. Note la position de la tige par rapport à quelque chose. Perso j'avais mesuré la distance entre le bout de la tige et le cylindre percé qui sert de liaison entre la pédale et la tige. Amène l'écrou le plus difficile à visser (je ne sais plus lequel, celui coté émetteur je crois) à la main contre le cylindre percé.
Amène ensuite le second écrou. Reste à serrer les écrous.
Suivant la façon que tu serres les écrous, cela peut te faire sortir de ton réglage.
A+
Ingénieur :
Personne faisant un travail divinatoire de précision basé sur des informations peu fiables données par des personnes peu qualifiées, voire ignorantes.
=>, magicien, devin, sorcier
Personne faisant un travail divinatoire de précision basé sur des informations peu fiables données par des personnes peu qualifiées, voire ignorantes.
=>, magicien, devin, sorcier
Re: vitesse qui passe mal à chaud
salut pater,
Et bien aujourd’hui hui j'ai effectué le réglage comme tu me l a décrit et nickel
les vitesses passent super bien et la pédale est plus dur et descend moins pour embrayé
merci encore pour tes conseils
Et bien aujourd’hui hui j'ai effectué le réglage comme tu me l a décrit et nickel
les vitesses passent super bien et la pédale est plus dur et descend moins pour embrayé
merci encore pour tes conseils
Re: vitesse qui passe mal à chaud
Merci pour ces précisions cela va me servir aussi. Mon Def avait moins de garde depuis le changement E et R. Par contre je vais mettre une petite plaque d'alu sous le récepteur pour le protéger de la chaleur du pot d'echappement. Je me demande si c'est pas la chaleur excessive qui fragilise sur les Def l'ensemble E et Récepteur. Le liquide Dot résiste mais qu'en est-il des joint. Je me suis brûlé sur le récepteur alors que je n'avais quasiment pas embrasé...