Pédale molle sur defender

Entretenir son système de freinage, installer des freins à disque...

Modérateurs : The Pater, LØLØ

Règles du forum
En naviguant sur le site http://www.landroverfaq.com vous reconnaissez avoir lu ses Conditions d’Utilisation, vous déclarez les comprendre et vous acceptez d’y être lié de manière inconditionnelle. Si tel n'est pas le cas, merci de quitter immédiatement ce site.

Vous pouvez joindre autant d'images que nécessaire à vos messages A LA CONDITION EXPRESSE d'utiliser l'hébergement fourni par le site.

L'administrateur effacera systématiquement tout message contenant des photos hébergées chez Imageschack, Casimage, Wistiti ou tout autre hébergeur tiers sans sommation ni justification.
Avatar du membre
Stagadon
Habitué
Messages : 275
Enregistré le : 17/09/2019 22:07
Localisation : 29 Nord Finistère

Re: Pédale molle sur defender

Message non lu par Stagadon »

Cela éviterait de retourner une coupelle pas inadvertance . Maintenant retourner une coupelle ou coupelle déchirée , ce serait pas simplement qu'elle étais bien fatiguée ?
Je vais démonter ce maitre cylindre cette après midi , à mon que vous ne me le déconseilliez . Pour démonter je retire les tuyauteries puis les boulons de maintien sur l'assistance mais que faut-il ne pas faire ?!
110 TD5 / 99 .
Avatar du membre
Stagadon
Habitué
Messages : 275
Enregistré le : 17/09/2019 22:07
Localisation : 29 Nord Finistère

Re: Pédale molle sur defender

Message non lu par Stagadon »

Pour être exact , The Pater, je ne peux pas affirmer que les freins avant ne freinaient pas aussi en roulant , le centre des roues était moins tiède mais bon je nage dans dans l'imprécision .
110 TD5 / 99 .
Avatar du membre
The Pater
Modérateur
Messages : 13981
Enregistré le : 25/08/2004 8:19
Localisation : 06°27'46"E 45°50'29"N

Re: Pédale molle sur defender

Message non lu par The Pater »

Stagadon a écrit :Le maitre cylindre comporte bien deux circuits pour alimenter en X l' AG avec ARD et l'AVD avec l'ARG indépendamment par sécurité ?
Hummm........

Sur mon 300 Tdi sans ABS, la réponse est non.

Et quand j'écrivais mon intervention plus haut, j'avais en tête un véhicule sans ABS.

Mais je viens de voir que tu as un Td5.

Avec ou sans ABS ?

A+
Ingénieur :
Personne faisant un travail divinatoire de précision basé sur des informations peu fiables données par des personnes peu qualifiées, voire ignorantes.
=>, magicien, devin, sorcier
Avatar du membre
Stagadon
Habitué
Messages : 275
Enregistré le : 17/09/2019 22:07
Localisation : 29 Nord Finistère

Re: Pédale molle sur defender

Message non lu par Stagadon »

Sans ABS et de plus je raconte des âneries. Il y a un T sur le pont AR donc non pas de double circuit malheureusement. J’en suis à démontrer le Maître cylindre après avoir remplacé la pédale d’accélérateur.
Tant qu’à faire puisque je suis lancé à remplacer les 5 flexibles de freins l’étrier AV g le droit est neuf le répartiteur les visses de purge . Les deux étriers AR ont reçu des pistons inox il y à quelques temps ça c’était avant via le vendeur,j’ hésite à les remplacer aussi par du neuf ( les étriers complet ) . Je ne veux pas rafistoler le freinage je remplace par de neuf LR . J’oublie quelques choses ?
110 TD5 / 99 .
Avatar du membre
Stagadon
Habitué
Messages : 275
Enregistré le : 17/09/2019 22:07
Localisation : 29 Nord Finistère

Re: Pédale molle sur defender

Message non lu par Stagadon »

Si non ça se fait d’installer un système double circuit pour assurer une meilleure sécurité ou c’est superflu.
110 TD5 / 99 .
Avatar du membre
The Pater
Modérateur
Messages : 13981
Enregistré le : 25/08/2004 8:19
Localisation : 06°27'46"E 45°50'29"N

Re: Pédale molle sur defender

Message non lu par The Pater »

Stagadon a écrit :Sans ABS
Donc pour sûr tu n'as pas un montage en X, mais tu l'as remarqué grâce au T.

Reste que tu as ou non un system de reduction de pression. Monté sur tous les 90, mais pas tous les 110.

Tu as soit cela :
2020-01-14_15-52-41.jpg
Soit cela :
2020-01-14_15-53-02.jpg

Tu peux avoir, dans certains cas, si le systeme de reduction de pression (PRV) fonctionne mal, une pression résiduelle dans les frein arrière. D'où ma demande si tous les freins chauffaient.

Mais bon, maintenant que tu as plus de pression du tout, je pense que c'est le maitre cylindre dont voici la coupe :
2020-01-14_15-53-48.jpg
Mais comme tu peux le remarquer, il faut plsieurs coupelles (3 et 5) endommagées en m^me temps pour ne plus avoir de freins du tout (plus de pression du tout, ni dans le circuit avant, ni dans l'arrière).
Peut être avais tu un problème sur une coupelle et qu'elle a perturbé la bonne purge.

A+
Ingénieur :
Personne faisant un travail divinatoire de précision basé sur des informations peu fiables données par des personnes peu qualifiées, voire ignorantes.
=>, magicien, devin, sorcier
Avatar du membre
Stagadon
Habitué
Messages : 275
Enregistré le : 17/09/2019 22:07
Localisation : 29 Nord Finistère

Re: Pédale molle sur defender

Message non lu par Stagadon »

Ok c’est exactement ça. Le premier schéma avec le réducteur de pression. Je viens de remonter le maître le maître cylindre. RAS . Bien regardé les trois coupelles qui sont en état impeccable, je n’ai pas dévissé le ressort de la première mais j’ai bien pu voir qu’elle était saine. Le fluide ne coulait pas au travers du spi extérieur. J’ai soufflé le tuyau AVg incriminé pas d’obstruction. Demain je repurge . Et en aspirant par le purge vous en pensez quoi? Par ailleurs sur un autre post vous m’aviez parlé de la pedale d’accélérateur et je viens de la changer. A première vue en dans le garage juste en accélérant le moteur semble ne plus vibrer au fréquence en question. Alors un grand merci pour cette info, je détaillerai sur le poste en question après essais avec freins..
110 TD5 / 99 .
Avatar du membre
Stagadon
Habitué
Messages : 275
Enregistré le : 17/09/2019 22:07
Localisation : 29 Nord Finistère

Re: Pédale molle sur defender

Message non lu par Stagadon »

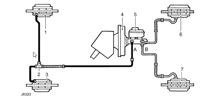
Cette coupe est intéressante pour comprendre , le réservoir comporte deux parties séparées pas un seuil . cela sert-il à laisser d'éventuelles bulles disparaitre ? je ne comprend pas bien les cycles dans le corps du frein des sections A;B;C;D . Les sections A et C sont les zones de compression et les autres ?
110 TD5 / 99 .
Avatar du membre
Stagadon
Habitué
Messages : 275
Enregistré le : 17/09/2019 22:07
Localisation : 29 Nord Finistère

Re: Pédale molle sur defender

Message non lu par Stagadon »

vendredi je retente une purge des freins , actuellement le maître cylindre est vide puisque je l'ai démonté . Pour chasser toutes ses bulles internes lors du premier remplissage faut-il désacoupler un tuyau ou simplement insister sufisament ? Cette fois , je vais procéder par apport de pression d'air dans le réservoir de fluide , env 2 bar.La technique par aspiration à chaque purge me tente bien aussi , en appliquant du Téflon aux filetages pour que l'air n'y passe pas pour ressortir aussitôt . J'ai un doute sur un risque d'entré d'air malgré tout ,par les coupelles d'étriers elles même . Le gros avantage serait d'avoir toujours la pompe à "vide" du véhicule à poste .
110 TD5 / 99 .
Avatar du membre
The Pater
Modérateur
Messages : 13981
Enregistré le : 25/08/2004 8:19
Localisation : 06°27'46"E 45°50'29"N

Re: Pédale molle sur defender

Message non lu par The Pater »

Stagadon a écrit :Cette coupe est intéressante pour comprendre , le réservoir comporte deux parties séparées pas un seuil . cela sert-il à laisser d'éventuelles bulles disparaitre ?
Il y a deux parties créant un réservoir pour l'avant et un pour l'arrère. Une fuite ne videra pas le réservoir complétement. Par exemple, une fuite sur l'avant et perte de freins sur l'avant, l'arrière aura toujours du liquide dans un réservoir et tu auras toujour du frein sur l'arrière.
je ne comprend pas bien les cycles dans le corps du frein des sections A;B;C;D . Les sections A et C sont les zones de compression et les autres ?
Les autres ont du liquide à pression atmosphérique.

Prenons le cas de l'avant chambre A et B
L'orifice en haut, juste à gauche du joint 3 est un orifice de dilatation, servant à permettre la dilatation du liquide, freins au repos, et donc éviter que le plaquettes soient poussées contre le disque si la température augmente.
L'orifice en haut juste à droite est l'orifice de réalimentation.

Tu freines, tu pousses le piston vers l'avant, le joint passe l'orifice de dilatation, et le système hydraulique devient étanche et la pression monte.
Tu relâches les freins. Le piston en revenant en arrière, la pression dans la chambre A diminue. La pression dans la chambre B ne varie pas, pression atmosphérique.

Si la pression dans la chambre A diminue (quand le piston va vers la droite, poussé par le ressort de rappel) et devient inférieur à celle de B, avant le passage de l'orifice de dilatation, du liquide dans la chambre B passe dans A à cause de la forme du joint 3. C'est le cas en cas de fuite, ou plus normalement lors de l'usure des plaquettes et des disques.

A+
Ingénieur :
Personne faisant un travail divinatoire de précision basé sur des informations peu fiables données par des personnes peu qualifiées, voire ignorantes.
=>, magicien, devin, sorcier
Avatar du membre
The Pater
Modérateur
Messages : 13981
Enregistré le : 25/08/2004 8:19
Localisation : 06°27'46"E 45°50'29"N

Re: Pédale molle sur defender

Message non lu par The Pater »

Stagadon a écrit :vendredi je retente une purge des freins , actuellement le maître cylindre est vide puisque je l'ai démonté . Pour chasser toutes ses bulles internes lors du premier remplissage faut-il désacoupler un tuyau ou simplement insister sufisament ?
Une purge traditionnelle suffit.

Une autre méthode est d'injecter le liquide frein à partir des étriers. Tu pousses ainsi l'air vers le maître cylindre.

La méthode de purge sous pression à partir du réservoir marche bien si le système hydraulique est déjà remplit. Donc pour changer le liquide, ok.
Mais pour remplir un système hydraulique, c'est moins efficace que d'injecter sous pression à partir des étriers.

A+
Ingénieur :
Personne faisant un travail divinatoire de précision basé sur des informations peu fiables données par des personnes peu qualifiées, voire ignorantes.
=>, magicien, devin, sorcier
Avatar du membre
Stagadon
Habitué
Messages : 275
Enregistré le : 17/09/2019 22:07
Localisation : 29 Nord Finistère

Re: Pédale molle sur defender

Message non lu par Stagadon »

Bonjour,
HAAAAAAA j'ai bien tout compris c'est extra . savoir expliquer est un dont merci .

Ce qui va se passer dans mon cas , c'est le contraire pour la purge ! je suis passé hier chercher un "expert by fac m" qui aspire lui via un Venturi sur de l'air comprimé . Donc je vais tenter une succion via les visses de purges bien enrobées de téflon . En fait ce n'est pas le contraire mais simplement moins de différence de pression est présente , moins d'un bar env 850Grammes /cm2 . ce n'est pas beaucoup mais je n'ai pas de simple bouchon à qui installer une valve de pneu par exemple . Je vais devoir composer avec , je pense installer le système sur la roue avant gauche pour commencer , pour avoir plus de réactivité moins de perte de charges , le mètre en route et pomper à la pédale en mê temps pour chasser l'air du corps du maitre cylindre . Là j'improvise je ne sais pas si ma méthode est bonne mais je fais avec le matériel que j'ai ici et maintenant . maintenant je me pose la question suivante: il y a t'il en purgeant à deux , l'un à pomper au pied , l'autre à ouvrir les purges quand la pédale est enfoncé en pression ; une possibilité de faire une mauvaise manipulation de la pédale et de détériorer quelque chose dans le suivi mécanique jusqu'au M cylindre et ou du désordre dans le "tiroirs" de l'assistance ? je ne comprend pas pourquoi d'un coup lors de ma purge et après un vif succès sur l'arrière , arrivé à l'avant G , plus rien dans la pédale . il n'a jamais manqué de fluide .
110 TD5 / 99 .
Avatar du membre
Stagadon
Habitué
Messages : 275
Enregistré le : 17/09/2019 22:07
Localisation : 29 Nord Finistère

Re: Pédale molle sur defender

Message non lu par Stagadon »

La purge catastrophique avait été réalisé bouchon de réservoir ouvert , un petit geyser se faisait voir lors le l'appuis sur le freins , ce serait mieux réservoir fermé ?
110 TD5 / 99 .
Avatar du membre
The Pater
Modérateur
Messages : 13981
Enregistré le : 25/08/2004 8:19
Localisation : 06°27'46"E 45°50'29"N

Re: Pédale molle sur defender

Message non lu par The Pater »

Stagadon a écrit :La purge catastrophique avait été réalisé bouchon de réservoir ouvert , un petit geyser se faisait voir lors le l'appuis sur le freins , ce serait mieux réservoir fermé ?
?

Je fais toujours mes purges/remplacement de liquide avec le réservoir ouvert.

Il y a bien une remonté de liquide lors de l'action sur la pédale, mais pas de geyser débordant hors du réservoir, sauf si le niveau est haut et je suis un peu violent sur la pédale. :wink:

A+
Ingénieur :
Personne faisant un travail divinatoire de précision basé sur des informations peu fiables données par des personnes peu qualifiées, voire ignorantes.
=>, magicien, devin, sorcier
Avatar du membre
The Pater
Modérateur
Messages : 13981
Enregistré le : 25/08/2004 8:19
Localisation : 06°27'46"E 45°50'29"N

Re: Pédale molle sur defender

Message non lu par The Pater »

Stagadon a écrit : maintenant je me pose la question suivante: il y a t'il en purgeant à deux , l'un à pomper au pied , l'autre à ouvrir les purges quand la pédale est enfoncé en pression ; une possibilité de faire une mauvaise manipulation de la pédale et de détériorer quelque chose dans le suivi mécanique jusqu'au M cylindre et ou du désordre dans le "tiroirs" de l'assistance ?
Je ne vois pas comment détériorer le maître cylindre en faisant la purge.

A deux (pour un véhicule 4 roues), ou solo (pour une moto).

Remplir le réservoir.
Actionner la pédale de frein jusqu'à obtenir une pression.
Garder la pédale appuyée.
Ouvrir la vis de purge.
Dès que le fluide ne couple plus dans le tuyau mis sur la vis de purge, refermer la vis.
Relacher la pédale de frein

Recommencer et vérifier de temps en temps le niveau dans le réservoir.

Perso, à deux, je suis sous le véhicule pour fermer et ouvrir les vis de purge, le code c'est :
je dis "1" et l'autre appuie sur la pédale.
je dis "2" et l'autre relâche la pédale

A+
Ingénieur :
Personne faisant un travail divinatoire de précision basé sur des informations peu fiables données par des personnes peu qualifiées, voire ignorantes.
=>, magicien, devin, sorcier
Avatar du membre
Normand 1400
Habitué
Messages : 2048
Enregistré le : 12/01/2006 13:16
Localisation : Pays de Caux profond

Re: Pédale molle sur defender

Message non lu par Normand 1400 »

Pareil.

A noter que cette méthode fonctionne même en cas de vidange complète du circuit, après un remplacement de pièces par exemple.

Tout au plus peut-il être nécessaire de rappeler la pédale avec la pointe du pied, car elle peut rester au plancher. :wink:
Avatar du membre
Stagadon
Habitué
Messages : 275
Enregistré le : 17/09/2019 22:07
Localisation : 29 Nord Finistère

Re: Pédale molle sur defender

Message non lu par Stagadon »

C’est fait, j’ai certainement lors de ma première tentative fait entrer de l’air dans le Maitre cylindre. J’ai opéré cette fois ci,seul, pour bien tout maîtriser, en utilisant se système à dépression connecté à la visse de purge choisie. C’est très bien SI il y avait des bouchons de protections bien graissés pour que les visses de purges ne soit pas rouillées. C’était mon cas ( rouillées) et pas de bouchons. Avant de commencer alors, commander des visses neuves. Dévisser la visse de purge bien enrouler du Téflon sur son filetage la revisser jusqu’à fermeture et y ficher le tuyau d’aspiration en dépression . Ouvrir lentement jusqu’à voir le fluide descendre. Surtout ne pas ouvrir trop car l’air passe vite par le jeu du filetage. J’ai fait comme ça avec un bon résultat. Cela se fait tout seul, rien à tenir, je pompe de temps à autre la pedale à la main. Tout comme vous me l’avez expliqué plus haut, le Maitre cylindre à fini par se débarrasser de ses bulles mais il faut être patient. Merci de l’aide ça freine bien et plus de couinement en prime. Pour le « vide «  dans le récipient récepteur, sur cette appareil il se fait avec un venturi et donc un apport d’air comprimé de 6 a10 bar est utile et il est assoiffé . Ne pas arrêter le venturi il pourrait arriver que le clapet chargé de garder le vide soit fuyant. Il est très facile d’utiliser la pompe à dépression de frein ( moteur tournant) pour faire le travail sans air comprimé au milieu d’un champ.
110 TD5 / 99 .
Avatar du membre
The Pater
Modérateur
Messages : 13981
Enregistré le : 25/08/2004 8:19
Localisation : 06°27'46"E 45°50'29"N

Re: Pédale molle sur defender

Message non lu par The Pater »

Stagadon a écrit :C’était mon cas ( rouillées) et pas de bouchons.
Je n'ai pas bouchons sur les vis de purge des freins sur mon def aussi. Et cela depuis sa sortie de concession, quand il était neuf.

Par contre elle ne sont pas rouillées car je purge tous les deux ans.

A+
Ingénieur :
Personne faisant un travail divinatoire de précision basé sur des informations peu fiables données par des personnes peu qualifiées, voire ignorantes.
=>, magicien, devin, sorcier
Avatar du membre
Stagadon
Habitué
Messages : 275
Enregistré le : 17/09/2019 22:07
Localisation : 29 Nord Finistère

Re: Pédale molle sur defender

Message non lu par Stagadon »

Le tiens tu le suis , le connais et l'écoute sans doute depuis tout petit , le mien n'a pas été chouchouté avant de me rencontrer . Né en 99 , sous le joint à l'épaulement des portière avant , c'est déjà de la pâte feuilleté . ça je ne comprend pas qu'on laisse pourrir ainsi une telle situation alors que l'eau du ciel s'y engouffre et ronge la butée de portière et la zone du tablier ( en passant par l'AS10 ) . Il était temps de faire quelque chose .
Je vais changer les flexibles de frein je ne suis pas tranquille , se sera l'occasion de peaufiner ma purge et de remplacer les visses de purges .
J'ai une question encore ; si je dépose les étriers arrières pour juger de leur avenir ( vu que le fluide était de la vinaigrette) , pour resserrer les visses torx mâle , je met du frein filet normale ou rien ? bonne journée .
110 TD5 / 99 .
Répondre

Retourner vers « Freinage »