Problème embrayage TD5
Règles du forum
En naviguant sur le site http://www.landroverfaq.com vous reconnaissez avoir lu ses Conditions d’Utilisation, vous déclarez les comprendre et vous acceptez d’y être lié de manière inconditionnelle. Si tel n'est pas le cas, merci de quitter immédiatement ce site.
Vous pouvez joindre autant d'images que nécessaire à vos messages A LA CONDITION EXPRESSE d'utiliser l'hébergement fourni par le site.
L'administrateur effacera systématiquement tout message contenant des photos hébergées chez Imageschack, Casimage, Wistiti ou tout autre hébergeur tiers sans sommation ni justification.
En naviguant sur le site http://www.landroverfaq.com vous reconnaissez avoir lu ses Conditions d’Utilisation, vous déclarez les comprendre et vous acceptez d’y être lié de manière inconditionnelle. Si tel n'est pas le cas, merci de quitter immédiatement ce site.
Vous pouvez joindre autant d'images que nécessaire à vos messages A LA CONDITION EXPRESSE d'utiliser l'hébergement fourni par le site.
L'administrateur effacera systématiquement tout message contenant des photos hébergées chez Imageschack, Casimage, Wistiti ou tout autre hébergeur tiers sans sommation ni justification.
-
Mathieu Kpl
- Habitué
- Messages : 18
- Enregistré le : 29/11/2022 22:45
Re: Problème embrayage TD5
Salut,
J'ai enfin pu avancer sur le problème en faisant le test avec une caméra par le passage à gué de la cloche. Malheureusement cela ce n'était pas évident à voir avec la qualité et la faible lumière qu'elle produit ... Malgré cela, j'ai pu voir que la tige de poussé se déplaçait seulement d'environ 1.5 cm avec la pédale touchant le planché et le réglage de l'émetteur également à fond. Es ce normal un déplacement aussi faible ?
De plus, j'ai re contrôlé le tuyau entre l'émetteur et récepteur, juste en posant la main sur le tuyau, il ne se passe rien, mais par contre en le soulageant un petit peu ( Le tirer très légèrement vers le haut), le tuyau se gonfle légèrement. Es ce normal, car on le tire un tout petit peu ou cela montre qu'il est usagé ?
Autre question, sur une affiche envoyée avec le kit embrayage, il est précisé qu'il ne faut pas monter un nouvel émetteur et récepteur avec un kit embrayage également neuf. Mais je ne comprends pas en quoi cela peut gêner ?
Par rapport aux messages cités juste au-dessus, quels symptômes montreraient que le disque soit monté à l'envers ... ?
Merci pour vos réponses et votre aide !
J'ai enfin pu avancer sur le problème en faisant le test avec une caméra par le passage à gué de la cloche. Malheureusement cela ce n'était pas évident à voir avec la qualité et la faible lumière qu'elle produit ... Malgré cela, j'ai pu voir que la tige de poussé se déplaçait seulement d'environ 1.5 cm avec la pédale touchant le planché et le réglage de l'émetteur également à fond. Es ce normal un déplacement aussi faible ?
De plus, j'ai re contrôlé le tuyau entre l'émetteur et récepteur, juste en posant la main sur le tuyau, il ne se passe rien, mais par contre en le soulageant un petit peu ( Le tirer très légèrement vers le haut), le tuyau se gonfle légèrement. Es ce normal, car on le tire un tout petit peu ou cela montre qu'il est usagé ?
Autre question, sur une affiche envoyée avec le kit embrayage, il est précisé qu'il ne faut pas monter un nouvel émetteur et récepteur avec un kit embrayage également neuf. Mais je ne comprends pas en quoi cela peut gêner ?
Par rapport aux messages cités juste au-dessus, quels symptômes montreraient que le disque soit monté à l'envers ... ?
Merci pour vos réponses et votre aide !
Re: Problème embrayage TD5
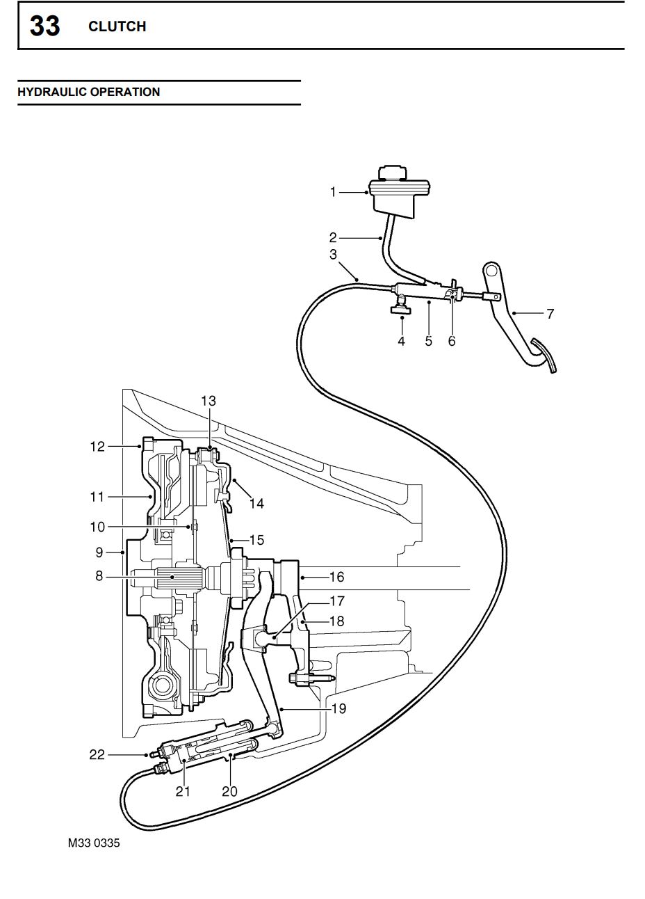
Voici le shema du manuel td5
je suppose qu'il est juste
je suppose qu'il est juste
Re: Problème embrayage TD5
Je trouve que ça fait cour...Mathieu Kpl a écrit : 08/05/2023 18:21 j'ai pu voir que la tige de poussé se déplaçait seulement d'environ 1.5 cm avec la pédale touchant le planché et le réglage de l'émetteur également à fond. Es ce normal un déplacement aussi faible ?
idée:
A deux ou seul si c'est possible, l'un qui appuis sur la pédale, l'autre qui suit le déplacement de la tige de poussée: les 2 mouvements doivent être synchronisés sinon la purge est incomplete.
Je ne crois pas que cela suffise pour empêcher le débrayage.Mathieu Kpl a écrit : 08/05/2023 18:21 le tuyau se gonfle légèrement. Es ce normal, car on le tire un tout petit peu ou cela montre qu'il est usagé ?
Moi non plus!Mathieu Kpl a écrit : 08/05/2023 18:21 il est précisé qu'il ne faut pas monter un nouvel émetteur et récepteur avec un kit embrayage également neuf. Mais je ne comprends pas en quoi cela peut gêner ?
Autre idée:
Ne peux-tu pas passer la camera par le passage du récepteur une fois déposé pour voir au travers des lamelles du diaphragme si le disque est bien orienté?
-
Mathieu Kpl
- Habitué
- Messages : 18
- Enregistré le : 29/11/2022 22:45
Re: Problème embrayage TD5
@Lbarbar oui effectivement j'y es pensé mais j'ai eu un petit soucis avec la caméra donc je n'es pas pu vérifier...
Concernant le tuyau, on m'a expliqué plus haut sur ce post qu'il pouvait éponger le liquide et donc gonfler ou s'entendre... mais il gonfle seulement quand je le soulève légèrement donc je ne comprend pas
Et non malheureusement... ce n'est pas possible de voir le disque .
Concernant le tuyau, on m'a expliqué plus haut sur ce post qu'il pouvait éponger le liquide et donc gonfler ou s'entendre... mais il gonfle seulement quand je le soulève légèrement donc je ne comprend pas
Et non malheureusement... ce n'est pas possible de voir le disque .
Re: Problème embrayage TD5
J'ai un ensemble complet (VM+embrayage+butée) ainsi que les cylindres, démontés, mais je ne suis pas sur place. Je tenterai de prendre quelques mesures et photos d'ici le WE prochain.
@Mathieu: pourrais-tu prendre en photo et mettre en ligne la doc qui indique qu'il ne faut pas remplacer les éléments du circuit hydraulique?
Faut-il en déduire que LR montait des pièces d'occasion lors de l'assemblage sur ligne?
@Mathieu: pourrais-tu prendre en photo et mettre en ligne la doc qui indique qu'il ne faut pas remplacer les éléments du circuit hydraulique?
Faut-il en déduire que LR montait des pièces d'occasion lors de l'assemblage sur ligne?
This manual should be used to find out where the water is leaking from. Due to the nature of the design and construction of the Defender this can prove to fairly difficult. The fact that water moves in seemingly random directions also adds to the problem
-
Mathieu Kpl
- Habitué
- Messages : 18
- Enregistré le : 29/11/2022 22:45
Re: Problème embrayage TD5
@kebir31 ce n'est dit exactement ça
mais qu'il est préférable de roder VM + embrayage avant de changer l'émetteur et récepteur, j'enverrais le document ce soir . Car moi aussi je trouve ça très bizarre.
-
Mathieu Kpl
- Habitué
- Messages : 18
- Enregistré le : 29/11/2022 22:45
Re: Problème embrayage TD5
Voici donc la photo, la phrase dont je parle est la dernière en rouge avec les 3 ***kebir31 a écrit : 09/05/2023 11:55 J'ai un ensemble complet (VM+embrayage+butée) ainsi que les cylindres, démontés, mais je ne suis pas sur place. Je tenterai de prendre quelques mesures et photos d'ici le WE prochain.
@Mathieu: pourrais-tu prendre en photo et mettre en ligne la doc qui indique qu'il ne faut pas remplacer les éléments du circuit hydraulique?
Faut-il en déduire que LR montait des pièces d'occasion lors de l'assemblage sur ligne?![]()
Re: Problème embrayage TD5
Merci.
En fait, ils disent qu'il ne faut pas installer leur émetteur ni leur récepteur "LOF power" tant que l'embrayage n'est pas rôdé. De même, sur leur site, on voit qu'il ne faut pas installer les deux (émetteur ET récepteur "power").
Je parierais que ces éléments "power" sont là pour augmenter la démultiplication lors du débrayage, c'est à dire qu'en installant un émetteur de diamètre plus petit que l'origine, ou un récepteur de diamètre plus gros que l'origine, on force moins sur la pédale, par contre la course de la butée se retrouve réduite. Donc à ne pas installer sur un embrayage non rôdé, et ne pas installer les deux cylindres (émetteur et récepteur) "power" ensemble, même sur un embrayage rôdé, sinon on ne débraye plus rien du tout
En fait, ils disent qu'il ne faut pas installer leur émetteur ni leur récepteur "LOF power" tant que l'embrayage n'est pas rôdé. De même, sur leur site, on voit qu'il ne faut pas installer les deux (émetteur ET récepteur "power").
Je parierais que ces éléments "power" sont là pour augmenter la démultiplication lors du débrayage, c'est à dire qu'en installant un émetteur de diamètre plus petit que l'origine, ou un récepteur de diamètre plus gros que l'origine, on force moins sur la pédale, par contre la course de la butée se retrouve réduite. Donc à ne pas installer sur un embrayage non rôdé, et ne pas installer les deux cylindres (émetteur et récepteur) "power" ensemble, même sur un embrayage rôdé, sinon on ne débraye plus rien du tout
This manual should be used to find out where the water is leaking from. Due to the nature of the design and construction of the Defender this can prove to fairly difficult. The fact that water moves in seemingly random directions also adds to the problem
-
Mathieu Kpl
- Habitué
- Messages : 18
- Enregistré le : 29/11/2022 22:45
Re: Problème embrayage TD5
Ah je comprend un peux mieux merci !
Comme je m'étais aperçus de la différence entre l'émetteur c'est pour cela que j'avais remis l'ancien à la place du nouveau . Mais comme tu me dit @Kebir31 seulement l'émetteur ou récepteur "power" pose problème, donc mon nouvel émetteur, qui est le "Defender & Series 3 Master cylinder OEM " Part number STC500100 ne dérange en aucun cas . Il me reste plus que 2 solutions possible, sois le problème avec le tuyau cité dans un message précédent ou la grosse boulette avec le disque ...
Comme je m'étais aperçus de la différence entre l'émetteur c'est pour cela que j'avais remis l'ancien à la place du nouveau . Mais comme tu me dit @Kebir31 seulement l'émetteur ou récepteur "power" pose problème, donc mon nouvel émetteur, qui est le "Defender & Series 3 Master cylinder OEM " Part number STC500100 ne dérange en aucun cas . Il me reste plus que 2 solutions possible, sois le problème avec le tuyau cité dans un message précédent ou la grosse boulette avec le disque ...
Re: Problème embrayage TD5
Sincèrement, je ne pense pas que le tuyau qui gonfle soit un problème suffisant pour empêcher le débrayage complet. Si tout était usé, fourchette , tige, pédale, etc, etc (en gros un def de 50 ans et plus
Donc tu as remonté logiquement le récepteur avec le plus petit diamètre c'est bien ça? Je pose la question juste pour bien tout vérifier avant de tout redémonter .On ne sait jamais.Mathieu Kpl a écrit : 09/05/2023 22:23 Comme je m'étais aperçus de la différence entre l'émetteur c'est pour cela que j'avais remis l'ancien à la place du nouveau
-
Mathieu Kpl
- Habitué
- Messages : 18
- Enregistré le : 29/11/2022 22:45
Re: Problème embrayage TD5
Il reste effectivement un peu de garde (2/3 cm) mais, après ça oui elle est dure, j'ai remis l'ancien récepteur (plus petit) et j'ai laissé l'émetteur neuf car il correspond exactement à l'ancien.
Donc il ne reste qu'à re déposer BV + BT, j'espère pouvoir le faire au plus vite et je reviendrai ici si je trouve enfin le problème
Donc il ne reste qu'à re déposer BV + BT, j'espère pouvoir le faire au plus vite et je reviendrai ici si je trouve enfin le problème
Re: Problème embrayage TD5
Resalut,
Quelques mesures sur les éléments de l'embrayage, et quelques pistes de réflexion.
Attention, il s'agit de pièces d'occasion, donc à ne pas prendre au micron près comme référence pour du neuf, d'une part parce que certains des éléments mesurés sont usés (surface de contact de butée sur le diaphragme par exemple), et d'autre part parce que des pièces neuves et non rodées présentent une rugosité plus importante.
1. Sens de montage du disque d'embrayage:
En montant le disque à l'envers, on limite la pénétration de l'arbre d'entrée de boite de vitesse. Voici ce qui dépasserait du disque côté moteur, avec le disque monté à l'envers: ce qui donne, une fois le disque posé contre le volant-moteur, un dépassement comme ceci, en direction du vilebrequin: Si on compare au schéma en coupe donné ci-dessus, on voit qu'on est pas loin de la limite. Je n'ai malheureusement pas les mesures VM/bloc ou arbre de boite/cloche d'embrayage, donc difficile de dire s'il y aurait du jeu ou pas.
En tout cas il est possible qu'un disque monté à l'envers puisse tout de même permettre le montage le cloche, en fonçant un peu sur la fin du serrage des vis de cloche de boite, et qu'une fois tout fermé, l'arbre d'entrée de boite force le disque contre le volant-moteur, interdisant ainsi tout débrayage.
2. Serrage du mécanisme:
Si on oublie de serrer les 6 écrous qui maintiennent le mécanisme sur le volant-moteur, la cloche du mécanisme n'est pas en contact avec le VM, il reste un espace d'environ 2.5mm La hauteur du centre du diaphragme au repos: La hauteur du centre du diaphragme , une fois les vis de maintien serrées au couple: Il y a un peu plus de 9mm d'enfoncement du centre du diaphragme, lié au serrage, pour un déplacement de 2.5mm au niveau de la cloche. On verra plus bas quelles sont les conséquences d'un mécanisme non vissé, une fois tout remonté
3. Déplacement de la butée, pour un montage correct (vis du mécanisme serrées):
J'ai monté l'ensemble dans la presse, afin de pouvoir contrôler la course nécessaire de la butée, pour arriver à libérer le disque par le dessous à l'aide d'un bout d'arbre d'entrée de boite, qui me sert habituellement à centrer les embrayages le disque se décolle (en tournant à la main) pour une course de butée d'environ 7.5mm 4. Déplacement de la butée, pour un montage incorrect (vis de mécanisme non serrées):
Rebelotte après avoir déserré les 6 écrous de maintien du mécanisme: Ici, la course totale de la butée, avant d'arriver à faire tourner le disque à la main, est d'environ 10mm. Cette distance correspond aux 7.5mm ci-dessus, auxquels on rajoute les 2.5 nécessaires pour que la cloche de mécanisme vienne entrer en contact avec le VM.
Il en découle qu'un oubli de serrage des écrous de mécanisme rallonge la course nécessaire (plus de 30%, ici)
5. Cylindres émetteur et récepteur:
Petit aparté: On notera le fonctionnement hydraulique de l'émetteur: au repos, le ressort repousse le piston vers sa butée, ce qui libère le canal d'alimentation de la chambre (petit piston) et permet au liquide de remplir la chambre. La construction de l'émetteur avec la tige prisionnère d'une rondelle et d'un circlip permet d'avoir le jeu n'écessaire pour garantir le retour du ressort à sa position de repos, et l'ouverture deu canal d'alimentation.
Il est donc important, lors du réglage d'un émetteur d'embrayage de ce type, de faire en sorte que ce jeu soit conservé. Sur le Td5, la vis de butée de pédale n'influe pas sur ce réglage de jeu (elle se trouve sous l'axe de pédale et règle donc la distance pédale/tablier une fois la pédale à fond), ce n'est donc pas un problème, mais sur les montages plus anciens , la butée règle la position repos de la pédale, et influe donc sur ce jeu ... et purge impossible.
Emetteur: diamètre 19mm, course maxi 36mm, volume déplacé entre les deux positions extrêmites 10.2cm3
Récepteur: diamètre 22mm, course maxi 54mm (peut-être un ou deux mm de plus, puisqu'il n'y a pas de butée limitant la sortie du piston), volume déplacé entre les deux positions extrêmes 20.5cm3, soit environ le double du volume de l'émetteur.
On a donc un rapport de démultiplication de 1:1.16 entre les deux.
Le volume deux fois plus important dans le récepteur permet de tenir compte du fait que la position au repos peut se situer sur une zone étendue du cylindre (alors que son déplacement est relativement faible), en fonction des empilements de tolérances de toutes les pièces composant l'embrayage, ainsi que de leur usure
La fourchette démultiplie d'environ 1:66, ce qui donne une course du piston de récepteur de 12.5mm, et donc une course du piston de l'émetteur de 14.5mm
ça correspond à un volume de liquide déplacé de 4.75cm3
Je n'ai pas de pédalier démonté sous la main, j'ai donc tenté de prendre des dimensions sur un véhicule: longueur du bout de la pédale à l'axe 26cm, longueur de l'axe de pédale à la tige du M/C: 5cm, donc un rapport de 5 environ. Si quelqu'un a les dimensions, j'éditerai pour corriger.
Il s'ensuit que pour un système "parfait" (sans jeux, liquide incompressible...), la course utile de la pédale serait de 73mm environ.
Sur mon 90 Td5, à la pédale, mesure effectuée tangentiellement au déplacement (donc vers l'angle où se joignent tablier et plancher) j'ai d'abord 2cm de déplacement à vide (correspondant au jeu entre la tige de poussée et le piston de l'émetteur), puis 14cm de course jusqu'au plancher. Le débrayage devrait donc se faire juste un peu plus base que la mi-course de la pédale.
6. Dernier point ... on garde toujours le meilleur pour la fin
Un élément n'a pas encore été abordé dans ce sujet, semble-t-il: sur les Td5, il a été placé un capteur de débrayage. Il s'agit d'un manocontact pris sur le circuit hydraulique, juste à la sortie de l'émetteur: Or, il se trouve que ce mano-contact est monté sur un bout de tube (un écrou long, en laiton) incliné de 45° par rapport à la verticale et qui maintient le piquage du départ vers le récepteur ... donc ce tube, essentiellement orienté vers le haut !!
Sont trop forts ces ingénieurs anglais. Sans doute un ancien, qui a pondu ça à trois jours de la retraite, et qui doit auourd'hui se marrer tous les matins en pensant à tous ces mécanos qui se grattent la tête pour purger les Td5
Il faudrait démonter pour mesurer le volume interne du bout de tube, et comparer avec les 4.75cm3 de liquide qu'il faut déplacer, car ce volume interne d'air correspond à un volume de liquide que l'on pousse "pour rien" (juste pour comprimer l'air, avant que la pression soit suffisante pour déplacer la butée d'embrayage)
Pour purger ce bout de tube, je vois deux façons:
1. bloquer la pédale en position débrayée et lentement dévisser le capteur et attendre que du liquide coule (après avoir placé des chiffons tout autour pour protéger), ou,
2. tenter la méthode proposée au-dessus, c'est à dire mettre le circuit sous pression pendant une nuit pour diluer l'air dans le liquide, puis purger rapidement l'ensemble le matin.
Bien évidemment, la solution correcte serait de modifier le circuit, afin de placer le capteur horizontalement sur une branche horizontale du circuit, et la sortie vers le récepteur vers le haut (mais il faudra alors refaire une conduite)
Quelques mesures sur les éléments de l'embrayage, et quelques pistes de réflexion.
Attention, il s'agit de pièces d'occasion, donc à ne pas prendre au micron près comme référence pour du neuf, d'une part parce que certains des éléments mesurés sont usés (surface de contact de butée sur le diaphragme par exemple), et d'autre part parce que des pièces neuves et non rodées présentent une rugosité plus importante.
1. Sens de montage du disque d'embrayage:
En montant le disque à l'envers, on limite la pénétration de l'arbre d'entrée de boite de vitesse. Voici ce qui dépasserait du disque côté moteur, avec le disque monté à l'envers: ce qui donne, une fois le disque posé contre le volant-moteur, un dépassement comme ceci, en direction du vilebrequin: Si on compare au schéma en coupe donné ci-dessus, on voit qu'on est pas loin de la limite. Je n'ai malheureusement pas les mesures VM/bloc ou arbre de boite/cloche d'embrayage, donc difficile de dire s'il y aurait du jeu ou pas.
En tout cas il est possible qu'un disque monté à l'envers puisse tout de même permettre le montage le cloche, en fonçant un peu sur la fin du serrage des vis de cloche de boite, et qu'une fois tout fermé, l'arbre d'entrée de boite force le disque contre le volant-moteur, interdisant ainsi tout débrayage.
2. Serrage du mécanisme:
Si on oublie de serrer les 6 écrous qui maintiennent le mécanisme sur le volant-moteur, la cloche du mécanisme n'est pas en contact avec le VM, il reste un espace d'environ 2.5mm La hauteur du centre du diaphragme au repos: La hauteur du centre du diaphragme , une fois les vis de maintien serrées au couple: Il y a un peu plus de 9mm d'enfoncement du centre du diaphragme, lié au serrage, pour un déplacement de 2.5mm au niveau de la cloche. On verra plus bas quelles sont les conséquences d'un mécanisme non vissé, une fois tout remonté
3. Déplacement de la butée, pour un montage correct (vis du mécanisme serrées):
J'ai monté l'ensemble dans la presse, afin de pouvoir contrôler la course nécessaire de la butée, pour arriver à libérer le disque par le dessous à l'aide d'un bout d'arbre d'entrée de boite, qui me sert habituellement à centrer les embrayages le disque se décolle (en tournant à la main) pour une course de butée d'environ 7.5mm 4. Déplacement de la butée, pour un montage incorrect (vis de mécanisme non serrées):
Rebelotte après avoir déserré les 6 écrous de maintien du mécanisme: Ici, la course totale de la butée, avant d'arriver à faire tourner le disque à la main, est d'environ 10mm. Cette distance correspond aux 7.5mm ci-dessus, auxquels on rajoute les 2.5 nécessaires pour que la cloche de mécanisme vienne entrer en contact avec le VM.
Il en découle qu'un oubli de serrage des écrous de mécanisme rallonge la course nécessaire (plus de 30%, ici)
5. Cylindres émetteur et récepteur:
Petit aparté: On notera le fonctionnement hydraulique de l'émetteur: au repos, le ressort repousse le piston vers sa butée, ce qui libère le canal d'alimentation de la chambre (petit piston) et permet au liquide de remplir la chambre. La construction de l'émetteur avec la tige prisionnère d'une rondelle et d'un circlip permet d'avoir le jeu n'écessaire pour garantir le retour du ressort à sa position de repos, et l'ouverture deu canal d'alimentation.
Il est donc important, lors du réglage d'un émetteur d'embrayage de ce type, de faire en sorte que ce jeu soit conservé. Sur le Td5, la vis de butée de pédale n'influe pas sur ce réglage de jeu (elle se trouve sous l'axe de pédale et règle donc la distance pédale/tablier une fois la pédale à fond), ce n'est donc pas un problème, mais sur les montages plus anciens , la butée règle la position repos de la pédale, et influe donc sur ce jeu ... et purge impossible.
Emetteur: diamètre 19mm, course maxi 36mm, volume déplacé entre les deux positions extrêmites 10.2cm3
Récepteur: diamètre 22mm, course maxi 54mm (peut-être un ou deux mm de plus, puisqu'il n'y a pas de butée limitant la sortie du piston), volume déplacé entre les deux positions extrêmes 20.5cm3, soit environ le double du volume de l'émetteur.
On a donc un rapport de démultiplication de 1:1.16 entre les deux.
Le volume deux fois plus important dans le récepteur permet de tenir compte du fait que la position au repos peut se situer sur une zone étendue du cylindre (alors que son déplacement est relativement faible), en fonction des empilements de tolérances de toutes les pièces composant l'embrayage, ainsi que de leur usure
La fourchette démultiplie d'environ 1:66, ce qui donne une course du piston de récepteur de 12.5mm, et donc une course du piston de l'émetteur de 14.5mm
ça correspond à un volume de liquide déplacé de 4.75cm3
Je n'ai pas de pédalier démonté sous la main, j'ai donc tenté de prendre des dimensions sur un véhicule: longueur du bout de la pédale à l'axe 26cm, longueur de l'axe de pédale à la tige du M/C: 5cm, donc un rapport de 5 environ. Si quelqu'un a les dimensions, j'éditerai pour corriger.
Il s'ensuit que pour un système "parfait" (sans jeux, liquide incompressible...), la course utile de la pédale serait de 73mm environ.
Sur mon 90 Td5, à la pédale, mesure effectuée tangentiellement au déplacement (donc vers l'angle où se joignent tablier et plancher) j'ai d'abord 2cm de déplacement à vide (correspondant au jeu entre la tige de poussée et le piston de l'émetteur), puis 14cm de course jusqu'au plancher. Le débrayage devrait donc se faire juste un peu plus base que la mi-course de la pédale.
6. Dernier point ... on garde toujours le meilleur pour la fin
Un élément n'a pas encore été abordé dans ce sujet, semble-t-il: sur les Td5, il a été placé un capteur de débrayage. Il s'agit d'un manocontact pris sur le circuit hydraulique, juste à la sortie de l'émetteur: Or, il se trouve que ce mano-contact est monté sur un bout de tube (un écrou long, en laiton) incliné de 45° par rapport à la verticale et qui maintient le piquage du départ vers le récepteur ... donc ce tube, essentiellement orienté vers le haut !!
Il faudrait démonter pour mesurer le volume interne du bout de tube, et comparer avec les 4.75cm3 de liquide qu'il faut déplacer, car ce volume interne d'air correspond à un volume de liquide que l'on pousse "pour rien" (juste pour comprimer l'air, avant que la pression soit suffisante pour déplacer la butée d'embrayage)
Pour purger ce bout de tube, je vois deux façons:
1. bloquer la pédale en position débrayée et lentement dévisser le capteur et attendre que du liquide coule (après avoir placé des chiffons tout autour pour protéger), ou,
2. tenter la méthode proposée au-dessus, c'est à dire mettre le circuit sous pression pendant une nuit pour diluer l'air dans le liquide, puis purger rapidement l'ensemble le matin.
Bien évidemment, la solution correcte serait de modifier le circuit, afin de placer le capteur horizontalement sur une branche horizontale du circuit, et la sortie vers le récepteur vers le haut (mais il faudra alors refaire une conduite)
Modifié en dernier par kebir31 le 14/05/2023 13:31, modifié 11 fois.
This manual should be used to find out where the water is leaking from. Due to the nature of the design and construction of the Defender this can prove to fairly difficult. The fact that water moves in seemingly random directions also adds to the problem
Re: Problème embrayage TD5
Conclusion: @Mathieu: je te conseille vivement de tenter de purger le capteur, avant de tout démonter

This manual should be used to find out where the water is leaking from. Due to the nature of the design and construction of the Defender this can prove to fairly difficult. The fact that water moves in seemingly random directions also adds to the problem
-
Mathieu Kpl
- Habitué
- Messages : 18
- Enregistré le : 29/11/2022 22:45
Re: Problème embrayage TD5
Je te remercie @kebir31 d'avoir pris du temps pour toutes ces explications et recherche qui vont beaucoup m'aiderkebir31 a écrit : 13/05/2023 16:05 Conclusion: @Mathieu: je te conseille vivement de tenter de purger le capteur, avant de tout démonter![]()
![]()
![]()
-
Mathieu Kpl
- Habitué
- Messages : 18
- Enregistré le : 29/11/2022 22:45
Re: Problème embrayage TD5
Bonjour à tous,
J'ai pas mal été occupé ces dernières semaines donc pas la possibilité d'avancer sur mon problème ! Mais le week-end dernier j'ai effectué le dépose de BV et BT et je suis enfin tombé sur le fameux problème ... Le disque d'embrayage était bien à l'envers ! L'écriture sur le disque "GeardBox" était toute petite et est donc passer inaperçu. Mais après ce petit calvaire tout est régler et fonctionne comme une horloge. Enfin pour le moment
!
Merci a tout le monde d'avoir pris du temps pour m'aider !
Cordialement
Mathieu
J'ai pas mal été occupé ces dernières semaines donc pas la possibilité d'avancer sur mon problème ! Mais le week-end dernier j'ai effectué le dépose de BV et BT et je suis enfin tombé sur le fameux problème ... Le disque d'embrayage était bien à l'envers ! L'écriture sur le disque "GeardBox" était toute petite et est donc passer inaperçu. Mais après ce petit calvaire tout est régler et fonctionne comme une horloge. Enfin pour le moment
Merci a tout le monde d'avoir pris du temps pour m'aider !
Cordialement
Mathieu
Re: Problème embrayage TD5
(*) pas cool dans le sens que tu aies eu besoin de re-déposer les boites, mais cool dans le sens que tu ne les as pas re- déposées pour rien
This manual should be used to find out where the water is leaking from. Due to the nature of the design and construction of the Defender this can prove to fairly difficult. The fact that water moves in seemingly random directions also adds to the problem
Re: Problème embrayage TD5
Merci du retour, comme quoi petite cause mais grands effets
Tu ne te feras plus prendre. content pour toi que tu puisses enfin réutiliser ton cube 
Re: Problème embrayage TD5
Chouette!
La bonne nouvelle c'est que cela fonctionne bien et que rien n'a été endommagé, ce qui est bon à retenir.
La bonne nouvelle c'est que cela fonctionne bien et que rien n'a été endommagé, ce qui est bon à retenir.