Gros pb moteur sur Disco 300Tdi 1997
Règles du forum
En naviguant sur le site http://www.landroverfaq.com vous reconnaissez avoir lu ses Conditions d’Utilisation, vous déclarez les comprendre et vous acceptez d’y être lié de manière inconditionnelle. Si tel n'est pas le cas, merci de quitter immédiatement ce site.
Vous pouvez joindre autant d'images que nécessaire à vos messages A LA CONDITION EXPRESSE d'utiliser l'hébergement fourni par le site.
L'administrateur effacera systématiquement tout message contenant des photos hébergées chez Imageschack, Casimage, Wistiti ou tout autre hébergeur tiers sans sommation ni justification.
En naviguant sur le site http://www.landroverfaq.com vous reconnaissez avoir lu ses Conditions d’Utilisation, vous déclarez les comprendre et vous acceptez d’y être lié de manière inconditionnelle. Si tel n'est pas le cas, merci de quitter immédiatement ce site.
Vous pouvez joindre autant d'images que nécessaire à vos messages A LA CONDITION EXPRESSE d'utiliser l'hébergement fourni par le site.
L'administrateur effacera systématiquement tout message contenant des photos hébergées chez Imageschack, Casimage, Wistiti ou tout autre hébergeur tiers sans sommation ni justification.
-
sixfrancs 971
- Messages : 4
- Enregistré le : 28/05/2010 14:57
- Localisation : POINTE-NOIRE en GUADELOUPE (ANTILLES FRANCAISES)
Gros pb moteur sur Disco 300Tdi 1997
Bonjour,
je suis "EN PROBLEM" comme on dit aux Antilles
Je reside en Guadeloupe et proprietaire depuis 10 mois d'un Disco de 1997 300 tdi "Aigle" qui totalise 200000 KM et je n'ai que des galeres et la derniere et la plus grosse....
çà a commencé par l'arrachement d'un goujon (celui du milieu) qui tient la rampe des culbuteurs, et par consequence la casse de cette derniere
Mon mecano a refait le pas de visse et malgrès cela il a fonctionné une semaine et recasse de la tige de cubuteurs
Pour trouver l'origine du probleme, mon mecano qui avait refait la distribution a tout re-verifié car il pensé a un decallage de celle-ci
Distri OK
re-essai et 3 KM plus loin.............casse de la tige de culbuteurs
Le probleme c'est que pour verifier les causes probables (soupapes, poussoirs, arbre a cames et vilebrequin) il a fallu qu'il demonte entierement mon moteur et resultat des courses.....tout est normal
Du coup mon mecano (qui n'a jamais vu çà....alors qu'il est specialiste Land-Rover)ne veux pas me remonter mon moteur sans trouver les VRAIS causes et me propose de changer de Moteur qui bien sur depasse largement mon budget.
si quelqu'un a deja eu ce probleme sur un 300 TDI, merci de m'aider
Si vous avez des pistes.......je suis preneur
je suis "EN PROBLEM" comme on dit aux Antilles
Je reside en Guadeloupe et proprietaire depuis 10 mois d'un Disco de 1997 300 tdi "Aigle" qui totalise 200000 KM et je n'ai que des galeres et la derniere et la plus grosse....
çà a commencé par l'arrachement d'un goujon (celui du milieu) qui tient la rampe des culbuteurs, et par consequence la casse de cette derniere
Mon mecano a refait le pas de visse et malgrès cela il a fonctionné une semaine et recasse de la tige de cubuteurs
Pour trouver l'origine du probleme, mon mecano qui avait refait la distribution a tout re-verifié car il pensé a un decallage de celle-ci
Distri OK
re-essai et 3 KM plus loin.............casse de la tige de culbuteurs
Le probleme c'est que pour verifier les causes probables (soupapes, poussoirs, arbre a cames et vilebrequin) il a fallu qu'il demonte entierement mon moteur et resultat des courses.....tout est normal
Du coup mon mecano (qui n'a jamais vu çà....alors qu'il est specialiste Land-Rover)ne veux pas me remonter mon moteur sans trouver les VRAIS causes et me propose de changer de Moteur qui bien sur depasse largement mon budget.
si quelqu'un a deja eu ce probleme sur un 300 TDI, merci de m'aider
Si vous avez des pistes.......je suis preneur
- LØLØ
- Modérateur
- Messages : 6210
- Enregistré le : 30/07/2006 15:41
- Localisation : guainville (28 )
- Contact :
Re: Gros pb moteur sur Disco 300Tdi 1997
Salut, peux tu nous d'écrire des symptômes éventuels avant le problème. Fumée? Bruit? Puissance? Consommation? Ombien de temps après la distribution?...
Enfin bref des indices qui peuvent te paraitre anodins, mais qui peuvent constituer une aide pour affiner un diagnostique ou des questions supplémentaires.
Le mécano a pris une sage décision, mais de la a vouloir de refourguer un moteur
.
A+
Enfin bref des indices qui peuvent te paraitre anodins, mais qui peuvent constituer une aide pour affiner un diagnostique ou des questions supplémentaires.
Le mécano a pris une sage décision, mais de la a vouloir de refourguer un moteur
A+
2 solutions: la bonne et l'Anglaise
LUCAS: Il n'y a pas de contact où il le faut et il y en a un où il ne faut pas
On ne peut aller loin en amitié, si on n'est pas disposé à se pardonner les uns aux autres les petits défauts.
www.eternal-vehicles.fr
LUCAS: Il n'y a pas de contact où il le faut et il y en a un où il ne faut pas
On ne peut aller loin en amitié, si on n'est pas disposé à se pardonner les uns aux autres les petits défauts.
www.eternal-vehicles.fr
-
sixfrancs 971
- Messages : 4
- Enregistré le : 28/05/2010 14:57
- Localisation : POINTE-NOIRE en GUADELOUPE (ANTILLES FRANCAISES)
Re: Gros pb moteur sur Disco 300Tdi 1997
La distri a été faite il y a environ 5000 km et a été re-revérifiée et tout OK
Pour les symptômes rien de "spécial", il fonctionnait très bien et tournait comme une horloge
la dernière fois ou le mécano a changé la tige de culbuteur il a fait tourné le disco à l'arrêt pendant une heure.....impeccable
il est parti et au bout de 2 km....re-claquement et re casse de la tige de culbu
Un copain m'a dit avoir deja vu ce probleme (sur d'autre voiture) a cause d'une clavette(usée) entre arbre a cames et poulie ou entre vilebrequin et poulie et là ce n'est pas le cas !
ensuite mon mecano a deja vu un vilebrequin cassé en diagonale, ce qui faisait qu'au ralenti tout "baigné" et que dès que il y avait de plus grosse contraintes il bougeait et décalé la distri
Tout çà a été vérifié
si vous avez d'autres idées
Pour les symptômes rien de "spécial", il fonctionnait très bien et tournait comme une horloge
la dernière fois ou le mécano a changé la tige de culbuteur il a fait tourné le disco à l'arrêt pendant une heure.....impeccable
il est parti et au bout de 2 km....re-claquement et re casse de la tige de culbu
Un copain m'a dit avoir deja vu ce probleme (sur d'autre voiture) a cause d'une clavette(usée) entre arbre a cames et poulie ou entre vilebrequin et poulie et là ce n'est pas le cas !
ensuite mon mecano a deja vu un vilebrequin cassé en diagonale, ce qui faisait qu'au ralenti tout "baigné" et que dès que il y avait de plus grosse contraintes il bougeait et décalé la distri
Tout çà a été vérifié
si vous avez d'autres idées
- LØLØ
- Modérateur
- Messages : 6210
- Enregistré le : 30/07/2006 15:41
- Localisation : guainville (28 )
- Contact :
Re: Gros pb moteur sur Disco 300Tdi 1997
Salut, c'est toujours la même tige qui casse? Admission ou échappement? La rampe de culbuteur et culbuteur OK?
A+
A+
2 solutions: la bonne et l'Anglaise
LUCAS: Il n'y a pas de contact où il le faut et il y en a un où il ne faut pas
On ne peut aller loin en amitié, si on n'est pas disposé à se pardonner les uns aux autres les petits défauts.
www.eternal-vehicles.fr
LUCAS: Il n'y a pas de contact où il le faut et il y en a un où il ne faut pas
On ne peut aller loin en amitié, si on n'est pas disposé à se pardonner les uns aux autres les petits défauts.
www.eternal-vehicles.fr
- The Pater
- Modérateur
- Messages : 13982
- Enregistré le : 25/08/2004 8:19
- Localisation : 06°27'46"E 45°50'29"N
Re: Gros pb moteur sur Disco 300Tdi 1997
Tige cassée ?
Vous voulez dire tige tordue ?
Je n'ai jamais vu de tige se cassée....... à moins que l'on ne parle pas de la même chose.
Sixfrancs 971,
Peux tu faire des photos des pièces abîmées ?
A+
Vous voulez dire tige tordue ?
Je n'ai jamais vu de tige se cassée....... à moins que l'on ne parle pas de la même chose.
Sixfrancs 971,
Peux tu faire des photos des pièces abîmées ?
A+
Ingénieur :
Personne faisant un travail divinatoire de précision basé sur des informations peu fiables données par des personnes peu qualifiées, voire ignorantes.
=>, magicien, devin, sorcier
Personne faisant un travail divinatoire de précision basé sur des informations peu fiables données par des personnes peu qualifiées, voire ignorantes.
=>, magicien, devin, sorcier
-
sixfrancs 971
- Messages : 4
- Enregistré le : 28/05/2010 14:57
- Localisation : POINTE-NOIRE en GUADELOUPE (ANTILLES FRANCAISES)
Re: Gros pb moteur sur Disco 300Tdi 1997
ce n'est pas ma pièce car le disco est chez le mécano mais regardez la photo jointe
- The Pater
- Modérateur
- Messages : 13982
- Enregistré le : 25/08/2004 8:19
- Localisation : 06°27'46"E 45°50'29"N
Re: Gros pb moteur sur Disco 300Tdi 1997
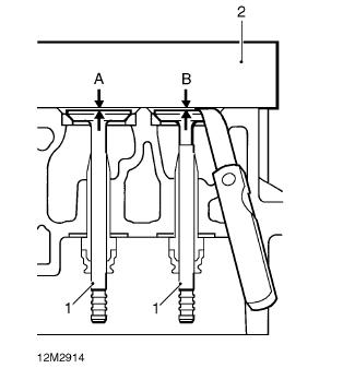
Ah, je dois comprendre que ce que tu appelles tige est en fait l'axe sur lequel les culbuteurs oscillent.sixfrancs 971 a écrit :ce n'est pas ma pièce car le disco est chez le mécano mais regardez la photo jointe
Dans le langage approprié, les tiges sont des "tiges" de commande entre l'arbre à cames et les culbuteurs. Il y a 8 tiges sur un 300 Tdi.
Ce qui est surprenant, c'est qu'en général, sur un 300 Tdi, quand il y a blocage de la distribution, lors d'une casse courroie par exemple, les tiges se tordent et l'axe des culbuteurs reste intact. Les ruptures d'axe de culbuteurs sont plutôt rares.
Tu confirmes bien avoir cassé deux axes de culbuteurs (item 6 ci-dessous), n'est-ce pas ?
A+
Ingénieur :
Personne faisant un travail divinatoire de précision basé sur des informations peu fiables données par des personnes peu qualifiées, voire ignorantes.
=>, magicien, devin, sorcier
Personne faisant un travail divinatoire de précision basé sur des informations peu fiables données par des personnes peu qualifiées, voire ignorantes.
=>, magicien, devin, sorcier
-
sixfrancs 971
- Messages : 4
- Enregistré le : 28/05/2010 14:57
- Localisation : POINTE-NOIRE en GUADELOUPE (ANTILLES FRANCAISES)
Re: Gros pb moteur sur Disco 300Tdi 1997
oui, je confirme.....
Dernière nouvelle :
mon mécano en a parlé avec un collègue qui lui a dit connaître le problème et que cela devait venir de la culasse qui avait ete trop surfacé ou joint de culasse trop fin et comme nous avons refait la distribution a neuf (tip top) au moins un piston tapé et a entrainé la casse de cet axe !!!
Question : Cela vous semble t-il plausible ?
Merci de vos commentaires
Dernière nouvelle :
mon mécano en a parlé avec un collègue qui lui a dit connaître le problème et que cela devait venir de la culasse qui avait ete trop surfacé ou joint de culasse trop fin et comme nous avons refait la distribution a neuf (tip top) au moins un piston tapé et a entrainé la casse de cet axe !!!
Question : Cela vous semble t-il plausible ?
Merci de vos commentaires
- LØLØ
- Modérateur
- Messages : 6210
- Enregistré le : 30/07/2006 15:41
- Localisation : guainville (28 )
- Contact :
Re: Gros pb moteur sur Disco 300Tdi 1997
Salut, j'ai déjà vu des tiges tordues, des culbuteurs cassés, suite a une distribution décalé ou courroie cassé mais jamais d'axe cassé.sixfrancs 971 a écrit :oui, je confirme.....
Dernière nouvelle :
mon mécano en a parlé avec un collègue qui lui a dit connaître le problème et que cela devait venir de la culasse qui avait ete trop surfacé ou joint de culasse trop fin et comme nous avons refait la distribution a neuf (tip top) au moins un piston tapé et a entrainé la casse de cet axe !!!
Question : Cela vous semble t-il plausible ?
Merci de vos commentaires
Mais plausible oui, mais il y aurait plus de dégât autour a mon avis pour en arriver là. Regarde bien les autres pièces.
A+
2 solutions: la bonne et l'Anglaise
LUCAS: Il n'y a pas de contact où il le faut et il y en a un où il ne faut pas
On ne peut aller loin en amitié, si on n'est pas disposé à se pardonner les uns aux autres les petits défauts.
www.eternal-vehicles.fr
LUCAS: Il n'y a pas de contact où il le faut et il y en a un où il ne faut pas
On ne peut aller loin en amitié, si on n'est pas disposé à se pardonner les uns aux autres les petits défauts.
www.eternal-vehicles.fr
- The Pater
- Modérateur
- Messages : 13982
- Enregistré le : 25/08/2004 8:19
- Localisation : 06°27'46"E 45°50'29"N
Re: Gros pb moteur sur Disco 300Tdi 1997
La culasse du 300 Tdi ne doit pas être rectifiée.sixfrancs 971 a écrit : mon mécano en a parlé avec un collègue qui lui a dit connaître le problème et que cela devait venir de la culasse qui avait ete trop surfacé ou joint de culasse trop fin et comme nous avons refait la distribution a neuf (tip top) au moins un piston tapé et a entrainé la casse de cet axe !!!
Question : Cela vous semble t-il plausible ?
La distance entre soupapes et plan de joint est donné et tolérancé et se vérifie de la manière suivante :
Item 2 : c'est une régle
Soupapes échappement : 0.86 à 1.14 mm
Soupapes admission : 0.81 à 1.09 mm
Lors d'un changement de joint de culasse, il fallait mettre la même épaisseur que celui d'origine. En cas de doutes, il faut mesurer la distance entre la tête des pistons (au PMH) et la plan de joint. La distance donnera par équivalence une épaisseur de joint. Ce point, et la procédure, à été abordé sur ce site plusieurs fois.
Avez vous bien vérifié que les tiges de culbuteurs sont bien droites ? Vu la casse de l'axe, des tiges doivent êtres tordues.
Les efforts pour casser l'axe sont importants. Qu'en est-il des soupapes et pistons ? As t-on vérifié qu'aucune soupape n'a souffert et est tordue ?
Des ressorts de rappel de soupape fatigués ou en mauvais état peuvent poser des problèmes de rappel de soupape. A vérifier.
A+
Ingénieur :
Personne faisant un travail divinatoire de précision basé sur des informations peu fiables données par des personnes peu qualifiées, voire ignorantes.
=>, magicien, devin, sorcier
Personne faisant un travail divinatoire de précision basé sur des informations peu fiables données par des personnes peu qualifiées, voire ignorantes.
=>, magicien, devin, sorcier
- nanard833
- Habitué
- Messages : 3989
- Enregistré le : 10/10/2009 20:18
- Localisation : disco 300TDI 431000 bornes
Re: Gros pb moteur sur Disco 300Tdi 1997
Salut,
La question que je me pose c'est comment un effort de cisaillement aussi important a pu venir à bout d'un axe en acier de ce Ø tout en étant transmis par des éléments aussi fragiles que les tiges de culbus entre autres.
Un piston qui bloque la descente d'une soupape alors que l'AAC continue à la soulever et bien je ne crois pas que ce soit l'axe des culbus qui cède, mais plutôt les tiges de culbus qui se flambent, AMHA le problème est ailleurs .
J'ai déjà vu un rectifieur sérieux et expérimenté refuser l'opération de surfaçage de culasses au motif que cela avait pour effet de libérer les tensions interne de la culasse et qu'au moment de la montée en T°, cette dernière se déformait et pouvait entrainer des casses mécanique (ACT par exemple) et là, je vois mieux une possible comparaison avec un axe de culbus, de même qu'un ordre de grandeur conforme à l'effort nécessaire au cisaillement d'un axe de cette taille.
A+
La question que je me pose c'est comment un effort de cisaillement aussi important a pu venir à bout d'un axe en acier de ce Ø tout en étant transmis par des éléments aussi fragiles que les tiges de culbus entre autres.
Un piston qui bloque la descente d'une soupape alors que l'AAC continue à la soulever et bien je ne crois pas que ce soit l'axe des culbus qui cède, mais plutôt les tiges de culbus qui se flambent, AMHA le problème est ailleurs .
J'ai déjà vu un rectifieur sérieux et expérimenté refuser l'opération de surfaçage de culasses au motif que cela avait pour effet de libérer les tensions interne de la culasse et qu'au moment de la montée en T°, cette dernière se déformait et pouvait entrainer des casses mécanique (ACT par exemple) et là, je vois mieux une possible comparaison avec un axe de culbus, de même qu'un ordre de grandeur conforme à l'effort nécessaire au cisaillement d'un axe de cette taille.
A+
Gratter la botte ne soulage guère quand ça démange à l'intérieur (proverbe chinois)
Re: Gros pb moteur sur Disco 300Tdi 1997
Bonjour,
Dans le premier message, il est dit que la voiture collectionne les pepins.
Est il possible d'en donner une liste?
Ca permetrai peut etre, en croisant differents syptomes, de trouver une cause à la rupture qui nous preocupe?
Dans le premier message, il est dit que la voiture collectionne les pepins.
Est il possible d'en donner une liste?
Ca permetrai peut etre, en croisant differents syptomes, de trouver une cause à la rupture qui nous preocupe?
Gemini Powered.
Re: Gros pb moteur sur Disco 300Tdi 1997
Bonjour ,
J'ai rencontré le même souci il y a tout juste un an.
L'axe de culbu a cassé car le taraudage qui tient la piece 7 grace à la vis 8 était HS.
Il semble que le dernier qui ait touché la culasse avant que je n'achète le véhicule ait serré cette visse bien trop fort.
Cela a quand même tenu 80000km...
J'ai rencontré le même souci il y a tout juste un an.
L'axe de culbu a cassé car le taraudage qui tient la piece 7 grace à la vis 8 était HS.
Il semble que le dernier qui ait touché la culasse avant que je n'achète le véhicule ait serré cette visse bien trop fort.
Cela a quand même tenu 80000km...
Re: Gros pb moteur sur Disco 300Tdi 1997
[quote="Reno80"]Bonjour ,
J'ai rencontré le même souci il y a tout juste un an.
L'axe de culbu a cassé car le taraudage qui tient la piece 7 grace à la vis 8 était HS.
Il semble que le dernier qui ait touché la culasse avant que je n'achète le véhicule ait serré cette visse bien trop fort.
Cela a quand même tenu 80000km...[/quote]idem pour moi .le bon bourrin de précédent propio avait foiré 2 filetages de pontet d'arbre de culbuteur.3 coups de filet rapporté et c'est reparti.le seul hic c'est qu'il faut percer la baie de pare brise (le haut du tablier) pile poil en face du dernier goujon si tu veux travailler droit.une pastille en caoutcchouc apres pour reboucher et meme le reglage culbu devient un plaisir. sinon tu peux aussi sortir le moteur
J'ai rencontré le même souci il y a tout juste un an.
L'axe de culbu a cassé car le taraudage qui tient la piece 7 grace à la vis 8 était HS.
Il semble que le dernier qui ait touché la culasse avant que je n'achète le véhicule ait serré cette visse bien trop fort.
Cela a quand même tenu 80000km...[/quote]idem pour moi .le bon bourrin de précédent propio avait foiré 2 filetages de pontet d'arbre de culbuteur.3 coups de filet rapporté et c'est reparti.le seul hic c'est qu'il faut percer la baie de pare brise (le haut du tablier) pile poil en face du dernier goujon si tu veux travailler droit.une pastille en caoutcchouc apres pour reboucher et meme le reglage culbu devient un plaisir. sinon tu peux aussi sortir le moteur
- The Pater
- Modérateur
- Messages : 13982
- Enregistré le : 25/08/2004 8:19
- Localisation : 06°27'46"E 45°50'29"N
Re: Gros pb moteur sur Disco 300Tdi 1997
Concernant cette affaire, AMHA, je crois de plus en plus à un problème de palier support d'axe de culbuteurs.
Mais c'est quand même étonnant que cela casse aussi vite.
A+
Mais c'est quand même étonnant que cela casse aussi vite.
A+
Ingénieur :
Personne faisant un travail divinatoire de précision basé sur des informations peu fiables données par des personnes peu qualifiées, voire ignorantes.
=>, magicien, devin, sorcier
Personne faisant un travail divinatoire de précision basé sur des informations peu fiables données par des personnes peu qualifiées, voire ignorantes.
=>, magicien, devin, sorcier
Re: Gros pb moteur sur Disco 300Tdi 1997
Pour mon cas c'était vraiment un serrage demesuré des paliers donc arrachement des filets dans la culasse.constaté et conclus par un expert auto puisque je me suis retourné contre l'indelicat vendeur qui en + m'avais refait le joint de culasse à "L'HERMETIC"...
Je n'ai changé que l'arbre de culbu et 2 tiges + un joint de culasse et une rectif le tout remonté aux p'tits oignons et c'est reparti nickel
Je n'ai changé que l'arbre de culbu et 2 tiges + un joint de culasse et une rectif le tout remonté aux p'tits oignons et c'est reparti nickel
- The Pater
- Modérateur
- Messages : 13982
- Enregistré le : 25/08/2004 8:19
- Localisation : 06°27'46"E 45°50'29"N
Re: Gros pb moteur sur Disco 300Tdi 1997
Peux tu être plus précis ?fredf59 a écrit :........... et une rectif ........
A+
Ingénieur :
Personne faisant un travail divinatoire de précision basé sur des informations peu fiables données par des personnes peu qualifiées, voire ignorantes.
=>, magicien, devin, sorcier
Personne faisant un travail divinatoire de précision basé sur des informations peu fiables données par des personnes peu qualifiées, voire ignorantes.
=>, magicien, devin, sorcier
Re: Gros pb moteur sur Disco 300Tdi 1997
Et bien une rectification de culasse quoi.en effet quelques kms aprés la casse d'arbre de culbuteur ,et bien c'est le joint de culasse qui a laché.rien de lié entre les 2 avaries hormis le satané pseudo mécanicien...
Je sais que c'est proscrit sur la RTA mais un surfaçage d'1/10 puis epreuve avec changement des boulons un nouveau joint de culasse et le bébé est reparti .
Je sais que c'est proscrit sur la RTA mais un surfaçage d'1/10 puis epreuve avec changement des boulons un nouveau joint de culasse et le bébé est reparti .
Re: Gros pb moteur sur Disco 300Tdi 1997
Bonjour les landophiles,
Je poste ici pour signaler que moi aussi je viens de trouver une rampe de culbateurs cassé, lá oú passe le vis du palier 2 (vers l''avant).
C'est un Def 200tdi avec +-250,000km; derniere changement de distribution, j'ose pas avoué, mais disons courant cette millenaire. En fait, aucune intervention de maintenance preventif a été effectué recement.
J'ai constaté dernierement quelques signes que je croyait classique pour un joint de culasse defaillant (leger pression dans ldr et sous le cache culb, suintements de huile... )
Donc, je le demarre pour le deplacer a l'abri pour travailler est ca tourne pas du tout rond (sur 3 pattes?), et, dés que j'enleve le couvercle huile, un bruit tres prononcé de train a vapeur que arrive dans le station...
Je deculasse - effectivement le joint est mort a l'arriere, et, plus bizarre, le rampe est cassé aussi...
Maintenent, je pense faire epreuvé le culasse, taré les injecteurs, et reprendre la route pour 10 ans de plus... mais ca m'interpelle quand meme
Cheers
Je poste ici pour signaler que moi aussi je viens de trouver une rampe de culbateurs cassé, lá oú passe le vis du palier 2 (vers l''avant).
C'est un Def 200tdi avec +-250,000km; derniere changement de distribution, j'ose pas avoué, mais disons courant cette millenaire. En fait, aucune intervention de maintenance preventif a été effectué recement.
J'ai constaté dernierement quelques signes que je croyait classique pour un joint de culasse defaillant (leger pression dans ldr et sous le cache culb, suintements de huile... )
Donc, je le demarre pour le deplacer a l'abri pour travailler est ca tourne pas du tout rond (sur 3 pattes?), et, dés que j'enleve le couvercle huile, un bruit tres prononcé de train a vapeur que arrive dans le station...
Je deculasse - effectivement le joint est mort a l'arriere, et, plus bizarre, le rampe est cassé aussi...
Maintenent, je pense faire epreuvé le culasse, taré les injecteurs, et reprendre la route pour 10 ans de plus... mais ca m'interpelle quand meme
Cheers
Re: Gros pb moteur sur Disco 300Tdi 1997
juste une note rapide pour dire que l'arrachage des filets au niveau de la fixation de l'axe des culbuteurs est visiblement un problème récurrent sur les 300tdi, en cas de remontage de culasse en oubliant de dé-serrer les vis de réglage des culbuteurs au préalable. Je connais plusieurs personnes à qui c'est arrivé. C'est d'autant plus bête qu'il faut de toutes façons reprendre le jeu des culbuteurs, alors ... autant les dé-serrer AVANT déculassage.
J'ignore si on a eu ici une fragilisation suite à un antérieur de déculassage ... mais la possibilité existe.
J'ignore si on a eu ici une fragilisation suite à un antérieur de déculassage ... mais la possibilité existe.
This manual should be used to find out where the water is leaking from. Due to the nature of the design and construction of the Defender this can prove to fairly difficult. The fact that water moves in seemingly random directions also adds to the problem