je recherche le shema électrique du land 110 200 Tdi de 1994 merci
schema électrique land 110 200 Tdi de 1994
Règles du forum
En naviguant sur le site http://www.landroverfaq.com vous reconnaissez avoir lu ses Conditions d’Utilisation, vous déclarez les comprendre et vous acceptez d’y être lié de manière inconditionnelle. Si tel n'est pas le cas, merci de quitter immédiatement ce site.
Vous pouvez joindre autant d'images que nécessaire à vos messages A LA CONDITION EXPRESSE d'utiliser l'hébergement fourni par le site.
L'administrateur effacera systématiquement tout message contenant des photos hébergées chez Imageschack, Casimage, Wistiti ou tout autre hébergeur tiers sans sommation ni justification.
En naviguant sur le site http://www.landroverfaq.com vous reconnaissez avoir lu ses Conditions d’Utilisation, vous déclarez les comprendre et vous acceptez d’y être lié de manière inconditionnelle. Si tel n'est pas le cas, merci de quitter immédiatement ce site.
Vous pouvez joindre autant d'images que nécessaire à vos messages A LA CONDITION EXPRESSE d'utiliser l'hébergement fourni par le site.
L'administrateur effacera systématiquement tout message contenant des photos hébergées chez Imageschack, Casimage, Wistiti ou tout autre hébergeur tiers sans sommation ni justification.
schema électrique land 110 200 Tdi de 1994
bojour à tous
je recherche le shema électrique du land 110 200 Tdi de 1994 merci
je recherche le shema électrique du land 110 200 Tdi de 1994 merci
Lehenean Barka, Bigarrenean Urka
La première fois pardonne, la seconde étrangle
La première fois pardonne, la seconde étrangle
- LØLØ
- Modérateur
- Messages : 6210
- Enregistré le : 30/07/2006 15:41
- Localisation : guainville (28 )
- Contact :
Re: shema électrique land 110 200 Tdi de 1994
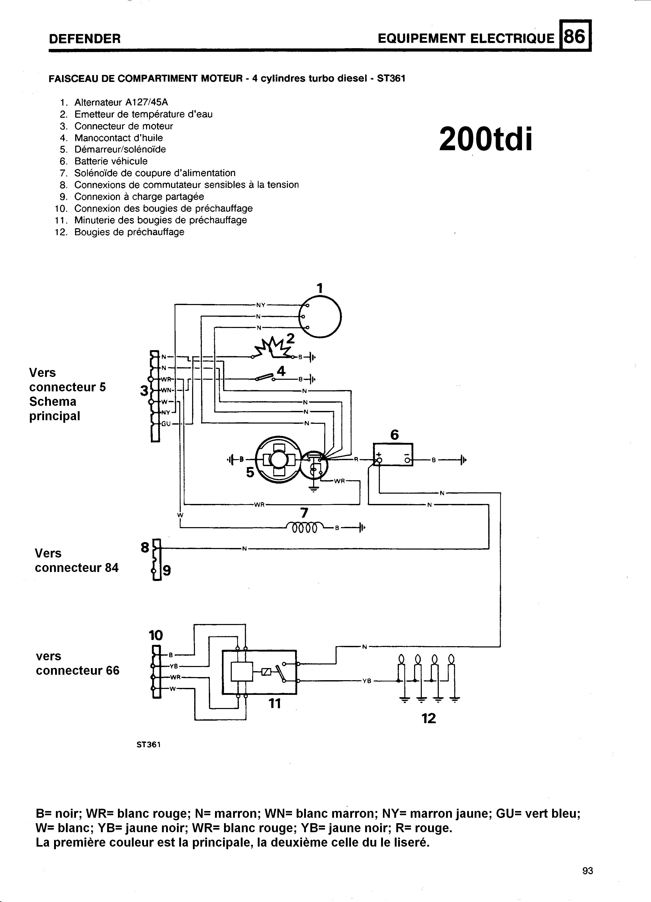
Salut, les schémas du 200, ne sont pas courant, car ils n'ont jamais été numérisés, contrairement au 300. Après de longue recherches, je n'ai malheureusement pas retrouvé le grand schéma qui tient sur une feuille. Je l'ai tellement utilisé en photocopiant des extraits ou pour le distribuer, qu'il a disparu du gros classeur dont-il était originaire
. Je n'ai retrouvé que la partie compartiment moteur:
Sinon en jonglant avec les schémas du TD et du 300 tu dois pouvoir t'y retrouver, ils sont très proche, les couleurs des fils sont les mêmes pour toutes les fonctions communes, avant et après le 200. Les principes de câblage sont identiques. Ils y a quelques options en plus sur le 200 par rapport au TD, le relais de préchauffage, les essuie-glace intermittent, quelques relais mais c'est tout en gros. Ces options tu les retrouve sur les schémas du 300, que tu peux aisément trouver sur le net. ( tape: RAVE sur google)
Ce qui change le plus entre le 200 et 300, c'est la nature et la forme des connecteurs.
2) Connecteur 300Tdi: 3) Le même sur un 200tdi 4) l'exemple sur le schéma du faisceau moteur du 200tdi: 5) Ce qui donne pour le connecteur B: 6) La correspondance sur le schéma, tu peux remarquer les couleurs qui correspondent et les parties mal femelle qui apparaissent symboliquement sur le schéma. La numérotation est personnelle, elle permet juste de retrouver la correspondance entre le connecteur, la fonction et le schéma. 7) Pour le préchauffage, même principe: 8 ) Regarde bien, ce que tu ne trouve pas sur les schémas du 200tdi, ce sont les sections et les longueurs de câbles, que tu as sur les schémas du 300. Bon et puis ils tiennent tous sur 5 feuilles avec les options, alors que ceux du 300 au moins une ramette de papier mini, pour les avoir tous tiré avec le détails de chaque connecteur et tout et tout, on dirait presque que c'est un abruti comme moi qui les a rédigé
.
9) Le même schéma pour le 300, avec bien sur, un tas de bazars inutiles en plus du genre la centrale EGR, les coupures d'alarme sur le démarreur et la masse du relais principale etc quelques trucs en moins: sonde de température, électrovanne, capteur de pression... Tout ce que les gars land s'évertuent à supprimer
. Les numéros en rouges sont reportés du schéma du 200 sur celui du 300. Tu verras, avec l'habitude on fini par trouver les analogies en s'aidant des couleurs et des noms.
A+
NB: peux tu nous rajouter un c a ton titre, schéma, car sinon les gens en utilisant le moteur de recherche ne retomberons pas sur le thème.
Merci
Ce qui change le plus entre le 200 et 300, c'est la nature et la forme des connecteurs.
2) Connecteur 300Tdi: 3) Le même sur un 200tdi 4) l'exemple sur le schéma du faisceau moteur du 200tdi: 5) Ce qui donne pour le connecteur B: 6) La correspondance sur le schéma, tu peux remarquer les couleurs qui correspondent et les parties mal femelle qui apparaissent symboliquement sur le schéma. La numérotation est personnelle, elle permet juste de retrouver la correspondance entre le connecteur, la fonction et le schéma. 7) Pour le préchauffage, même principe: 8 ) Regarde bien, ce que tu ne trouve pas sur les schémas du 200tdi, ce sont les sections et les longueurs de câbles, que tu as sur les schémas du 300. Bon et puis ils tiennent tous sur 5 feuilles avec les options, alors que ceux du 300 au moins une ramette de papier mini, pour les avoir tous tiré avec le détails de chaque connecteur et tout et tout, on dirait presque que c'est un abruti comme moi qui les a rédigé
NB: peux tu nous rajouter un c a ton titre, schéma, car sinon les gens en utilisant le moteur de recherche ne retomberons pas sur le thème.
Merci
2 solutions: la bonne et l'Anglaise
LUCAS: Il n'y a pas de contact où il le faut et il y en a un où il ne faut pas
On ne peut aller loin en amitié, si on n'est pas disposé à se pardonner les uns aux autres les petits défauts.
www.eternal-vehicles.fr
LUCAS: Il n'y a pas de contact où il le faut et il y en a un où il ne faut pas
On ne peut aller loin en amitié, si on n'est pas disposé à se pardonner les uns aux autres les petits défauts.
www.eternal-vehicles.fr
Re: shema électrique land 110 200 Tdi de 1994
merci pour les shémas
Cordialement
Leheren
Cordialement
Leheren
Lehenean Barka, Bigarrenean Urka
La première fois pardonne, la seconde étrangle
La première fois pardonne, la seconde étrangle