Disques de freins AR sur un Td5

Entretenir son système de freinage, installer des freins à disque...

Modérateurs : LØLØ, The Pater

Règles du forum
En naviguant sur le site http://www.landroverfaq.com vous reconnaissez avoir lu ses Conditions d’Utilisation, vous déclarez les comprendre et vous acceptez d’y être lié de manière inconditionnelle. Si tel n'est pas le cas, merci de quitter immédiatement ce site.

Vous pouvez joindre autant d'images que nécessaire à vos messages A LA CONDITION EXPRESSE d'utiliser l'hébergement fourni par le site.

L'administrateur effacera systématiquement tout message contenant des photos hébergées chez Imageschack, Casimage, Wistiti ou tout autre hébergeur tiers sans sommation ni justification.
Répondre
anduril
Habitué
Messages : 28
Enregistré le : 05/11/2007 23:00
Localisation : 13

Disques de freins AR sur un Td5

Message non lu par anduril »

Hello
je possède un def110 td5 de 2005 ! avec environs 140000 kms
cette semaine j 'ai change mes disques de freins AR!
j'en ai profite pour changer les roulements ! je possède le montage avec entretoise ! j ai donc remonter le moyeu avec des roulements neufs et de la graisse haute performance NLGI2 pour le montage j ai suivi le manuel LR cad j'ai serre l"écrou a 21 Mdan, remonte les arbres et mains meneuses, tous en vérifiant que je n avais pas de jeu aux roues ! ce matin je suis parti l'essayer pendant une quinzaine de kilomètres ! au retour j ai pose les mains sur les moyeux AR et il m’ont semble très chaud, beaucoup plus qu'a l'avant ! :(
pensez vous que j ai trop serres les roulements ?
Avatar du membre
torero
Habitué
Messages : 2521
Enregistré le : 26/07/2004 14:49
Localisation : Poulx 30

Re: Disques de freins AR sur un Td5

Message non lu par torero »

Les entretoises sont calibrées en fonction du jeu que tu as avec les roulements. Si tu as changé les roulements, il faut les monter avec l'entretoise adéquate .
" Quand le sage montre la lune; l'idiot regarde son doigt "
anduril
Habitué
Messages : 28
Enregistré le : 05/11/2007 23:00
Localisation : 13

Re: Disques de freins AR sur un Td5

Message non lu par anduril »

et comment trouver la bonne entretoise? faut'il que je remonte les vieux roulements pour déterminer le jeu ! ?
les roulements neufs sont des timken comme les origines !
Avatar du membre
torero
Habitué
Messages : 2521
Enregistré le : 26/07/2004 14:49
Localisation : Poulx 30

Re: Disques de freins AR sur un Td5

Message non lu par torero »

anduril a écrit : j ai suivi le manuel LR
C'est bien expliqué sur le manuel. De mémoire, il faut faire le montage avec l'entretoise la plus fine, mesurer le jeu, et monter ensuite les roulement avec l'entretoise qui rattrapera ce jeu. Sinon tu peux aussi revenir au montage antérieur avec écrou/contre-écrou sans entretoise.
" Quand le sage montre la lune; l'idiot regarde son doigt "
anduril
Habitué
Messages : 28
Enregistré le : 05/11/2007 23:00
Localisation : 13

Re: Disques de freins AR sur un Td5

Message non lu par anduril »

torero a écrit :
anduril a écrit : j ai suivi le manuel LR
C'est bien expliqué sur le manuel. De mémoire, il faut faire le montage avec l'entretoise la plus fine, mesurer le jeu, et monter ensuite les roulement avec l'entretoise qui rattrapera ce jeu. Sinon tu peux aussi revenir au montage antérieur avec écrou/contre-écrou sans entretoise.
Merci Torero pour ta réponse, effectivement le manuel lr en parle mais je pensais que l'entretoise ne changeais pas ! :( en plus j ai pas de comparateur, je vais essayer de me le procurer ! mais bon je comprend pas bien ce qu'ils veulent dire par mesurer le jeu axial de l'arbre! ?
Avatar du membre
nanard833
Habitué
Messages : 3989
Enregistré le : 10/10/2009 20:18
Localisation : disco 300TDI 431000 bornes

Re: Disques de freins AR sur un Td5

Message non lu par nanard833 »

Salut,
anduril a écrit :je comprend pas bien ce qu'ils veulent dire par mesurer le jeu axial de l'arbre!
Si c'est le jeu auquel je pense, il est indépendant du jeu des roulements qui sur le td5 se règle avec une entretoise comme te l'a justement expliqué Torero.

Donc le jeu axial de l'arbre (en réalité demi-arbre car un de chaque côté du diff) vient du fait que la main meneuse de ton train arrière n'est pas soudée sur le demi arbre (comme sur mon disco par exemple)
moyeux ar avec demi-arbres soudés à la main meneuse (floating)
moyeux ar avec demi-arbres soudés à la main meneuse (floating)
mais emboitée sur le demi-arbre cannelé qui comporte une gorge et un circlips (comme sur les trains avant).
moyeux ar avec demi-arbres flottants (full floating)
moyeux ar avec demi-arbres flottants (full floating)


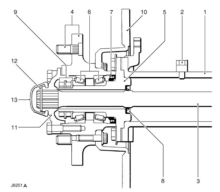
Entre le circlips (12) et la main meneuse (11) il y a des rondelles d'épaisseur calibrées pour autoriser un léger jeu axial du demi arbre dans la main meneuse.
The Pater a écrit :Récupérer circlips et rondelles. Les rondelles (une seule réprésentée sur la coupe) sont trouvent entre le circlips et la main meneuse. Sur mon véhicule, il y en a deux.
Ces rondelles sont importantes. Elles permettent, selon leur épaisseur, d'avoir le bon jeu axial pour l'arbre de transmission. Ce jeu sera à vérifier au remontage et à régler si nécessaire.
C'est ce jeu que tu dois mesurer avec un comparateur monté sur un support magnétique .

Une fois ce jeu mesuré, tu choisis l'épaisseur de tes rondelles afin de laisser le bon jeu résiduel (0.03 mini et 0.18 maxi je crois à confirmer)

Graisser rondelles et circlips

regarde le post du Pater sur les moyeux AV de 300 tdi ici

A+
Gratter la botte ne soulage guère quand ça démange à l'intérieur (proverbe chinois)
anduril
Habitué
Messages : 28
Enregistré le : 05/11/2007 23:00
Localisation : 13

Re: Disques de freins AR sur un Td5

Message non lu par anduril »

nanard833 a écrit :Salut,
anduril a écrit :je comprend pas bien ce qu'ils veulent dire par mesurer le jeu axial de l'arbre!
Si c'est le jeu auquel je pense, il est indépendant du jeu des roulements qui sur le td5 se règle avec une entretoise comme te l'a justement expliqué Torero.

Donc le jeu axial de l'arbre (en réalité demi-arbre car un de chaque côté du diff) vient du fait que la main meneuse de ton train arrière n'est pas soudée sur le demi arbre (comme sur mon disco par exemple)
Photo0154.jpg
mais emboitée sur le demi-arbre cannelé qui comporte une gorge et un circlips (comme sur les trains avant).
montage%20moyeu%20AR.JPG


Entre le circlips (12) et la main meneuse (11) il y a des rondelles d'épaisseur calibrées pour autoriser un léger jeu axial du demi arbre dans la main meneuse.
The Pater a écrit :Récupérer circlips et rondelles. Les rondelles (une seule réprésentée sur la coupe) sont trouvent entre le circlips et la main meneuse. Sur mon véhicule, il y en a deux.
Ces rondelles sont importantes. Elles permettent, selon leur épaisseur, d'avoir le bon jeu axial pour l'arbre de transmission. Ce jeu sera à vérifier au remontage et à régler si nécessaire.
C'est ce jeu que tu dois mesurer avec un comparateur monté sur un support magnétique .

Une fois ce jeu mesuré, tu choisis l'épaisseur de tes rondelles afin de laisser le bon jeu résiduel (0.03 mini et 0.18 maxi je crois à confirmer)

Graisser rondelles et circlips

regarde le post du Pater sur les moyeux AV de 300 tdi ici

A+
hello
j ai des mains meneuses renforces ! mais même a l'origine il n'y avais pas de cales derrière le circlip ! ce que je comprend pas ce que Torero me parle de l'entretoise et maintenant y'a des cales en plus ! :)
Avatar du membre
nanard833
Habitué
Messages : 3989
Enregistré le : 10/10/2009 20:18
Localisation : disco 300TDI 431000 bornes

Re: Disques de freins AR sur un Td5

Message non lu par nanard833 »

D'abord relis les réponses données elles sont trés claires!!!!
anduril a écrit :j ai des mains meneuses renforces !
les mains meneuses renforcées ou pas, il faut du jeu entre le circlips et la main meneuse un point c'est tout.
anduril a écrit :mais même a l'origine il n'y avais pas de cales derrière le circlip !
l'essentiel c'est qu'il y ai un jeu mais normalement, le circlips ne doit pas frotter directement contre la main meneuse peut-être qu'un guignol a touché au moyeu sans reposer la rondelle (même la plus fine)
anduril a écrit :ce que je comprend pas ce que Torero me parle de l'entretoise et maintenant y'a des cales en plus !
regarde ce schéma, il montre le jeu réglé par l'entretoise (entre les bagues intèrieures des roulements)
montage%20moyeu%20ARjeu entretoise.jpg
Ce jeu est différent de celui du demi-arbre.

Il y a donc l'entretoise qui sert à régler le jeu entre les roulements et les rondelles pour régler le jeu du demi-arbre

Par contre, comme te le dit Torero (t-as bu ou quoi? :wink: ) tu peux te passer des entretoises en adoptant l'ancien montage des 300 tdi où le jeu des roulements est réglé suivant la méthode expliquée par Pater où il faut utiliser 1 écrou, 1 contre-écrou et 1 rondelles frein.

Mais entretoise ou pas, tu dois régler aussi le jeu des demi-arbres. Donc 2 jeux à régler.

A+
Gratter la botte ne soulage guère quand ça démange à l'intérieur (proverbe chinois)
Avatar du membre
The Pater
Modérateur
Messages : 13948
Enregistré le : 25/08/2004 8:19
Localisation : 06°27'46"E 45°50'29"N

Re: Disques de freins AR sur un Td5

Message non lu par The Pater »

anduril a écrit : au retour j ai pose les mains sur les moyeux AR et il m’ont semble très chaud, beaucoup plus qu'a l'avant ! :(
pensez vous que j ai trop serres les roulements ?
Il y a en général eux causes probables :

1) Tu as mis trop de graisse.

2) les roulements sont trop préchargés.
Si tu changes les roulements par la même marque, tu dois quand même vérifier que l'entretoise a la bonne longueur. En effet, les roulements sont fabriqués avec des tolérances et on peut donc avoir des largeurs de bagues différentes, des déports de bagues différentes. Par exemple la largeur, selon la norme ISO, d'un roulement à rouleaux conique de la taille de ceux des moyeux de Def est de 0 mm ; + 0,203 mm. Bien sur ce sont des valeurs extrêmes, la majorité, pas tous, des roulements sont dans une tolérance plus faible.
La procédure pour choisir la bonne entretoise nécessite une entretoise de longueur maxi, un montage à blanc et l'utilisation d'un comparateur pour mesurer le jeu axial avec l'entretoise la plus longue. Ensuite on choisi l'entretoise selon le jeu axial et les indications dans le manuel d'atelier.
Note : tu peux enlever l'entretoise et faire le montage comme pour un 300 Tdi.

A+
Ingénieur :
Personne faisant un travail divinatoire de précision basé sur des informations peu fiables données par des personnes peu qualifiées, voire ignorantes.
=>, magicien, devin, sorcier
Avatar du membre
The Pater
Modérateur
Messages : 13948
Enregistré le : 25/08/2004 8:19
Localisation : 06°27'46"E 45°50'29"N

Re: Disques de freins AR sur un Td5

Message non lu par The Pater »

nanard833 a écrit :...........
les mains meneuses renforcées ou pas, il faut du jeu entre le circlips et la main meneuse un point c'est tout.
...........
Mais entretoise ou pas, tu dois régler aussi le jeu des demi-arbres.

hummm.........

Il n'y a pas besoin de régler le jeu axial des demis arbres à l'arrière comme il faut le faire à l'avant.

A+
Ingénieur :
Personne faisant un travail divinatoire de précision basé sur des informations peu fiables données par des personnes peu qualifiées, voire ignorantes.
=>, magicien, devin, sorcier
Avatar du membre
The Pater
Modérateur
Messages : 13948
Enregistré le : 25/08/2004 8:19
Localisation : 06°27'46"E 45°50'29"N

Re: Disques de freins AR sur un Td5

Message non lu par The Pater »

Notons que le titre du sujet n'a pas grand chose à voir avec le contenu.

A+
Ingénieur :
Personne faisant un travail divinatoire de précision basé sur des informations peu fiables données par des personnes peu qualifiées, voire ignorantes.
=>, magicien, devin, sorcier
anduril
Habitué
Messages : 28
Enregistré le : 05/11/2007 23:00
Localisation : 13

Re: Disques de freins AR sur un Td5

Message non lu par anduril »

The Pater a écrit :Notons que le titre du sujet n'a pas grand chose à voir avec le contenu.

A+
désolé en effet j'aurais du mettre echange des roulements AR ou un truc comme ca! mais bon ce pb m'est apparu apres mon échange de disques AR ! :)
anduril
Habitué
Messages : 28
Enregistré le : 05/11/2007 23:00
Localisation : 13

Re: Disques de freins AR sur un Td5

Message non lu par anduril »

The Pater a écrit :
anduril a écrit : au retour j ai pose les mains sur les moyeux AR et il m’ont semble très chaud, beaucoup plus qu'a l'avant ! :(
pensez vous que j ai trop serres les roulements ?
Il y a en général eux causes probables :

1) Tu as mis trop de graisse.

2) les roulements sont trop préchargés.
Si tu changes les roulements par la même marque, tu dois quand même vérifier que l'entretoise a la bonne longueur. En effet, les roulements sont fabriqués avec des tolérances et on peut donc avoir des largeurs de bagues différentes, des déports de bagues différentes. Par exemple la largeur, selon la norme ISO, d'un roulement à rouleaux conique de la taille de ceux des moyeux de Def est de 0 mm ; + 0,203 mm. Bien sur ce sont des valeurs extrêmes, la majorité, pas tous, des roulements sont dans une tolérance plus faible.
La procédure pour choisir la bonne entretoise nécessite une entretoise de longueur maxi, un montage à blanc et l'utilisation d'un comparateur pour mesurer le jeu axial avec l'entretoise la plus longue. Ensuite on choisi l'entretoise selon le jeu axial et les indications dans le manuel d'atelier.
Note : tu peux enlever l'entretoise et faire le montage comme pour un 300 Tdi.

A+
je ne pige pas un truc , si je met l'entretoise de longueur maxi pour mesurer le jeu, n'y a t'il pas le risque de supprimer le jeu ?
ne faut'il pas plutôt mettre celle de longueur mini? afin de mesurer le jeu maximum afin de déterminer l’entretoise adéquate ?
enfin bon je vais suivre vos conseils et mettre un montage de 300tdi sa sera plus simple je pense ! :)
Avatar du membre
The Pater
Modérateur
Messages : 13948
Enregistré le : 25/08/2004 8:19
Localisation : 06°27'46"E 45°50'29"N

Re: Disques de freins AR sur un Td5

Message non lu par The Pater »

anduril a écrit : je ne pige pas un truc , si je met l'entretoise de longueur maxi pour mesurer le jeu, n'y a t'il pas le risque de supprimer le jeu ?
ne faut'il pas plutôt mettre celle de longueur mini? afin de mesurer le jeu maximum afin de déterminer l’entretoise adéquate ?
enfin bon je vais suivre vos conseils et mettre un montage de 300tdi sa sera plus simple je pense ! :)
Tu as un montage de roulements à rouleaux coniques en "O".

Tu réduis le jeu en rapprochant les deux bagues intérieures.
Tu augmente le jeu en écartant, l'une de l'autre, les deux bagues intérieures.

L'entretoise entre les deux bagues intérieures va déterminer la distance entre ces deux bagues.

A+
Ingénieur :
Personne faisant un travail divinatoire de précision basé sur des informations peu fiables données par des personnes peu qualifiées, voire ignorantes.
=>, magicien, devin, sorcier
Répondre

Retourner vers « Freinage »