C'est plausible, plus que plausible même, et cela confirmerait mon sentiment que la photo montrant un piston fissuré révèle bel et bien une fatigue thermique anormale.
Par ailleurs, notre ami Eric a indiqué faire souvent des petits trajets...
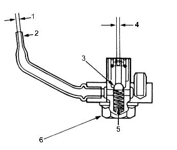
Pour consolider davantage l'hypothèse - je reviens donc à mon propos d'hier - il faudrait savoir précisément comment est orienté le jet d'huile (peut-être que la vidéo le montre, mais n'étant pas chez moi, mon Proxy favori ne me permet pas de la lire....
Sur certains moteurs (de mémoire, j'avais vu ça sur les moteurs de Toy, le 3 litres des Land Cruiser, mais ce n'est pas le seul cas) le jet, dès que le piston s'approche du point mort bas, est injecté dans un réseau de canaux de refroidissement venus de fonderie avec le piston, améliorant assez sensiblement le refroidissement à cœur. Or la doc que Pascal 30 nous a passée évoque aussi cette particularité : "ces gicleurs pulvérisent de l'huile à l'intérieur du piston, laquelle s'écoule ensuite par une gorge de refroidissement d'huile interne ..."
Je suppose que lorsque le piston quitte le PMB, le jet d'huile frappe le dessous de la calotte et continue à refroidir le piston, mais par le dessous.
Cette idée d'huile circulant dans un canal situé assez près de la calotte m'irait assez bien dans la mesure où cela expliquerait, comme je le supposais hier, la formation et l'alimentation en huile du point chaud qui achève de fendre ou de percer les pistons. D'où mon appel au peuple pour le cas où quelqu'un aurait une vue ou une coupe détaillée de cette pièce.
On peut imaginer que lorsque le passage de l'huile s'agrandit, donc lorsque la fissure s'est suffisamment ouverte, l'autocombustion devient exponentielle et provoque alors la casse du moteur par emballement.
Sans cet hypothétique canal réalisant l’alimentation en "combustible" de la fissure, je ne pense pas que l'huile provenant de la segmentation (on peut en effet imaginer que la fissure finisse par se prolonger au niveau les gorges des segments supérieurs, voire du racleur) atteigne le dessus du piston en quantité suffisante pour provoquer une autocombustion suffisamment violente pour détruire le moteur.
L'histoire du défaut de clapet me paraît également très cohérente dans la mesure où je ne me résous pas à croire que le dimensionnement thermique et mécanique des pistons soit en cause : on a suffisamment de recul sur la conception et le suivi de ces organes pour éviter LA connerie qui tue...
En revanche, merder dans le choix d'une pièce insignifiante, ça, tout le monde peut le faire...
Dommage qu'on ne dispose pas de photos encore plus précises du reste du moteur, car je me pose une dernière question : si vraiment le refroidissement du piston était défaillant, mettons lors du premier quart d'heure, on peut penser que le jeu cylindre/piston finisse par devenir nul, le piston, très chaud, étant fortement dilaté alors que son cylindre reste froid.
On devrait donc observer des rayures dans les alésages de certains cylindres liées à l'apparition de frottements importants du piston...
Dernier point : il se peut qu'une des pistes évoquées sur le forum des campings caristes dont j'ai mis le lien en ligne hier achève l'analyse. Les pistons les moins bien refroidis, du moins lors de la phase intermédiaire de montée en température, pourraient bien être ceux les plus éloignés de la pompe à huile. Or plus on s'éloigne de la pompe, plus les pertes de charges augmentent et plus la pression baisse.
Or, si j'ai bien lu les plans de Pascal, la pompe à huile est entraînée par chaîne : elle se situe par conséquent à l'avant du moteur. Les cylindres 3 et 4, qui en sont les plus éloignés, sont donc ceux qui dérouilleraient le plus...
Que penses-tu de tout cela?
