Cabochon central de moyen arrière perdu
Règles du forum
En naviguant sur le site http://www.landroverfaq.com vous reconnaissez avoir lu ses Conditions d’Utilisation, vous déclarez les comprendre et vous acceptez d’y être lié de manière inconditionnelle. Si tel n'est pas le cas, merci de quitter immédiatement ce site.
Vous pouvez joindre autant d'images que nécessaire à vos messages A LA CONDITION EXPRESSE d'utiliser l'hébergement fourni par le site.
L'administrateur effacera systématiquement tout message contenant des photos hébergées chez Imageschack, Casimage, Wistiti ou tout autre hébergeur tiers sans sommation ni justification.
En naviguant sur le site http://www.landroverfaq.com vous reconnaissez avoir lu ses Conditions d’Utilisation, vous déclarez les comprendre et vous acceptez d’y être lié de manière inconditionnelle. Si tel n'est pas le cas, merci de quitter immédiatement ce site.
Vous pouvez joindre autant d'images que nécessaire à vos messages A LA CONDITION EXPRESSE d'utiliser l'hébergement fourni par le site.
L'administrateur effacera systématiquement tout message contenant des photos hébergées chez Imageschack, Casimage, Wistiti ou tout autre hébergeur tiers sans sommation ni justification.
Cabochon central de moyen arrière perdu
Bonjour tout le monde,
Je viens de perdre un des cabochons central d'un des demi-arbres arrières.
De l'huile en est sorti, et a un peu arrosé la jante et le pneu en roulant. Pas grave.
J'ai regardé de l'autre coté, il semble y voir un peu de graisse grise sous ce cabochon, rien de plus.
Est-ce réellement ce pauvre cabochon en plastoc qui assure l’étanchéité du 1/2 arbre à lui tout seul ?
Est-ce dangereux ou préjudiciable à la transmission arrière de rouler ainsi, avant de racheter un autre cabochon (perte d'huile de pont ?) ?
Y'a t'il une réparation temporaire à l'africaine connue (capote, scotch ...), je pense que çà doit arriver souvent comme problème ?
Je l'amène à la révision dans une semaine, coup de bol. Y'a t'il quelque chose que je doive leurs demander de faire, à part refaire le niveau du pont arrière ?
Merci d'avance.
Vincent.
Je viens de perdre un des cabochons central d'un des demi-arbres arrières.
De l'huile en est sorti, et a un peu arrosé la jante et le pneu en roulant. Pas grave.
J'ai regardé de l'autre coté, il semble y voir un peu de graisse grise sous ce cabochon, rien de plus.
Est-ce réellement ce pauvre cabochon en plastoc qui assure l’étanchéité du 1/2 arbre à lui tout seul ?
Est-ce dangereux ou préjudiciable à la transmission arrière de rouler ainsi, avant de racheter un autre cabochon (perte d'huile de pont ?) ?
Y'a t'il une réparation temporaire à l'africaine connue (capote, scotch ...), je pense que çà doit arriver souvent comme problème ?
Je l'amène à la révision dans une semaine, coup de bol. Y'a t'il quelque chose que je doive leurs demander de faire, à part refaire le niveau du pont arrière ?
Merci d'avance.
Vincent.
- nanard833
- Habitué
- Messages : 3989
- Enregistré le : 10/10/2009 20:18
- Localisation : disco 300TDI 431000 bornes
Re: Cabochon central de moyen arrière perdu
Salut,
Si on sait pas quel est ton véhicule....pour rappel ici: c'était un DEF 110 SW td4 j'ai bon?
Tu as en réalité 2 problèmes:
1)L'étanchéité du cabochon surtout là pour empêcher l'eau d'entrer pour polluer les roulements et la graisse sur les cannelures de la main meneuse mais aussi (sur les DEF...) pour empêcher le 1/2 arbre de se faire la malle
donc important.
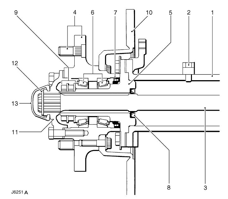
2)L'étanchéité du carter de pont AR: Elle se fait en amont du cabochon, par un joint spi monté dans la fusée: sa lèvre lèche une portée rectifiée du 1/2 arbre et retient ainsi la 80W90 dans le pont (pièce 8 )
2) déposer la fusée et le 1/2 arbre pour déterminer la cause de la fuite : joint défectueux et/ou état de surface de la portée du 1/2 arbre endommagée.
3) remplacer les pièces en causes.
4) vérifier l'autre côté .
5) vérifier l'état des cannelures du 1/2 arbre coté diff elles peuvent être vrillées/marquées s'il a travaillé en position légèrement sortie NB un jeu excessif dans le montage des roulements de moyeux peut générer un désalignement du1/2 arbre avec l'alésage de la fusée. Si l'amplitude de ce mouvement est supérieur à ce que peut compenser la lèvre du joint spi cela peut provoquer/aggraver la fuite.Le 1/2 arbre le + long (gauche) est plus sensible que le court à ce phénomène
tiens nous au courant
A+
Si on sait pas quel est ton véhicule....pour rappel ici: c'était un DEF 110 SW td4 j'ai bon?
Tu as en réalité 2 problèmes:
1)L'étanchéité du cabochon surtout là pour empêcher l'eau d'entrer pour polluer les roulements et la graisse sur les cannelures de la main meneuse mais aussi (sur les DEF...) pour empêcher le 1/2 arbre de se faire la malle
2)L'étanchéité du carter de pont AR: Elle se fait en amont du cabochon, par un joint spi monté dans la fusée: sa lèvre lèche une portée rectifiée du 1/2 arbre et retient ainsi la 80W90 dans le pont (pièce 8 )
1) déposer le moyeu AR pour contrôler les roulements de moyeu s'ils ont bouffé de l'eau...(cabochon non étanche)vincentim a écrit :Y'a t'il quelque chose que je doive leurs demander de faire, à part refaire le niveau du pont arrière ?
2) déposer la fusée et le 1/2 arbre pour déterminer la cause de la fuite : joint défectueux et/ou état de surface de la portée du 1/2 arbre endommagée.
3) remplacer les pièces en causes.
4) vérifier l'autre côté .
5) vérifier l'état des cannelures du 1/2 arbre coté diff elles peuvent être vrillées/marquées s'il a travaillé en position légèrement sortie NB un jeu excessif dans le montage des roulements de moyeux peut générer un désalignement du1/2 arbre avec l'alésage de la fusée. Si l'amplitude de ce mouvement est supérieur à ce que peut compenser la lèvre du joint spi cela peut provoquer/aggraver la fuite.Le 1/2 arbre le + long (gauche) est plus sensible que le court à ce phénomène
tiens nous au courant
A+
Modifié en dernier par nanard833 le 29/08/2015 21:39, modifié 3 fois.
Gratter la botte ne soulage guère quand ça démange à l'intérieur (proverbe chinois)
-
RR VM 1992
Re: Cabochon central de moyen arrière perdu
Il est possible de mettre des mains meneuses renforcées pour éviter une récurrence du problème (mise à l'air du pont bouchée par exemple)
http://www.pieces-defender.com/fr/main- ... tf859.html

http://www.pieces-defender.com/fr/main- ... tf859.html

Re: Cabochon central de moyen arrière perdu
Oui, pardon, mon empressement face à ce problème m'a fait perdre de vue l'essentielnanard833 a écrit :Salut,
Si on sait pas quel est ton véhicule....pour rappel ici: c'était un DEF 110 SW td4 j'ai bon?
Effectivement, c'est un Def 110 année 2010.
Houlà, tu es sûr ?Tu as en réalité 2 problèmes:
1)L'étanchéité du cabochon surtout là pour empêcher l'eau d'entrer pour polluer les roulements et la graisse sur les cannelures de la main meneuse mais aussi (sur les DEF...) pour empêcher le 1/2 arbre de se faire la malledonc important.
Je ne vois pas ce pauvre capuchon retenir quoique ce soit : il s'enlève tout seul si on éternue trop fort, je ne le vois pas tenir en place le 1/2 arbre
Ok, je note tout çà, je leur transmettrai.2)L'étanchéité du carter de pont AR: Elle se fait en amont du cabochon, par un joint spi monté dans la fusée: sa lèvre lèche une portée rectifiée du 1/2 arbre et retient ainsi la 80W90 dans le pont (pièce 8 )1) déposer le moyeu AR pour contrôler les roulements de moyeu s'ils ont bouffé de l'eau...(cabochon non étanche)vincentim a écrit :Y'a t'il quelque chose que je doive leurs demander de faire, à part refaire le niveau du pont arrière ?
2) déposer la fusée et le 1/2 arbre pour déterminer la cause de la fuite : joint défectueux et/ou état de surface de la portée du 1/2 arbre endommagée.
3) remplacer les pièces en causes.
4) vérifier l'autre côté .
5) vérifier l'état des cannelures du 1/2 arbre coté diff elles peuvent être vrillées/marquées s'il a travaillé en position légèrement sortie NB un jeu excessif dans le montage des roulements de moyeux peut générer un battement du1/2 arbre supérieur à ce que peut compenser la lèvre du joint spi et provoquer/aggraver la fuite.Le 1/2 arbre le + long (gauche) est plus sensible que le court à ce phénomène
Je n'y manquerai pas.tiens nous au courant
A+
Merci.
Vincent.
Re: Cabochon central de moyen arrière perdu
Merci pour cette info.RR VM 1992 a écrit :Il est possible de mettre des mains meneuses renforcées pour éviter une récurrence du problème (mise à l'air du pont bouchée par exemple)
http://www.pieces-defender.com/fr/main- ... tf859.html
Peut-on remplacer les mains meneuses sans faire des réglages alambiqués styles précontrainte de roulements ou autres joyeusetés dont je suis incapable ? Je sais faire des opérations basiques, mais pas m'aventurer dans des aventures compliquées, je roule avec tous les jours, je ne peux pas la laisser sur chandelles 1 semaine
D'autre part, tu parles d'une mise à l'air. Où se trouve-t'elle ? Je vais y jeter un coup d’œil au cas où.
Merci bcp.
Vincent.
- nanard833
- Habitué
- Messages : 3989
- Enregistré le : 10/10/2009 20:18
- Localisation : disco 300TDI 431000 bornes
Re: Cabochon central de moyen arrière perdu
as-tu lu mon inter juste au dessus?
j'édite la réponse est oui
j'édite la réponse est oui
Gratter la botte ne soulage guère quand ça démange à l'intérieur (proverbe chinois)
- nanard833
- Habitué
- Messages : 3989
- Enregistré le : 10/10/2009 20:18
- Localisation : disco 300TDI 431000 bornes
Re: Cabochon central de moyen arrière perdu
Ben vois par toi-même sur le schéma en coupe,vincentim a écrit :Houlà, tu es sûr ?Je ne vois pas ce pauvre capuchon retenir quoique ce soit : il s'enlève tout seul si on éternue trop fort, je ne le vois pas tenir en place le 1/2 arbre
Dernièrement j'ai monté des cabochons neufs à l'avant de mon disco, ils sont très durs à monter, il vaut d'ailleurs mieux les chauffer légèrement pour les ramollir et ne pas les éclater au montage.
De plus je ne vois rien dans cette mécanique qui engendre des efforts axiaux sur le 1/2 arbre donc peu de risque qu'il se barre.
A+
Gratter la botte ne soulage guère quand ça démange à l'intérieur (proverbe chinois)
Re: Cabochon central de moyen arrière perdu
Oui, oui, bien sûr, ton post est plein d'infos.nanard833 a écrit :as-tu lu mon inter juste au dessus?
j'édite la réponse est oui
D'ailleurs le plan que tu fournis montre (me semble t'il) que la main meneuse empêche bien le 1/2 arbre de sortir, pas le capuchon, ouf.
Quant au coté, il s'agit du cabochon coté droit.
Vincent.
- nanard833
- Habitué
- Messages : 3989
- Enregistré le : 10/10/2009 20:18
- Localisation : disco 300TDI 431000 bornes
Re: Cabochon central de moyen arrière perdu
oufvincentim a écrit :Oui, oui, bien sûr, ton post est plein d'infos.
ben nonvincentim a écrit :D'ailleurs le plan que tu fournis montre (me semble t'il) que la main meneuse empêche bien le 1/2 arbre de sortir, pas le capuchon, ouf.
Le cabochon empêche l'arbre de sortir "pas ouf"
Conception land rover
A+
Gratter la botte ne soulage guère quand ça démange à l'intérieur (proverbe chinois)
Re: Cabochon central de moyen arrière perdu
Ben, les cannelures s'arrêtent avant le changement de Ø de l'arbre, comme le montre le schéma et ta photo (je parle de la 163)nanard833 a écrit :Ben vois par toi-même sur le schéma en coupe,vincentim a écrit :Houlà, tu es sûr ?Je ne vois pas ce pauvre capuchon retenir quoique ce soit : il s'enlève tout seul si on éternue trop fort, je ne le vois pas tenir en place le 1/2 arbretrouve moi un élément qui empêche l'arbre de sortir à part le cabochon...
![]()
Dernièrement j'ai monté des cabochons neufs à l'avant de mon disco, ils sont très durs à monter, il vaut d'ailleurs mieux les chauffer légèrement pour les ramollir et ne pas les éclater au montage.
De plus je ne vois rien dans cette mécanique qui engendre des efforts axiaux sur le 1/2 arbre donc peu de risque qu'il se barre.
A+
Et franchement quand je vois la façon dont il tient de l'autre coté, il est impossible que ce cabochon en platoc à 1.70€ arrête le 1/2 arbre.
Vincent.
- The Pater
- Modérateur
- Messages : 13981
- Enregistré le : 25/08/2004 8:19
- Localisation : 06°27'46"E 45°50'29"N
Re: Cabochon central de moyen arrière perdu
Le rôle principale de ce cabochon est d'empêcher la poussière et l'eau d'entrer.
Il ne faut pas rouler sans.
A+
Il ne faut pas rouler sans.
A+
Ingénieur :
Personne faisant un travail divinatoire de précision basé sur des informations peu fiables données par des personnes peu qualifiées, voire ignorantes.
=>, magicien, devin, sorcier
Personne faisant un travail divinatoire de précision basé sur des informations peu fiables données par des personnes peu qualifiées, voire ignorantes.
=>, magicien, devin, sorcier
Re: Cabochon central de moyen arrière perdu
Bon, une nouvelle rassurante du front, d'après ces photos, les cannelures n'étant pas débouchantes, la main meneuse empêche bien les 1/2 arbres de se barrer. Je préfère çà, mécaniquement c'était inepte, même de la part de Land Rover
Reste le pb de l'huile qui coule, prouvant à priori que le joint SPI est du voyage ... à faire vérifier tu as raison.
Merci encore pour ton aide.
Vincent.
Reste le pb de l'huile qui coule, prouvant à priori que le joint SPI est du voyage ... à faire vérifier tu as raison.
Merci encore pour ton aide.
Vincent.
Re: Cabochon central de moyen arrière perdu
Ok, les cabochons de rechange sont déjà commandés, et je n'ai roulé que quelques minutes sans celui-ci.The Pater a écrit :Le rôle principale de ce cabochon est d'empêcher la poussière et l'eau d'entrer.
Il ne faut pas rouler sans.
A+
Mais ce Def étant ma voiture de tous les jours et la mettant à réviser bientôt, je souhaitais savoir ce qui était à prévoir et ce que je devais demander à mon garagiste préféré.
Le schémas montre qu'à priori, au vue de ma perte d'huile, j'ai un autre pb que la simple perte de ce cabochon ...
Merci Pater.
Vincent.
- nanard833
- Habitué
- Messages : 3989
- Enregistré le : 10/10/2009 20:18
- Localisation : disco 300TDI 431000 bornes
Re: Cabochon central de moyen arrière perdu
pour info
A+
A+
Gratter la botte ne soulage guère quand ça démange à l'intérieur (proverbe chinois)
Re: Cabochon central de moyen arrière perdu
Je viens de lire ce post. Effectivement ...nanard833 a écrit :pour info
A+
Mais il y a celui-ci: http://www.landroverfaq.com/viewtopic.php?f=26&t=3039, qui dit bien :
Et dans ce post il y a cette photoFeub a écrit : Mouarff![]()
![]()
Ben euh?? le demi arbre ne peut pas passer a travers la main meneuse, donc c'est pas le cabochon qui l'arrête!torero a écrit : _ un circlip empêche le 1/2 arbre de rentrer complètement vers le diff, mais rien, à part le cabochon en cahoutchouc ne l'empêche de sortir, c'est normal?
qui montre nettement que le cannelures ne sont pas débouchantes.
J'ai essayé ce matin de tirer sur mes 1/2 arbres, je n'ai que quelques 1/10èmes de mm de jeu, pas 10-15mm comme dans le post que tu cites.
Donc ... ?
Quoiqu'il en soit merci pour vos avis éclairés.
Vincent.
- The Pater
- Modérateur
- Messages : 13981
- Enregistré le : 25/08/2004 8:19
- Localisation : 06°27'46"E 45°50'29"N
Re: Cabochon central de moyen arrière perdu
Si tu as de l'huile qui sort, c'est qu'une partie de l'huile de pont est venu se mélanger à la graisse, c'est de l'huile qui s'accumule avec le temps. mais cela veut dire que le joint de pont n'est plus très efficace.vincentim a écrit : Mais ce Def étant ma voiture de tous les jours et la mettant à réviser bientôt, je souhaitais savoir ce qui était à prévoir et ce que je devais demander à mon garagiste préféré.
J'ai eu de l'huile de pont qui est passé dans le moyeu à cause de la mise à l'air libre de pont bouchée. Mais la première fois que j'ai démonté mes moyeux arrière, après 360 000 km de service, l'huile n'a pas coulée et la graisse n'était pas complétement mélangée avec de l'huile, contrairement à l'avant pour un kilométrage deux fois moindre.....
De toutes façon il faut retirer le moyeu pour nettoyer et regraisser. Tu peux en profiter pour changer les roulements (si tu as confiance dans ton garagiste.....) et le joint du moyeu.
De plus il faudra peut être bien changer le joint interne d’extrémité de pont, le joint qui frotte sur l'arbre, car l'huile du moyeu vient du pont.
A+
Ingénieur :
Personne faisant un travail divinatoire de précision basé sur des informations peu fiables données par des personnes peu qualifiées, voire ignorantes.
=>, magicien, devin, sorcier
Personne faisant un travail divinatoire de précision basé sur des informations peu fiables données par des personnes peu qualifiées, voire ignorantes.
=>, magicien, devin, sorcier
Re: Cabochon central de moyen arrière perdu
Ok, super, je note tout çà, je vais presque passer pour quelqu'un qui s'y connait.
Merci.
Vincent.
Merci.
Vincent.
- LandLover110
- Habitué
- Messages : 213
- Enregistré le : 18/02/2011 18:27
- Localisation : Amiens
Re: Cabochon central de moyen arrière perdu
Sinon, tu peux aussi percer un trou dans ta main meneuse, pour y visser un graisseur (après taraudage) ; un coup de pompe à graisse, et tu repositionnes une vis (avec un joint cuivre pour l'étanchéité).
Facile à entretenir, tes moyeux te remercieront, et la maintenance en sera facilitée !
le graisseur sera rangé précieusement dans la caisse à outils, avec la pompe à graisse.
Facile à entretenir, tes moyeux te remercieront, et la maintenance en sera facilitée !
le graisseur sera rangé précieusement dans la caisse à outils, avec la pompe à graisse.
Re: Cabochon central de moyen arrière perdu
Pas mal çà !
Ce serait encore mieux d'injecter la graisse entre les deux roulements de roue mais il faudrait alors percer le moyeu.
As-tu une idée de où se fait la mise à l'air du pont arrière ? Je vais y jeter un coup d’œil ce week-end, comme je monte/descends tous les jours de la montagne, çà ne doit pas aider si elle est bouchée.
Merci.
Vincent.
Ce serait encore mieux d'injecter la graisse entre les deux roulements de roue mais il faudrait alors percer le moyeu.
As-tu une idée de où se fait la mise à l'air du pont arrière ? Je vais y jeter un coup d’œil ce week-end, comme je monte/descends tous les jours de la montagne, çà ne doit pas aider si elle est bouchée.
Merci.
Vincent.
-
jerome38
- Habitué
- Messages : 725
- Enregistré le : 03/06/2004 10:45
- Localisation : Uriage, Region grenobloise
Re: Cabochon central de moyen arrière perdu
Pas mal comme idée, mais la graisse se diffuse-t-elle bien autour de toutes les cannelures ?LandLover110 a écrit :Sinon, tu peux aussi percer un trou dans ta main meneuse, pour y visser un graisseur (après taraudage) ; un coup de pompe à graisse, et tu repositionnes une vis (avec un joint cuivre pour l'étanchéité).
Facile à entretenir, tes moyeux te remercieront, et la maintenance en sera facilitée !
le graisseur sera rangé précieusement dans la caisse à outils, avec la pompe à graisse.