Ben oui, il pleuvait cette après midi et je me suis dit qu'il valait mieux fermer au cas où. Cela pourrait-il avoir eu des conséquences ?The Pater a écrit :Tu mets le couvercle quand tu fais la purge ?
Pédale d'embrayage molle.
Règles du forum
En naviguant sur le site http://www.landroverfaq.com vous reconnaissez avoir lu ses Conditions d’Utilisation, vous déclarez les comprendre et vous acceptez d’y être lié de manière inconditionnelle. Si tel n'est pas le cas, merci de quitter immédiatement ce site.
Vous pouvez joindre autant d'images que nécessaire à vos messages A LA CONDITION EXPRESSE d'utiliser l'hébergement fourni par le site.
L'administrateur effacera systématiquement tout message contenant des photos hébergées chez Imageschack, Casimage, Wistiti ou tout autre hébergeur tiers sans sommation ni justification.
En naviguant sur le site http://www.landroverfaq.com vous reconnaissez avoir lu ses Conditions d’Utilisation, vous déclarez les comprendre et vous acceptez d’y être lié de manière inconditionnelle. Si tel n'est pas le cas, merci de quitter immédiatement ce site.
Vous pouvez joindre autant d'images que nécessaire à vos messages A LA CONDITION EXPRESSE d'utiliser l'hébergement fourni par le site.
L'administrateur effacera systématiquement tout message contenant des photos hébergées chez Imageschack, Casimage, Wistiti ou tout autre hébergeur tiers sans sommation ni justification.
Re: Pédale d'embrayage molle. [pas résolu en fait...]
« On ne règle pas un problème en utilisant le système de pensée qui l'a engendré »
Re: Pédale d'embrayage molle. [pas résolu en fait...]
Salut
Sur le disco tu as un poumon avant le récepteur (STD10002L) peut etre est ce lui la cause de tes soucis .
CDT
Sur le disco tu as un poumon avant le récepteur (STD10002L) peut etre est ce lui la cause de tes soucis .
CDT
Re: Pédale d'embrayage molle. [pas résolu en fait...]
Salut,
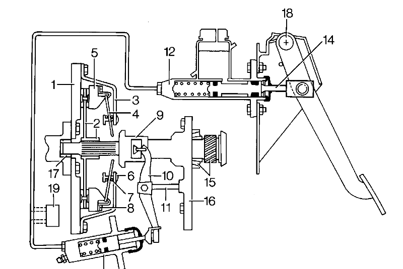
J'ignorais cela. C'est bien la pièce numérotée 19 sur le schéma dont tu parles ? Si c'est bien cela, il me reste à la localiser "en vrai".
J'ignorais cela. C'est bien la pièce numérotée 19 sur le schéma dont tu parles ? Si c'est bien cela, il me reste à la localiser "en vrai".
« On ne règle pas un problème en utilisant le système de pensée qui l'a engendré »
- disco200tdi
- Habitué
- Messages : 755
- Enregistré le : 16/11/2005 21:30
- Localisation : Meuse
Re: Pédale d'embrayage molle. [pas résolu en fait...]
Faut lire les réponses faites! (30/07/2015)Arnø a écrit :Salut,
J'ignorais cela. C'est bien la pièce numérotée 19 sur le schéma dont tu parles ? Si c'est bien cela, il me reste à la localiser "en vrai".
http://www.landroverfaq.com/viewtopic.p ... =20#p90828
disco200tdi a écrit :Est-ce que le disco 300tdi est équipé du poumon amortisseur sur la ligne de commande?
Si oui, il peut fuir légèrement et foutre le souk quand on purge.
Toujours vert, surtout dans les dévers.
Re: Pédale d'embrayage molle. [pas résolu en fait...]
Salut
Non ce n'est pas cela .
Le poumon est juste a coté du récepteur .(petit boitier rond ) Tu peux aller sur le site allbrit.de/UNI.cfm?PAGE=775247&SPRACHE=EN et tu fais une recherche sur le disco .Tu verra l'éclaté .
CDT
Non ce n'est pas cela .
Le poumon est juste a coté du récepteur .(petit boitier rond ) Tu peux aller sur le site allbrit.de/UNI.cfm?PAGE=775247&SPRACHE=EN et tu fais une recherche sur le disco .Tu verra l'éclaté .
CDT
Re: Pédale d'embrayage molle. [pas résolu en fait...]
Re
Pardon j'avais mal regardé .Ce dois etre cela .Mais sur le site tu verra mieux .
CDT
Pardon j'avais mal regardé .Ce dois etre cela .Mais sur le site tu verra mieux .
CDT
Re: Pédale d'embrayage molle. [pas résolu en fait...]
Mea culpa, j'avoue qu'à l'époque j'étais flippé (et je le suis toujours) par les histoires de fourchette d'embrayage et que j'ai un peu zappé certaines infos (celle de l'amortisseur justement)disco200tdi a écrit :Faut lire les réponses faites! (30/07/2015)![]()
http://www.landroverfaq.com/viewtopic.p ... =20#p90828
Merci, je vois donc à quoi il ressemble.tippie a écrit :Le poumon est juste a coté du récepteur .(petit boitier rond )
L'idée, c'est que celui ci pourrait être "fuyard" si j'ai bien capté. Donc ce soir ou demain, je vais sous le disco et je regarde si tout est étanche de ce côté là.
Je vous tiens au courant.
« On ne règle pas un problème en utilisant le système de pensée qui l'a engendré »
- LØLØ
- Modérateur
- Messages : 6210
- Enregistré le : 30/07/2006 15:41
- Localisation : guainville (28 )
- Contact :
Re: Pédale d'embrayage molle. [pas résolu en fait...]
Salut,Arnø a écrit : un peu zappé certaines infos (celle de l'amortisseur justement)tippie a écrit :Le poumon est juste a coté du récepteur .(petit boitier rond )
As tu lu ce thème ? disco 200tdi, embrayage tout mou.
Au passage, il est de plus en plus courant de voir des problèmes au niveau de ce petit poumon amortisseur, (qui était fait pour les bobos parisien nerveux), d'avoir des problèmes de sertissage, rendant la purge impossible. A supprimer sans conséquence sur le fonctionnement du système d'embrayage, qui de ce fait devient comme celui des defenders.
A+
2 solutions: la bonne et l'Anglaise
LUCAS: Il n'y a pas de contact où il le faut et il y en a un où il ne faut pas
On ne peut aller loin en amitié, si on n'est pas disposé à se pardonner les uns aux autres les petits défauts.
www.eternal-vehicles.fr
LUCAS: Il n'y a pas de contact où il le faut et il y en a un où il ne faut pas
On ne peut aller loin en amitié, si on n'est pas disposé à se pardonner les uns aux autres les petits défauts.
www.eternal-vehicles.fr
- LØLØ
- Modérateur
- Messages : 6210
- Enregistré le : 30/07/2006 15:41
- Localisation : guainville (28 )
- Contact :
Re: Pédale d'embrayage molle. [pas résolu en fait...]
Salut,Arnø a écrit : Mea culpa, j'avoue... que j'ai un peu zappé certaines infos (celle de l'amortisseur justement)
J'espère que tu te taperas bien fort la poitrine ...
Amortisseur d'embrayage, STD10002 spécifique au disco fait environ 5cm de diamètre et 2.5cm de haut. Dedans, il n'y a presque rien, donc entre 75€ et 100€ pour rien et encore pas chez LR, cela me fend le cœur : Mais dans l'histoire, il n'y a pas que mon cœur qui se fend, mais également la membrane amortisseur : Cette membre est métallique et fait environ 1.63mm d'épaisseur, pour 43.5mm de diamètre : Il y a l'espèce de jonc, qui sert de cale de décalage, de sorte que la membrane n'appuie pas au fond du logement et peut donc se "gonfler", bien que je pense que la majorité de l'augmentation du volume de la chambre, se fasse plus sur l'épaisseur du joint torique: Puis la membrane, et le couvercle avec son joint torique qui réalise l’étanchéité avec l'entrée et la sortie du liquide de frein. Le couvercle étant solidement sertie dans la douille. Donc les pannes les plus fréquentes:
La membrane qui se fend sous la pression, donc perte d’étanchéité et si le liquide ne passe pas forcément par le sertissage, l'air oui, rendant une montée en pression du circuit impossible, c'était le cas du modèle servant de modèle au sujet, "pédale mole" ( tøi même ! ).
Le joint torique qui est cuit, même diagnostique, pédale mole et purge impossible.
Bien sûr, d'autre hypothèses de pannes sont envisageables au niveau des filetages ou des olives (fendues) des durites entrantes et sortantes, à cause d'un serrage trop important.
Bon courage!
Les problèmes de purge sur nos lands, n'ont toujours pas fini d'user les claviers.
A+
2 solutions: la bonne et l'Anglaise
LUCAS: Il n'y a pas de contact où il le faut et il y en a un où il ne faut pas
On ne peut aller loin en amitié, si on n'est pas disposé à se pardonner les uns aux autres les petits défauts.
www.eternal-vehicles.fr
LUCAS: Il n'y a pas de contact où il le faut et il y en a un où il ne faut pas
On ne peut aller loin en amitié, si on n'est pas disposé à se pardonner les uns aux autres les petits défauts.
www.eternal-vehicles.fr
Re: Pédale d'embrayage molle. [pas résolu en fait...]
Le filetage de l'entrée de cet amortisseur n'est pas le même que celui de l'entrée du récepteur.LØLØ a écrit : je ne sais plus pourquoi cela ne se montait pas directement.
Le flexible du disco, prévu pour entrer dans l'amortisseur, ne se monte pas directement sur le cylindre récepteur.
This manual should be used to find out where the water is leaking from. Due to the nature of the design and construction of the Defender this can prove to fairly difficult. The fact that water moves in seemingly random directions also adds to the problem
Re: Pédale d'embrayage molle. [pas résolu en fait...]
Bonjour,
Bon ben voilou, j'ai pu retirer l'amortisseur et ainsi le shunter en reliant directement le fexible sur le récepteur (même filetage).
Cela donne ça : Purge du circuit et là, oh miracle !, tout se passe nickel. Ma pédale redevient efficace.
Très content je me décide à faire des "ronds dans l'eau" devant chez moi car le disco n'est pas roulant auprès de l'assurance et là, la cata
La pédale redevient molle de chez molle, plus aucune résistance !
Bref, je jette un oeil sous le char et là je constate que le DOT pisse par le trou du bouchon de gué de la cloche.
Du coup, ça a au moins le mérite d'être "franc" comme problème et ma question est donc très simple : Je fais quoi docteur(s) ???
Il faut changer le cylindre esclave ou cela peut être autre chose ?
Merci,
Arnø
Bon ben voilou, j'ai pu retirer l'amortisseur et ainsi le shunter en reliant directement le fexible sur le récepteur (même filetage).
Cela donne ça : Purge du circuit et là, oh miracle !, tout se passe nickel. Ma pédale redevient efficace.
Très content je me décide à faire des "ronds dans l'eau" devant chez moi car le disco n'est pas roulant auprès de l'assurance et là, la cata
La pédale redevient molle de chez molle, plus aucune résistance !
Bref, je jette un oeil sous le char et là je constate que le DOT pisse par le trou du bouchon de gué de la cloche.
Du coup, ça a au moins le mérite d'être "franc" comme problème et ma question est donc très simple : Je fais quoi docteur(s) ???
Il faut changer le cylindre esclave ou cela peut être autre chose ?
Merci,
Arnø
« On ne règle pas un problème en utilisant le système de pensée qui l'a engendré »
Re: Pédale d'embrayage molle. [pas résolu en fait...]
ha ben il doit exister plusieurs types de montages, alors ... 
This manual should be used to find out where the water is leaking from. Due to the nature of the design and construction of the Defender this can prove to fairly difficult. The fact that water moves in seemingly random directions also adds to the problem
- LØLØ
- Modérateur
- Messages : 6210
- Enregistré le : 30/07/2006 15:41
- Localisation : guainville (28 )
- Contact :
Re: Pédale d'embrayage molle. [pas résolu en fait...]
Peut être entre les200 et les 300 ?kebir31 a écrit :ha ben il doit exister plusieurs types de montages, alors ...
A+
2 solutions: la bonne et l'Anglaise
LUCAS: Il n'y a pas de contact où il le faut et il y en a un où il ne faut pas
On ne peut aller loin en amitié, si on n'est pas disposé à se pardonner les uns aux autres les petits défauts.
www.eternal-vehicles.fr
LUCAS: Il n'y a pas de contact où il le faut et il y en a un où il ne faut pas
On ne peut aller loin en amitié, si on n'est pas disposé à se pardonner les uns aux autres les petits défauts.
www.eternal-vehicles.fr
Re: Pédale d'embrayage molle. [pas résolu en fait...]
Re les gens !
Sans vouloir vous embêter, vous pensez quoi du souci qui vient d'apparaître ?
Cela provient du récepteur et il suffit de le changer ou cela peut provenir d'ailleurs ???
Ci c'est le récepteur, je change aussi le clip et la tige (FTC3912)ou seulement le clip (FRC3327) ?
Sans vouloir vous embêter, vous pensez quoi du souci qui vient d'apparaître ?
Cela provient du récepteur et il suffit de le changer ou cela peut provenir d'ailleurs ???
Ci c'est le récepteur, je change aussi le clip et la tige (FTC3912)ou seulement le clip (FRC3327) ?
« On ne règle pas un problème en utilisant le système de pensée qui l'a engendré »
- The Pater
- Modérateur
- Messages : 13985
- Enregistré le : 25/08/2004 8:19
- Localisation : 06°27'46"E 45°50'29"N
Re: Pédale d'embrayage molle. [pas résolu en fait...]
Arnø a écrit : Bref, je jette un oeil sous le char et là je constate que le DOT pisse par le trou du bouchon de gué de la cloche.
Du coup, ça a au moins le mérite d'être "franc" comme problème et ma question est donc très simple : Je fais quoi docteur(s) ???
Il faut changer le cylindre esclave ou cela peut être autre chose ?
Ben oui, il faut changer le cylindre récepteur.
A+
Ingénieur :
Personne faisant un travail divinatoire de précision basé sur des informations peu fiables données par des personnes peu qualifiées, voire ignorantes.
=>, magicien, devin, sorcier
Personne faisant un travail divinatoire de précision basé sur des informations peu fiables données par des personnes peu qualifiées, voire ignorantes.
=>, magicien, devin, sorcier
Re: Pédale d'embrayage molle. [pas résolu en fait...]
Ok merci. Je vais passer commande ce WE.
En regardant le manuel d'atelier, 2-3 questions se posent pour moi :
1 - Il est noté en gros et en gras "Ne pas détacher le poussoir ni l'attache du levier" mais Nanard me disait à l'époque quand je pensais changer aussi le récepteur
Vu que je n'ai ni l'envie ni les moyens, ni les compétences pour tomber ma boîte, pourriez vous me dire s'il y a des précautions particulières à prendre lors du retrait du vieux récepteur pour que ni la tige ni le clip ne viennent avec ?
2 - que faire si le pare-poussière se détache lors du retrait ?
3 - le manuel préconise un produit d'étanchéité hylomar P232M mais je ne vois pas où m'en procurer. Que puis-je utiliser à la place qui se trouverait facilement ?
4 - enfin, vaut-il mieux aussi remplacer la plaque d'appui pour refaire une bonne étanchéité ?
En regardant le manuel d'atelier, 2-3 questions se posent pour moi :
1 - Il est noté en gros et en gras "Ne pas détacher le poussoir ni l'attache du levier" mais Nanard me disait à l'époque quand je pensais changer aussi le récepteur
Du coup, je suppose qu'il parlait du clip FRC3327.nanard833 a écrit :n'oublie pas le clip en plastoc qui maintient la tige de commande en place sur la fourchette de l'embrayage.
Vu que je n'ai ni l'envie ni les moyens, ni les compétences pour tomber ma boîte, pourriez vous me dire s'il y a des précautions particulières à prendre lors du retrait du vieux récepteur pour que ni la tige ni le clip ne viennent avec ?
2 - que faire si le pare-poussière se détache lors du retrait ?
3 - le manuel préconise un produit d'étanchéité hylomar P232M mais je ne vois pas où m'en procurer. Que puis-je utiliser à la place qui se trouverait facilement ?
4 - enfin, vaut-il mieux aussi remplacer la plaque d'appui pour refaire une bonne étanchéité ?
« On ne règle pas un problème en utilisant le système de pensée qui l'a engendré »
- LØLØ
- Modérateur
- Messages : 6210
- Enregistré le : 30/07/2006 15:41
- Localisation : guainville (28 )
- Contact :
Re: Pédale d'embrayage molle. [pas résolu en fait...]
Salut,Arnø a écrit :
1 - Il est noté en gros et en gras "Ne pas détacher le poussoir ni l'attache du levier" mais Nanard me disait à l'époque quand je pensais changer aussi le récepteurDu coup, je suppose qu'il parlait du clip FRC3327.nanard833 a écrit :n'oublie pas le clip en plastoc qui maintient la tige de commande en place sur la fourchette de l'embrayage.
Vu que je n'ai ni l'envie ni les moyens, ni les compétences pour tomber ma boîte, pourriez vous me dire s'il y a des précautions particulières à prendre lors du retrait du vieux récepteur pour que ni la tige ni le clip ne viennent avec ?
Tiens lis ça, et vois ce qui t'attend, si par malheur la tige de poussée vient à se déclipser : Le clip de la mort (embrayage Def 300 Tdi) !, du grand art ou alors c'est la recherche de l'usage hédoniste du clips chez les faqueux.
Rien, aucune importance, laisse le dans un premier temps, ne t'énerve pas, car il arrive qu'il se colle a la tige. Enlève le récepteur délicatement en laissant le cache poussière autour de la tige, surtout si tu perçois qu'il ne vient pas avec sans effort en glissant le long de la tige, puis mets un doigt ou deux sur la tige de poussée, pour la maintenir en place fermement en appuyant dessus, puis avec l'autre main, tu essais de décoller le pare poussière caoutchouc généralement bien cuit de la tige, et tu te débrouille pour le sortir en laissant la tige en place mais dés qu'il est décollé, pas de soucis il vient tout seul. La grosse erreur étant de tirer dessus sans maintenir la tige, car parfois le pare poussière est plus solidement collé à la tige, que le clips ne maintien la tige sur la fourchette, car lui aussi, il est un peu cuit et sec. Ne pas perdre de vue que ce clips ne sert que pour la mise en place du récepteur et de sa tige de poussée sur la fourchette, après une fois en place, la pression fait que la tige tient naturellement entre la fourchette et le récepteur, sans aucun risque de bougé.2 - que faire si le pare-poussière se détache lors du retrait ?
Car effectivement, avec le temps; l'huile; la graisse; le liquide de frein; la chaleur... A cause de sa décomposition; à cause de sa forme, le cache poussière arrive à bien coller sur la tige de poussée. En regard de ça, quand tu vois comment est maintenu le clips FRC3327 qui tient la tige sur la fourchette, par deux petits ergots bien fragiles, qui ont vite fait de se casser ou de se démettre.
A noter que sur la photo, le clips a un de ses deux ergots cassé, et est donc bon pour le rebut, ou à servir de sujet pour une séance de photos.
Bah! de la pâte à joint, chez ton dealer habituelle fera l'affaire. Tiens, cela me rappelle une petite histoire: Le garagiste de ma rue c'est fait arrêté pour trafic de drogue, j'ai été son client pendant 20 ans, et je ne savais même pas qu'il était garagiste.3 - le manuel préconise un produit d'étanchéité hylomar P232M mais je ne vois pas où m'en procurer. Que puis-je utiliser à la place qui se trouverait facilement ?
Non, pas la peine, si c'est bien de la plaque FRC2402 repéré 9 sur cet éclaté dont tu parles. A+4 - enfin, vaut-il mieux aussi remplacer la plaque d'appui pour refaire une bonne étanchéité ?
2 solutions: la bonne et l'Anglaise
LUCAS: Il n'y a pas de contact où il le faut et il y en a un où il ne faut pas
On ne peut aller loin en amitié, si on n'est pas disposé à se pardonner les uns aux autres les petits défauts.
www.eternal-vehicles.fr
LUCAS: Il n'y a pas de contact où il le faut et il y en a un où il ne faut pas
On ne peut aller loin en amitié, si on n'est pas disposé à se pardonner les uns aux autres les petits défauts.
www.eternal-vehicles.fr
Re: Pédale d'embrayage molle. [pas résolu en fait...]
Salut,
Merci LØLØ, me voilà (presque) rassuré
M'en vais aussi rajouter 2 clips à ma commande (on ne sait jamais
).
Dans le post de orange 110, je ne comprends cependant pas pourquoi il a fendu ses tubes alu puisque ceux-ci ne servent en fait que de guide et de maintien de l'ensemble, si quelqu'un peut m'éclairer à ce propos.
Juste une question, aurais-je la place pour glisser une lame de scalpel ou autre afin de fendre le pare-poussière s'il est collé ? Cela éviterait de devoir tirer dessus
Au moins ces déboires auront eu le mérite de m'obliger à refaire à neuf le circuit hydraulique et de supprimer l'amortisseur inutile.
C'est pas de bol quand même, je commence par changer l'émetteur, ça "refonctionne" un temps. Je vire ensuite l'amortisseur et ça marche nickel pendant un quart d'heure avant que le récepteur ne rende l'âme... Réaction en chaîne quelque peu ennuyeuse
Arnø
Merci LØLØ, me voilà (presque) rassuré
En appliquant le principe de la loi de murphy à mon souci hydraulique, j'ai donc mis de côté un vieux balai d'essuie-glace pour récupérer l'acier ressort au cas où...LØLØ a écrit :Tiens lis ça, et vois ce qui t'attend, si par malheur la tige de poussée vient à se déclipser : Le clip de la mort (embrayage Def 300 Tdi) !, du grand art ou alors c'est la recherche de l'usage hédoniste du clips chez les faqueux.
M'en vais aussi rajouter 2 clips à ma commande (on ne sait jamais
Dans le post de orange 110, je ne comprends cependant pas pourquoi il a fendu ses tubes alu puisque ceux-ci ne servent en fait que de guide et de maintien de l'ensemble, si quelqu'un peut m'éclairer à ce propos.
Je vais donc prendre mes (gros) doigts de fée pour le retirer en croisant les orteils (car les doigts des 2 mains seront occupés)...LØLØ a écrit :Car effectivement, avec le temps; l'huile; la graisse; le liquide de frein; la chaleur... A cause de sa décomposition; à cause de sa forme, le cache poussière arrive à bien coller sur la tige de poussée.
Juste une question, aurais-je la place pour glisser une lame de scalpel ou autre afin de fendre le pare-poussière s'il est collé ? Cela éviterait de devoir tirer dessus
Au moins ces déboires auront eu le mérite de m'obliger à refaire à neuf le circuit hydraulique et de supprimer l'amortisseur inutile.
C'est pas de bol quand même, je commence par changer l'émetteur, ça "refonctionne" un temps. Je vire ensuite l'amortisseur et ça marche nickel pendant un quart d'heure avant que le récepteur ne rende l'âme... Réaction en chaîne quelque peu ennuyeuse
Arnø
Modifié en dernier par Arnø le 06/03/2016 9:30, modifié 1 fois.
« On ne règle pas un problème en utilisant le système de pensée qui l'a engendré »
Re: Pédale d'embrayage molle. [pas résolu en fait...]
Salut Arno
Est ce que tu as ouvert l'amortisseur pour voir dans quelle état il était ?(J'ai le même disco que toi )
Cordialement
Est ce que tu as ouvert l'amortisseur pour voir dans quelle état il était ?(J'ai le même disco que toi )
Cordialement
Re: Pédale d'embrayage molle. [pas résolu en fait...]
Salut, j'avoue ne pas avoir pris la peine de le faire.
Il est au rebut dans ma caisse où je stocke toutes le vieilles pièces "au cas où".
A l'occasion, je prendrais la peine de l'ouvrir si tu veux.
En tout cas après son retrait la purge s'est faite sans souci (plus de bulles à rallonge, la différence était flagrante alors que je pensais que c'était "normal" avant son retrait, il devait donc y avoir une prise d'air quelque part) mais le récepteur n'a visiblement pas aimé
Il est au rebut dans ma caisse où je stocke toutes le vieilles pièces "au cas où".
A l'occasion, je prendrais la peine de l'ouvrir si tu veux.
En tout cas après son retrait la purge s'est faite sans souci (plus de bulles à rallonge, la différence était flagrante alors que je pensais que c'était "normal" avant son retrait, il devait donc y avoir une prise d'air quelque part) mais le récepteur n'a visiblement pas aimé
« On ne règle pas un problème en utilisant le système de pensée qui l'a engendré »