Questions de viscocoupleur...
					Règles du forum
En naviguant sur le site http://www.landroverfaq.com vous reconnaissez avoir lu ses Conditions d’Utilisation, vous déclarez les comprendre et vous acceptez d’y être lié de manière inconditionnelle. Si tel n'est pas le cas, merci de quitter immédiatement ce site.
Vous pouvez joindre autant d'images que nécessaire à vos messages A LA CONDITION EXPRESSE d'utiliser l'hébergement fourni par le site.
L'administrateur effacera systématiquement tout message contenant des photos hébergées chez Imageschack, Casimage, Wistiti ou tout autre hébergeur tiers sans sommation ni justification.
	En naviguant sur le site http://www.landroverfaq.com vous reconnaissez avoir lu ses Conditions d’Utilisation, vous déclarez les comprendre et vous acceptez d’y être lié de manière inconditionnelle. Si tel n'est pas le cas, merci de quitter immédiatement ce site.
Vous pouvez joindre autant d'images que nécessaire à vos messages A LA CONDITION EXPRESSE d'utiliser l'hébergement fourni par le site.
L'administrateur effacera systématiquement tout message contenant des photos hébergées chez Imageschack, Casimage, Wistiti ou tout autre hébergeur tiers sans sommation ni justification.
- Mauresque
 - Webmaster
 - Messages : 3825
 - Enregistré le : 06/05/2004 12:53
 - Localisation : Caromb, Vaucluse (84)
 - Contact :
 
Nan, regardez l'explication de David sur le fonctionnement du visco : deux roues à aubes opposées, l'une projette le liquide sur l'autre ce qui crée un accouplement visqueux entre les deux.
En fonction de la chaleur dégagée par le radiateur, un ressort bilame commande un système qui actionne un disque qui occulter l'une des deux roues pour que l'accouplement puisse se faire ou pas.
L'accouplement des deux roues du visco ne résulte pas d'une chauffe du liquide qui se figerait, mais d'une projection de liquide d'une roue sur l'autre...
Quand le visco est totalement froid, le liquide assez visqueux ne "glisse" pas bien, et occasionne une certaine résistance. Quand le visco est chaud, le liquide n'a plus de retenue.
			
			
									
									En fonction de la chaleur dégagée par le radiateur, un ressort bilame commande un système qui actionne un disque qui occulter l'une des deux roues pour que l'accouplement puisse se faire ou pas.
L'accouplement des deux roues du visco ne résulte pas d'une chauffe du liquide qui se figerait, mais d'une projection de liquide d'une roue sur l'autre...
Quand le visco est totalement froid, le liquide assez visqueux ne "glisse" pas bien, et occasionne une certaine résistance. Quand le visco est chaud, le liquide n'a plus de retenue.
In a world without walls and fences, who needs Windows and Gates ?
						Attention, j'ai bien dis qu'a froid il y avait une certaine résistance!!!Mauresque a écrit :Nan, regardez l'explication de David sur le fonctionnement du visco : deux roues à aubes opposées, l'une projette le liquide sur l'autre ce qui crée un accouplement visqueux entre les deux.
En fonction de la chaleur dégagée par le radiateur, un ressort bilame commande un système qui actionne un disque qui occulter l'une des deux roues pour que l'accouplement puisse se faire ou pas.
L'accouplement des deux roues du visco ne résulte pas d'une chauffe du liquide qui se figerait, mais d'une projection de liquide d'une roue sur l'autre...
Quand le visco est totalement froid, le liquide assez visqueux ne "glisse" pas bien, et occasionne une certaine résistance. Quand le visco est chaud, le liquide n'a plus de retenue.
A chaud, les roues se projettent tjs du liquide l'unes sur l'autre et y'a une résistance plus forte!!
Bon, y'a pas un mécano arbitre dans la salle??
P.S.: il a eu quoi mon message précédent, la "quote" c'est n'importe quoi, j'avais pas fais ca moi, c'est qui le modo/admin ici?? pan sur les doigts!!
- Mauresque
 - Webmaster
 - Messages : 3825
 - Enregistré le : 06/05/2004 12:53
 - Localisation : Caromb, Vaucluse (84)
 - Contact :
 
Mea culpa, me suis embrouillé entre citer et editerFeub a écrit :Réponse a mauresque: (j'avais cité et dis d'autres trucs mais mau y m'a tout édité/niqué mon message!!:sm13:
![]()
Dialogue de sourds.Feub a écrit :Attention, j'ai bien dis qu'a froid il y avait une certaine résistance!!!
A chaud, les roues se projettent tjs du liquide l'unes sur l'autre et y'a une résistance plus forte!!
Tu parle d'un moteur tournant, je suis d'accord avec toi.
Plus haut, j'ai écrit :
. moteur froid & arrêté, il doit il y avoir une légère résistance à la rotation, car vu la viscosité du liquide froid, le visco ne glisse pas complètement.
. moteur chaud & arrêté, le visco ne doit plus présenter de résistance.
Je te parle de la résistance moteur arrêté mais chaud, lors du controle.
In a world without walls and fences, who needs Windows and Gates ?
						Et je t'en veux a mort, t'as pas idée...Mauresque a écrit :Mea culpa, me suis embrouillé entre citer et editer
Non, je parles d'un moteur arrêté aussi!!Mauresque a écrit :Tu parle d'un moteur tournant, je suis d'accord avec toi.
Moteur tournant, y'a plus de doigts..
Pourquoi la résistance changerai entre moteur tournant et arreté....?
- africastef
 - Habitué
 - Messages : 673
 - Enregistré le : 22/07/2004 22:59
 
oh bein desolé d'avoir foutu la zizani avec mon histoire de visco  
 
C'est quoi alors la reponse ?
Pour mon cas, a froid, je peux le tourne, avec une resistance.
A chaud, j'ai oublié et la fait froid dehors....
Vite, vite un specialiste visco.
On peut peut etre ouvrir un sujet sur le visco pour pas poluer celui sur le calorstat
@plus
			
			
									
									
						C'est quoi alors la reponse ?
Pour mon cas, a froid, je peux le tourne, avec une resistance.
A chaud, j'ai oublié et la fait froid dehors....
Vite, vite un specialiste visco.
On peut peut etre ouvrir un sujet sur le visco pour pas poluer celui sur le calorstat
@plus
bon ben moi avec mon problème de visco hs et ventilo embrayé en permanence, peut être que je vais mettre tout le monde d'accord
normalement moteur froid et arrêté on tourne avec une faible résistance le ventilo
moteur chaud et arrêté ca va de possible mais difficile à quasi impossible
avec mon visco hs, il était tout simplement impossible de tourner le ventilo (perso avec mes petits bras j'arrive pas encore à entrainer un TD5 via le ventilo) et ce, moteur froid et chaud
 
le bruit du ventilo déjà au ralenti alors à 3000tr/min imaginez un peu!
s'ajoutait au TD5+aux BF Mud+à la transmission tout en étant parfaitement audible......
perso j'ai jamais entendu de ventilo électrique faire autant de bruit d'air, même de dimension légèrement supérieure
c'est clair que le débit ne peut pas être comparé!
A+
			
			
									
									
						normalement moteur froid et arrêté on tourne avec une faible résistance le ventilo
moteur chaud et arrêté ca va de possible mais difficile à quasi impossible
avec mon visco hs, il était tout simplement impossible de tourner le ventilo (perso avec mes petits bras j'arrive pas encore à entrainer un TD5 via le ventilo) et ce, moteur froid et chaud
le bruit du ventilo déjà au ralenti alors à 3000tr/min imaginez un peu!
s'ajoutait au TD5+aux BF Mud+à la transmission tout en étant parfaitement audible......
perso j'ai jamais entendu de ventilo électrique faire autant de bruit d'air, même de dimension légèrement supérieure
c'est clair que le débit ne peut pas être comparé!
A+
- Gabach
 - Habitué
 - Messages : 1180
 - Enregistré le : 20/07/2004 17:12
 - Localisation : Grands Causses, Pays Templier
 
Récapitulatif
Bon, ce que j'ai compris:
Le visco-coupleur de ventilateur ne contient pas d'huile siliconé, en conséquence son fonctionnement est différent d'un visco-coupleur de différenciel ! (Feub
 )
Il contient donc une huile type dexron, "comme un convertisseur hydraulique" (sic)
Pour la panne type de cet important organe, Manu sur son Td5, ma pomme sur mon Patrol puis mon GR, avons connu la panne "ventilo engrené en permanence", ce qui est la bonne option, car préserve le moteur.
Un RR3.9 ltrs a connu la panne inverse, la mauvaise panne : Visco qui n'engrène plus, mise en péril du moteur
 
Si quelqu'un pouvait m'expliquer le pourquoi du comment, je lui en serait éternellement reconnaissant
 
Le petit ressort en spirale peut casser, perdre ses propriétes mécanique, et donc ne pas faire faire le quart de tour au disque masquant la roue aubes
 
Dans le cas de panne "sécurisée", la casse du ressort libérerait elle le disque, qui, n'étant plus retenu, tomberais en position d'ouverture de la projection d'huile sur la roue a aubes
 
Merçi de vos lumières
			
			
									
									
						Le visco-coupleur de ventilateur ne contient pas d'huile siliconé, en conséquence son fonctionnement est différent d'un visco-coupleur de différenciel ! (Feub
Il contient donc une huile type dexron, "comme un convertisseur hydraulique" (sic)
Pour la panne type de cet important organe, Manu sur son Td5, ma pomme sur mon Patrol puis mon GR, avons connu la panne "ventilo engrené en permanence", ce qui est la bonne option, car préserve le moteur.
Un RR3.9 ltrs a connu la panne inverse, la mauvaise panne : Visco qui n'engrène plus, mise en péril du moteur
Si quelqu'un pouvait m'expliquer le pourquoi du comment, je lui en serait éternellement reconnaissant
Le petit ressort en spirale peut casser, perdre ses propriétes mécanique, et donc ne pas faire faire le quart de tour au disque masquant la roue aubes
Dans le cas de panne "sécurisée", la casse du ressort libérerait elle le disque, qui, n'étant plus retenu, tomberais en position d'ouverture de la projection d'huile sur la roue a aubes
Merçi de vos lumières
Il y a une explication extrêmement détaillée de son fonctionnement dans (entre autres) le manuel du Defender TD5, au moins la deuxième édition.
Il y a une explication semblable quelque part sur le site de Borg Warner Automotive, au format pdf (lien perdu). En gros, uin bilame commande la circulation de plus ou moins de fluide qui couple moyeu et axe. (de mémoire. Je relirai ce soir après remontage des amortos).
Il y a aussi un site perso Porsche qui décrit la restauration du viscofan d'une 928 (?) avec le silicone vendu à cet usage par... Toyota !!! certains viscosfans Toyota sont reconditionnables !
Au passage, on lit souvent que le fluide silicone d'un visco coupleur de transmission ou ventilateur voit sa viscosité augmenter avec "l'échauffement", ou des bourdes de ce genre. Faux ! Archi faux ! Contraire à toutes les lois de la physique ! La viscosité d'un fluide diminue avec la température. Elle augmente avec son "agitation", du moins pour un fluide visco élastique, c'est à dire la plupart (exceptions notables : le Slime, le ketchup, qui sont dits non visco élastiques : ils sont fluidifiés en les agitant, les amateurs de hamburgers le savent bien). Ce qui explique que le glissement tende à être limité pour de fortes différences de vitesse. D'où le nom du dispositif "glissement limité". Rien à voir avec la température dudit fluide !
			
			
									
									Il y a une explication semblable quelque part sur le site de Borg Warner Automotive, au format pdf (lien perdu). En gros, uin bilame commande la circulation de plus ou moins de fluide qui couple moyeu et axe. (de mémoire. Je relirai ce soir après remontage des amortos).
Il y a aussi un site perso Porsche qui décrit la restauration du viscofan d'une 928 (?) avec le silicone vendu à cet usage par... Toyota !!! certains viscosfans Toyota sont reconditionnables !
Au passage, on lit souvent que le fluide silicone d'un visco coupleur de transmission ou ventilateur voit sa viscosité augmenter avec "l'échauffement", ou des bourdes de ce genre. Faux ! Archi faux ! Contraire à toutes les lois de la physique ! La viscosité d'un fluide diminue avec la température. Elle augmente avec son "agitation", du moins pour un fluide visco élastique, c'est à dire la plupart (exceptions notables : le Slime, le ketchup, qui sont dits non visco élastiques : ils sont fluidifiés en les agitant, les amateurs de hamburgers le savent bien). Ce qui explique que le glissement tende à être limité pour de fortes différences de vitesse. D'où le nom du dispositif "glissement limité". Rien à voir avec la température dudit fluide !
RRVM de 90 / Vive la bidouille ! Et pourquoi faire simple quand on peut faire compliqué ?"Les RANGES ou les LANDS c'est comme les filles ,y a toujours un endroit ou t'appuie qui les font pleurer" (bobflappy, le 24 juin 2003 après JC)
						- The Pater
 - Modérateur
 - Messages : 13948
 - Enregistré le : 25/08/2004 8:19
 - Localisation : 06°27'46"E 45°50'29"N
 
Demain, je vais faire l'effort (vous avez le droit de m'insulter si je ne le fait pas), de mettre sur ce site l'explication du fonctionnement du ventilo/visco du 300 tdi avec les deux dessins qui sont dans le manuel d'atelier du Def 300 Tdi.
je ferai une traduction sans ajouts....
La plus important c'est quand même les deux dessins.
Je me permet de faire une remarque à la dernière intervention de j.f.
En effet, ce n'est pas l'échauffement du huile (à base de silicone) dans les viscocoupleurs (en général, transmission plus particulièrement, basés sur les brevets de la Ste Fergusson en 1954) qui fait qu'il y a augmentation de la viscosité, puis entrainement des disques du viscocoupleurs. L'amalgamme vient du fait qu'il y a augmentation de la température lors du "fonctionnement" du viscocoupleur.
C'est principalement la différence de vitesse entre les disques du viscocoupleur. les disques étant assez près des uns des autres créent un cisaillement dans le fluide entourant ces disques. Or les fluides non Newtonien voient leur viscosité augmenter avec le cisaillement. C'est ce qui se passe.
Mais rien n'est simple :
A cause du cisaillement, l'huile s'échauffe, sa viscosité diminue, et le couple transmis entre les disques diminue.....mais .....la pression augmentant (à cause de la température), la viscosité de l'huile augmente (l'influence de la pression augmente plus vite que l'influence de la température) et le couple transmis entre les disques augmente......et un café s'il vous plait...le couple étant important, la différence de vitesse entre les disques diminue, le cisaillement diminue et la température......avec un sucre le café....aussi. C'est la fin si les roues ont toutes la même adhérence par la suite mais l'histoire recommence si ce n'est pas le cas...vous suivez...moi j'ai déjà oublié le début.
A+
			
			
									
									je ferai une traduction sans ajouts....
La plus important c'est quand même les deux dessins.
Je me permet de faire une remarque à la dernière intervention de j.f.
En effet, ce n'est pas l'échauffement du huile (à base de silicone) dans les viscocoupleurs (en général, transmission plus particulièrement, basés sur les brevets de la Ste Fergusson en 1954) qui fait qu'il y a augmentation de la viscosité, puis entrainement des disques du viscocoupleurs. L'amalgamme vient du fait qu'il y a augmentation de la température lors du "fonctionnement" du viscocoupleur.
C'est principalement la différence de vitesse entre les disques du viscocoupleur. les disques étant assez près des uns des autres créent un cisaillement dans le fluide entourant ces disques. Or les fluides non Newtonien voient leur viscosité augmenter avec le cisaillement. C'est ce qui se passe.
Mais rien n'est simple :
A cause du cisaillement, l'huile s'échauffe, sa viscosité diminue, et le couple transmis entre les disques diminue.....mais .....la pression augmentant (à cause de la température), la viscosité de l'huile augmente (l'influence de la pression augmente plus vite que l'influence de la température) et le couple transmis entre les disques augmente......et un café s'il vous plait...le couple étant important, la différence de vitesse entre les disques diminue, le cisaillement diminue et la température......avec un sucre le café....aussi. C'est la fin si les roues ont toutes la même adhérence par la suite mais l'histoire recommence si ce n'est pas le cas...vous suivez...moi j'ai déjà oublié le début.
A+
Ingénieur :
Personne faisant un travail divinatoire de précision basé sur des informations peu fiables données par des personnes peu qualifiées, voire ignorantes.
=>, magicien, devin, sorcier
						Personne faisant un travail divinatoire de précision basé sur des informations peu fiables données par des personnes peu qualifiées, voire ignorantes.
=>, magicien, devin, sorcier
- africastef
 - Habitué
 - Messages : 673
 - Enregistré le : 22/07/2004 22:59
 
donc, apres la theorie, la pratique : le ventilo doit t'il tourner librement le matin, moteur froid, et ne pas tourner librement le soir a chaud (moteur eteint bien sur !)
Le miens tourne, meme en ce moment, le matin.
Je suis pas allé verifier si je pouvais le retenir, j'ai que 10 doigts et ils me servent tous.
Et a chaud, j'ai l'impression qu'il tourne pas forcement plus vite.
Comprend de moins en moins ce bazard moi
 
@plus
			
			
									
									
						Le miens tourne, meme en ce moment, le matin.
Je suis pas allé verifier si je pouvais le retenir, j'ai que 10 doigts et ils me servent tous.
Et a chaud, j'ai l'impression qu'il tourne pas forcement plus vite.
Comprend de moins en moins ce bazard moi
@plus
- Gabach
 - Habitué
 - Messages : 1180
 - Enregistré le : 20/07/2004 17:12
 - Localisation : Grands Causses, Pays Templier
 
Mildedieu!
aaaaaaaaaaahhhhhhhhhhhhhhhhh
Un efféralgan dans le café, merçi!!!
 
Ben la au moins, j'ai progressé, j'ai compris que rien n'est simple!
 
Merçi
			
			
									
									
						Un efféralgan dans le café, merçi!!!
Ben la au moins, j'ai progressé, j'ai compris que rien n'est simple!
Merçi
- Gabach
 - Habitué
 - Messages : 1180
 - Enregistré le : 20/07/2004 17:12
 - Localisation : Grands Causses, Pays Templier
 
Il est mort ton bazard !!!!!africastef a écrit :
Le miens tourne, meme en ce moment, le matin.
Je suis pas allé verifier si je pouvais le retenir, j'ai que 10 doigts et ils me servent tous.
Et a chaud, j'ai l'impression qu'il tourne pas forcement plus vite.
@plus
A combien de kilomètres STP ,
Et si Manu nous lit, a combien de kilomètres ton viscofan t'a laché ?
- The Pater
 - Modérateur
 - Messages : 13948
 - Enregistré le : 25/08/2004 8:19
 - Localisation : 06°27'46"E 45°50'29"N
 
Gabach,
Tout comme africastef, mon ventilo (300Tdi) tourne tout le temps, à froid comme à chaud. Cela a tout le temps été le cas (je l'ai acheté neuf en 1996).
Je ne pense pas que le viscocoupleur soit mort, je pense sincèrement qu'il existe un couple de frottement entre la partie entraînée par la courroie et la partie supportant le ventilo.
Je ne m'avancerai pas trop sur le frottement probable dans le visco en fonction de la position du fluide. Je verrez pourquoi ce soir quand j'aurai mis les deux dessins du manuel d'atelier sur ce site.
Mais, en parlant seulement du roulement, de son frottement interne, et de l'étanchéité frottante du roulement, il est évident pour moi qu'à cause du faible couple résistant du ventilo à basse vitesse, ce dernier soit entraîné et rotation.
Je suppose, je n'affirme pas, qu'à froid le ventilo est entraîné, au moins, par le frottement existant dans le roulement et l'étanchéité. Tant que la vitesse d'entraînement est faible, le couple résistant au niveau du ventilo est faible et donc la différence de vitesse entre l'entraînement et le ventilo est faible (tout est relatif), mais existe.
Si le moteur prend des tours, l'entraînement du visco aussi...mais le ventilo, s'il prend des tours va créer un couple résistant. Ce couple résistant étant supérieur au couple d'entraînement (roulement et étanchéité, pour ne prendre qu'eux), la vitesse de rotation du ventilo ne suivra pas l'augmentation du régime moteur.
Donc à froid, le ventilo tourne, mais ne débite que peu. A la limite, on pourrait l'arrêter à la main.....je vais essayer....en mettant des gants....euh, je fais d'abord essayer avec un morceau de bois....
A chaud, au delà d'une certaine température, le passage du fluide entre le deux disques du visco force le ventilo à tourner en fonction du régime moteur, donc à débiter plus quand le régime moteur augmente, et cela jusqu'à une certaine valeure limitée par le glissement existant dans le viscocoupleur.
Je me trompe ?
A froid (ou tiède) comme à chaud, au régime du ralenti du moteur, le ventilo ne débitant peu a un faible couple résistant, d'où il suit le mouvement. On "voit" alors qu'il tourne à la même vitesse à chaud comme à froid. Ce que je remarque. Ce que africastef remarque.
Par contre si on accèlère le moteur, radiateur froid ou tiède mais le moteur tournant depuis un certain temps, on ne doit pas voir le ventilo prendre des tours et débiter comme c'est le cas radiateur chaud.
Ce soir je fais le test !
A+
			
			
									
									Tout comme africastef, mon ventilo (300Tdi) tourne tout le temps, à froid comme à chaud. Cela a tout le temps été le cas (je l'ai acheté neuf en 1996).
Je ne pense pas que le viscocoupleur soit mort, je pense sincèrement qu'il existe un couple de frottement entre la partie entraînée par la courroie et la partie supportant le ventilo.
Je ne m'avancerai pas trop sur le frottement probable dans le visco en fonction de la position du fluide. Je verrez pourquoi ce soir quand j'aurai mis les deux dessins du manuel d'atelier sur ce site.
Mais, en parlant seulement du roulement, de son frottement interne, et de l'étanchéité frottante du roulement, il est évident pour moi qu'à cause du faible couple résistant du ventilo à basse vitesse, ce dernier soit entraîné et rotation.
Je suppose, je n'affirme pas, qu'à froid le ventilo est entraîné, au moins, par le frottement existant dans le roulement et l'étanchéité. Tant que la vitesse d'entraînement est faible, le couple résistant au niveau du ventilo est faible et donc la différence de vitesse entre l'entraînement et le ventilo est faible (tout est relatif), mais existe.
Si le moteur prend des tours, l'entraînement du visco aussi...mais le ventilo, s'il prend des tours va créer un couple résistant. Ce couple résistant étant supérieur au couple d'entraînement (roulement et étanchéité, pour ne prendre qu'eux), la vitesse de rotation du ventilo ne suivra pas l'augmentation du régime moteur.
Donc à froid, le ventilo tourne, mais ne débite que peu. A la limite, on pourrait l'arrêter à la main.....je vais essayer....en mettant des gants....euh, je fais d'abord essayer avec un morceau de bois....
A chaud, au delà d'une certaine température, le passage du fluide entre le deux disques du visco force le ventilo à tourner en fonction du régime moteur, donc à débiter plus quand le régime moteur augmente, et cela jusqu'à une certaine valeure limitée par le glissement existant dans le viscocoupleur.
Je me trompe ?
A froid (ou tiède) comme à chaud, au régime du ralenti du moteur, le ventilo ne débitant peu a un faible couple résistant, d'où il suit le mouvement. On "voit" alors qu'il tourne à la même vitesse à chaud comme à froid. Ce que je remarque. Ce que africastef remarque.
Par contre si on accèlère le moteur, radiateur froid ou tiède mais le moteur tournant depuis un certain temps, on ne doit pas voir le ventilo prendre des tours et débiter comme c'est le cas radiateur chaud.
Ce soir je fais le test !
A+
Ingénieur :
Personne faisant un travail divinatoire de précision basé sur des informations peu fiables données par des personnes peu qualifiées, voire ignorantes.
=>, magicien, devin, sorcier
						Personne faisant un travail divinatoire de précision basé sur des informations peu fiables données par des personnes peu qualifiées, voire ignorantes.
=>, magicien, devin, sorcier
- Gabach
 - Habitué
 - Messages : 1180
 - Enregistré le : 20/07/2004 17:12
 - Localisation : Grands Causses, Pays Templier
 
Si j'ai bien compris !
Ne perds pas de temps, ce soir tu doit:The Pater a écrit : Je verrez pourquoi ce soir quand j'aurai mis les deux dessins du manuel d'atelier sur ce site.
Ce soir je fais le test !
A+
- Mettre les crobards sur le site.
- Essayer de te couper les doigts avec un morceaux de bois portant des gants.
Bon alors traine pas au bural cet aprem
Imagine que le ventilo ne soit pas entraîné à froid...
Imagine que le moteur soit sur un véhicule restant un certain temps à l'arrêt, ou mieux sur un moteur statique.
Le moteur est démarré. Il monte en température, le calorstat s'ouvre, etc.
Mais le ventilo ne tourne pas... Alors jamais le viscoventilateur ne recevra "d'information" sur la température de l'air traversant le radia. Donc jamais le radiateur ne sera ventilé, et son efficacité sera considérablement réduite. Le moteur surchauffe et casse.
Et que personne ne rigole. Un jour, une connaissance avait oublié sa Golf CTI (ça nous rajeunit pas) dans sone garage à La Tontouta (aéroport de Nouméa). C'était l'été. Il faisait chaud. Le moteur était un peu fatigué comme peuvent l'être les moteurs calédonniens, et le véhicule, d'occasion, avait bénéficié d'un entretien local. Pas à l'africaine, hein, à la calédonnienne ! il doit tourner correctement juste le jour de la vente. Ensuite, no probleme pour le vendeur, le fonctionnaire se barre au bout de deux ou trois ans, et la procédure en justice n'aura même pas commencé... En plus l'avocat est forcément le beau frère ou la petite amie du vendeur, et le procureur son cousin...
Ben, il a fumé, son moulbif. Il a fallu moins d'une heure...
Cette démonstration par l'absurde permet de comprendre facilement pourquoi le ventilateur doit toujours être un peu entraîné. Ce n'est pas seulement pour une raison de forttements parasites, c'est une question de vie ou de mort.
CQFD
A froid, le visco est assez libre, mais oppose une petite résistance; il faut le faire tourner dans le bon sens. Il ne doit pas y avoir une grande résistance, c'est une sensation de frottement gras. Il doit tourner régulièrement. Au bout de quelques tours, on le sent un peu plus libre.
S'il "accroche", ou est totalement libre, no good. S'il résiste beaucoup, il est bloqué, c'est moindre mal, sauf pour le roulement de pompe à eau si le viscofan est sur la pompe à eau.
			
			
									
									Imagine que le moteur soit sur un véhicule restant un certain temps à l'arrêt, ou mieux sur un moteur statique.
Le moteur est démarré. Il monte en température, le calorstat s'ouvre, etc.
Mais le ventilo ne tourne pas... Alors jamais le viscoventilateur ne recevra "d'information" sur la température de l'air traversant le radia. Donc jamais le radiateur ne sera ventilé, et son efficacité sera considérablement réduite. Le moteur surchauffe et casse.
Et que personne ne rigole. Un jour, une connaissance avait oublié sa Golf CTI (ça nous rajeunit pas) dans sone garage à La Tontouta (aéroport de Nouméa). C'était l'été. Il faisait chaud. Le moteur était un peu fatigué comme peuvent l'être les moteurs calédonniens, et le véhicule, d'occasion, avait bénéficié d'un entretien local. Pas à l'africaine, hein, à la calédonnienne ! il doit tourner correctement juste le jour de la vente. Ensuite, no probleme pour le vendeur, le fonctionnaire se barre au bout de deux ou trois ans, et la procédure en justice n'aura même pas commencé... En plus l'avocat est forcément le beau frère ou la petite amie du vendeur, et le procureur son cousin...
Ben, il a fumé, son moulbif. Il a fallu moins d'une heure...
Cette démonstration par l'absurde permet de comprendre facilement pourquoi le ventilateur doit toujours être un peu entraîné. Ce n'est pas seulement pour une raison de forttements parasites, c'est une question de vie ou de mort.
CQFD
A froid, le visco est assez libre, mais oppose une petite résistance; il faut le faire tourner dans le bon sens. Il ne doit pas y avoir une grande résistance, c'est une sensation de frottement gras. Il doit tourner régulièrement. Au bout de quelques tours, on le sent un peu plus libre.
S'il "accroche", ou est totalement libre, no good. S'il résiste beaucoup, il est bloqué, c'est moindre mal, sauf pour le roulement de pompe à eau si le viscofan est sur la pompe à eau.
RRVM de 90 / Vive la bidouille ! Et pourquoi faire simple quand on peut faire compliqué ?"Les RANGES ou les LANDS c'est comme les filles ,y a toujours un endroit ou t'appuie qui les font pleurer" (bobflappy, le 24 juin 2003 après JC)
						- The Pater
 - Modérateur
 - Messages : 13948
 - Enregistré le : 25/08/2004 8:19
 - Localisation : 06°27'46"E 45°50'29"N
 
Message édité le 10/02/05 pour enlever la partie pas très responsable de ma part.
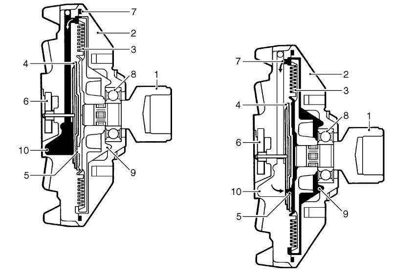
Bon, voici les deux dessins :
1. Axe d'entrainement
2. Partie entraînée sur laquelle vient se fixer le ventilo
3. Jeu entre les deux disques au niveau des rainures annulaires des deux disques
4. Plaque d'obturation des orifices ou plaque à clapets ou distributeur
5. Orifice de passage ou valve
6. bobine bilame ou bilame en forme de spiral
7. Orifice de retour dans le dessin de droite (??? dans le dessin de gauche)
8.Roulement
9. Chambre
10. Réservoir
Le moteur à l'arrêt, le liquide siliconé se réparti entre la chambre (9) et le réservoir (10) via l'orifice de retour.
Au démarrage du moteur, le liquide dans les rainures (3) des deux disques est cisaillé et de ce fait, comme dans le viscocoupleur Fergusson, le disque d'entrée entraîne par "frottement visqueux" le disque de sortie sur lequel est fixé le ventilo. Cela provoque le fonctionnement initial du ventilateur au cours de la mise en marche du moteur. Mais, à cause de la forme des disques, il y a un effet de pompage de la chambre vers le réservoir.
Si le bilame n'est pas chauffé suffisament, la plaque (4) obstrue l'orifice de passage (5) et le liquide rempli le réservoir. Il n'y a plus de liquide dans les rainures (3) et donc (1) n'entraine plus (2). Seul les frottement interne au roulement et aux étanchéités font que le ventilateur tourne. Si (1) augmente ne régime (le moteur prend des tours), (2) ne suivra pas à cause du couple résistant au niveau du ventilo (il faut de la puissance pour faire débiter un ventilo, donc du couple).
Bon d'accord, le ventilo va prend quelques tours, mais cela sera sans commune mesure avec l'augmentation des tours moteur.
Par contre si le bilame est chauffé suffisament, la plaque (4) subie une rotation qui découvre les orifices (5) de passage. Le liquide peut alors retourner du réservoir à la chambre. L'effet de pompage et la force centrifuge force le liquide à passer entre les deux disques, au niveau des rainures (3). Nous avons alors entraînement de (2) par (1) à cause du principe de fonctionnement du viscocoupleur Fergusson décrit hier. le ventilateur est donc bien entraîné par le moteur (aux glissements près).
Si la température redescend, la plaque 4 obstrue l'orifice (5) et la chambre se vide par effet de pompage.
On note que :
1) si le roulement se détériore, (1) entraînera (2)...ouf
2) si le liquide s'échappe par mauvaise étanchéité, le ventilo ne sera pas entraîné par le moteur, même en cas de surchauffe. Problème.
A+
			
			
													Bon, voici les deux dessins :
1. Axe d'entrainement
2. Partie entraînée sur laquelle vient se fixer le ventilo
3. Jeu entre les deux disques au niveau des rainures annulaires des deux disques
4. Plaque d'obturation des orifices ou plaque à clapets ou distributeur
5. Orifice de passage ou valve
6. bobine bilame ou bilame en forme de spiral
7. Orifice de retour dans le dessin de droite (??? dans le dessin de gauche)
8.Roulement
9. Chambre
10. Réservoir
Le moteur à l'arrêt, le liquide siliconé se réparti entre la chambre (9) et le réservoir (10) via l'orifice de retour.
Au démarrage du moteur, le liquide dans les rainures (3) des deux disques est cisaillé et de ce fait, comme dans le viscocoupleur Fergusson, le disque d'entrée entraîne par "frottement visqueux" le disque de sortie sur lequel est fixé le ventilo. Cela provoque le fonctionnement initial du ventilateur au cours de la mise en marche du moteur. Mais, à cause de la forme des disques, il y a un effet de pompage de la chambre vers le réservoir.
Si le bilame n'est pas chauffé suffisament, la plaque (4) obstrue l'orifice de passage (5) et le liquide rempli le réservoir. Il n'y a plus de liquide dans les rainures (3) et donc (1) n'entraine plus (2). Seul les frottement interne au roulement et aux étanchéités font que le ventilateur tourne. Si (1) augmente ne régime (le moteur prend des tours), (2) ne suivra pas à cause du couple résistant au niveau du ventilo (il faut de la puissance pour faire débiter un ventilo, donc du couple).
Bon d'accord, le ventilo va prend quelques tours, mais cela sera sans commune mesure avec l'augmentation des tours moteur.
Par contre si le bilame est chauffé suffisament, la plaque (4) subie une rotation qui découvre les orifices (5) de passage. Le liquide peut alors retourner du réservoir à la chambre. L'effet de pompage et la force centrifuge force le liquide à passer entre les deux disques, au niveau des rainures (3). Nous avons alors entraînement de (2) par (1) à cause du principe de fonctionnement du viscocoupleur Fergusson décrit hier. le ventilateur est donc bien entraîné par le moteur (aux glissements près).
Si la température redescend, la plaque 4 obstrue l'orifice (5) et la chambre se vide par effet de pompage.
On note que :
1) si le roulement se détériore, (1) entraînera (2)...ouf
2) si le liquide s'échappe par mauvaise étanchéité, le ventilo ne sera pas entraîné par le moteur, même en cas de surchauffe. Problème.
A+
					Modifié en dernier par The Pater le 17/05/2009 16:11, modifié 2 fois.
									
			
									Ingénieur :
Personne faisant un travail divinatoire de précision basé sur des informations peu fiables données par des personnes peu qualifiées, voire ignorantes.
=>, magicien, devin, sorcier
						Personne faisant un travail divinatoire de précision basé sur des informations peu fiables données par des personnes peu qualifiées, voire ignorantes.
=>, magicien, devin, sorcier