Je reviens un instant sur ce sujet, en bon enc... de

, car j'étais resté sur ma faim à propos de ce sujet...
Je viens de réviser entièrement deux moteurs Diesel basiques, ce qui m'a évidemment inspiré

:
F8M 720 (moteur 1 600 cm3 monté sur les Super5 et Express)
Xud 7 (l'indestructible moteur 1 800 cm3 des 205 et certaines 306).
Je leur ai fait un lifting à ma sauce et me suis particulièrement attardé sur la question du serrage de la culasse. J'ai utilisé mes fidèles outils de fabrication locale, qui me permettent de travailler avec une bonne précision. Je n'utilise notamment pas de clé dynamométrique à déclenchement, insuffisamment précise pour ce type d'investigations.
Vis et rondelles étaient correctement lubrifiées avec un mélange de graisse graphitée et de graisse Belleville que j'utilise depuis des lustres.
Voici le protocole constructeur pour le F8M (vis emprunte Torx, nuance d'acier "10.9") :
- phase 1 : serrage à 30 N.m
phase 2 : serrage à 70 N.m
phase 3 : attendre 3 minutes. Desserrer entièrement les vis jusqu'à les libérer totalement
phase 4 : serrage à 20 N.m
phase 5 : serrage à 123° +/- 2°
Et voici celui du Xud 7 (vis emprunte Torx, mêmes dimensions que le F8M, mais nuance d'acier "8.8") :
- phase 1 : serrage à 20 N.m
phase 2 : serrage à 60 N.m
phase 3 : serrage à 180°
Le comportement au serrage des vis du F8M correspond parfaitement à la description du serrage angulaire en phase élastique décrit par le Pater : l'effort croît proportionnellement à l'angle de serrage. Le couple obtenu à 123° semble bien converger vers la valeur de 145 N.m (fourchette relevée : 139 à 147 N.m). Le serrage total (y compris l'angle relevé sous 20 N.m) est de l'ordre de 150°. le serrage angulaire augmente donc bien sensiblement la précision du serrage.
On remarque également que la tolérance angulaire du serrage final est assez fine : +/- 2°.
En revanche, le comportement au serrage final des vis du Xud 7 ne correspond absolument pas au cas précédent. Certes, le comportement des vis est parfaitement élastique au début : sous 60 N.m, l'angle obtenu est de l'ordre de 100 à 110° et le couple croît bien proportionnellement à l'angle. En revanche, si le couple continue à croître proportionnellement à l'angle lors de la dernière phase (celle du serrage angulaire) jusqu'à atteindre un angle total de 185° (soit le cumul des 60 N.m initiaux et de l'angle pris au début de la phase de serrage angulaire) il se met ensuite à plafonner à une valeur de convergence de l'ordre de 90 N.m.
La conclusion est donc sans appel :
les vis s'allongent. On a quitté le domaine élastique.
La doc Peugeot précise que le remplacement des vis est obligatoire ; la doc Renault reste muette à ce sujet. Cela semble cohérent avec ce que l'on observe en pratique : une série de vis s'allonge et ne peut par conséquent plus être réutilisée ; pas l'autre.
En farfouillant sur le Net et notamment en explorant les liens proposés par l'ami JF, toujours soucieux d'une certaine rigueur dans ses propos, j'ai trouvé quelque chose ressemblant étrangement à ce que j'ai moi même relevé, exception faite de l'effort de traction développé par les vis que je ne peux évidemment pas mesurer, ne travaillant pas sur un banc.
Il s'agit de vis de culasse identiques à celles du Xud : classe "8.8", diamètre 12, pas 1,5 (cote millimétriques).
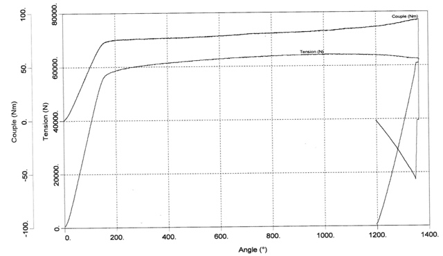
Les diagrammes angle/couple/tension, relevés au ban Christensen d'après les auteurs, sont les suivants :
et voici les valeurs numériques relevées. Je n'avais pas tout à fait les mêmes (le couple que j'ai mesuré est un peu plus élevé que celui du graphe) mais l'allure générale reste bien la même à ce que j'ai constaté de mon côté :
Je suis donc d'accord quand il est dit que le diagramme proposé par Tonton H4 est faux. En revanche, je ne suis pas d'accord lorsqu'il est dit que tout serrage doit nécessairement rester dans le domaine du comportement linéaire et élastique des vis pour être efficace.
Si on analyse la courbe de réponse des vis, on en déduit notamment :
1°) que les vis réagissent de manière beaucoup plus brutale aux variations dimensionnelles si l'assemblage fonctionne en phase élastique. En effet, entre 0 et 180°, la courbe est très raide : sa pente n'est d'ailleurs que le module d'élasticité de l'acier.
Toutefois, ce module élastique est un module apparent : c'est un subtil mélange du module en traction et en torsion.
Si la réaction des vis est brutale, tout effet parasite, quel qu'en soit l'origine, génère lui aussi dans l'assemblage des efforts plus ou moins souhaitables. Par exemple, la dilatation thermique de la culasse dans le plan vertical tend à accroître inutilement l'effort de compression sur le joint de culasse. Par conséquent, à chaque mise en température, le joint se trouve un peu plus écrasé. A chaque refroidissement, il se trouve libéré.
Je ne pense pas que ces cycles de compression/décompression soient très salutaires pour la tenue du joint.
2°) à contrario, le module d'élasticité s'étant, par définition, complètement effondré en phase plastique (le serrage angulaire
total sur le Xud atteint en effet les 280°) le comportement de l'assemblage devient beaucoup plus doux et surtout beaucoup moins dépendant des variations dimensionnelles des éléments. Les vis partiellement plastifiées ne provoquent qu'une variation modérée de l'effort de compression repris par le joint et celles du joint (notamment celles dues au fluage) sont sans effet ou presque sur le serrage de l'assemblage.
Par ailleurs, j'ai l'intime conviction que le fluage du joint et de l'aluminium de la culasse doivent certainement jouer un rôle fondamental sur la pérennité de l'assemblage ; j'ai notamment toujours été frappé, sur les Diesel à injection indirecte, par la manière dont les préchambres s'affaissaient avec le temps. Sur toutes les culasses que j'ai révisées, aucune des préchambres n'était restée à la cote d'origine : par exemple, sur le moteur Renault, il est préconisé un dépassement de 15/100 des préchambres par rapport au plan de joint (3/100 pour le Peugeot). A chaque démontage, j'ai systématiquement constaté que cette cote était au mieux nulle, au pire négative, signe que toutes ces pièces s'étaient déformées avec le temps.
Cela m'a, dans tous les cas, conduit à faire réusiner les portées des préchambres dans la culasse et/ou à passer en cote réparation pour ces préchambres et/ou à retirer un ou deux dixièmes par rectification de la culasse voire dans un cas, les trois à la fois...
La question du fluage doit être encore plus prégnante pour le joint de culasse lui même et cela doit être encore pire avec un joint fibre. D'où sans doute des préconisations de resserrage, comme par exemple avec le VM, ce que j'ignorais d'ailleurs.
Or, comme l'a très justement fait remarquer le Pater, ces resserrages sont fastidieux et longs, donc coûteux. Donc des utilisateurs ou mécaniciens indélicats ont tendance à les zapper. Le résultat est imparable. Les multiples avaries liées à une perte progressive ou brutale d'étanchéité d'un joint de culasse mériteraient un sujet à elles seules ; j'avoue avoir observé des phénomènes ahurissants dont je n'aurais pas soupçonné un seul instant l'existence...
Pour ma part, j'aurais tendance à dire qu'affirmer dans ces conditions que ces moteurs, notamment le VM, sont des daubes, est un peu trop rapide.
Notons également les 3 minutes d'attente préconisées par le protocole Renault : à quoi sert-t-il si ce n'est à absorber un premier tassement du joint?
Pour revenir à la question des pertes de serrage en phase plastique, je suis très réservé sur les effets négatifs que sous-entend cette affirmation.
Pour au moins trois raisons :
- 1°) le diagramme montre qu'aux serrages angulaires finaux habituellement pratiqués, les vis conservent une certaine élasticité (je le répète, le fait marquant est que seule la pente de la courbe de réaction à fléchi). En outre, je pense que le diagramme ne rend qu'imparfaitement compte de la réalité et qu'il faut par conséquent se garder de conclusions hâtives, notamment que la vis s'allonge de manière irréversible et excessive pouvant aller jusqu'à un début de désolidarisation de la culasse et du bloc.
Je me limiterai prudemment à parler de comportement élasto-plastique de la vis.
Car le graphe montre simplement la variation de tension que peut exercer la vis sur la pièce qu'elle serre sous un couple de serrage donné. Il serait beaucoup plus intéressant de tracer la courbe de déformation axiale de la vis ainsi serrée et que l'on soumet ensuite à un effort de traction pure et non à un couple (effort de torsion) croissant.
Par ailleurs, si l'on compare l'effort de serrage exercé par les vis de culasse à celui engendré par la combustion du gas oil dans un cylindre donné, on obtient un rapport qui ne doit pas dépasser 30% compte tenu de la rigidité en flexion de la culasse.
Je serais donc tenté de supposer que, compte tenu de sa rigidité en flexion (sur ce point, la comparaison de l'inertie en flexion des culasses du F8 et du Xu ne tourne pas à l'avantage du Renault, mais je suppose qu'il existe une certaine cohérence entre le choix des vis et de leur mode de fonctionnement, des couples de serrage et la rigidité des pièces à assembler), la culasse se comporte probablement comme une poutre dont la rigidité doit permettre de reporter l'effort généré par la combustion sur la quasi totalité des 10 vis d'assemblage et non sur les seules 4 vis adjacentes au cylindre concerné.
Autant de possibles qui doivent conduire à relativiser les conséquences possibles d'une déformation élasto-plastique des vis sur la tenue de l'assemblage.
2°) toujours en ce qui concerne l'effet des combustions sur la tenue des assemblages, j'ai également la conviction que l'acier des vis subissant un écrouissage, il doit en résulter une consolidation de leur élasticité résiduelle dès que l'effort est relâché. Le nombre de cycles d'efforts ondulés que connaît une culasse durant sa vie ne me semble donc pas particulièrement préjudiciable de ce point de vue.
Après tout, il ne s'agit que d'un procédé métallurgique courant : c'est bien par écrouissage qu'on relève la limite élastique des aciers en béton armé (procédés Tor, Tentor etc.).
3°) l'effort de compression exercé par un montage en phase plastique peut être minoré ; si on extrapole les valeurs relevées au banc à des vis de classe 10, on en déduit que le joint du moteur Renault est soumis à un effort initial supérieur d'au moins 40% à celui du Peugeot. Un examen attentif des joints de culasse montre que celui du Renault présente des signes de fatigue plus importants que celui du Peugeot. Le montage Peugeot permet probablement de serrer moins et mieux.
D'ailleurs, de l'avis des mécanos de mon entourage, les joints de culasse des 205 tenaient mieux que ceux des Super5...
Je sais que le mien (Renault) a obstinément tendance à sauter entre 150 et 250 000 km ; nombre de 205 atteignent les 4/500 000 km sans avoir claqué le moindre joint...
Ma conclusion est donc la suivante : au travers des montages à fort angle de serrage angulaire (180 à 270° de serrage final complétant un serrage initial de l'ordre de 60/70 N.m), il est bien recherché -et probablement obtenu- une plus grand stabilité des assemblages par diminution du module de réaction des vis aux efforts de traction et aux variations dimensionnelles parasites.
Voili, voilu.