Bravo l'hellène, et en plus dans la bonne humeur
Defender : réfection du radiateur de chauffage
Règles du forum
En naviguant sur le site http://www.landroverfaq.com vous reconnaissez avoir lu ses Conditions d’Utilisation, vous déclarez les comprendre et vous acceptez d’y être lié de manière inconditionnelle. Si tel n'est pas le cas, merci de quitter immédiatement ce site.
Vous pouvez joindre autant d'images que nécessaire à vos messages A LA CONDITION EXPRESSE d'utiliser l'hébergement fourni par le site.
L'administrateur effacera systématiquement tout message contenant des photos hébergées chez Imageschack, Casimage, Wistiti ou tout autre hébergeur tiers sans sommation ni justification.
En naviguant sur le site http://www.landroverfaq.com vous reconnaissez avoir lu ses Conditions d’Utilisation, vous déclarez les comprendre et vous acceptez d’y être lié de manière inconditionnelle. Si tel n'est pas le cas, merci de quitter immédiatement ce site.
Vous pouvez joindre autant d'images que nécessaire à vos messages A LA CONDITION EXPRESSE d'utiliser l'hébergement fourni par le site.
L'administrateur effacera systématiquement tout message contenant des photos hébergées chez Imageschack, Casimage, Wistiti ou tout autre hébergeur tiers sans sommation ni justification.
-
dominic violon
- Habitué
- Messages : 233
- Enregistré le : 02/06/2004 19:51
- Localisation : 75, 77 et 11
Salut Alexios
Tout simplement bravo .
Juste une petite question: la boite d'agraphes était elle là pour la déco?
A mot à Gabach
Suis pas sur que la clim de nos autres engins soient meilleures et les vieux modéles...de plate (c'était juste une remarque et aucune réponse ne s'impose afin de ne pas poluer cette excellent sujet)
Amicaland à tous
Tout simplement bravo .
Juste une petite question: la boite d'agraphes était elle là pour la déco?
A mot à Gabach
Suis pas sur que la clim de nos autres engins soient meilleures et les vieux modéles...de plate (c'était juste une remarque et aucune réponse ne s'impose afin de ne pas poluer cette excellent sujet)
Amicaland à tous
- Gabach
- Habitué
- Messages : 1180
- Enregistré le : 20/07/2004 17:12
- Localisation : Grands Causses, Pays Templier
Pour les clim, mais aussi pour les chauffage, pourquoi pas, il existe des produits fongicides en aérosols (genre Wynn's et autres fabricants réputés sérieux)......... J'ai fait ma clim l'été dernier, et bien que n'ayant pas soumis un frottis au labo de biologie, l'action est visible: Répartition dans tous le circuit, effet légèrement moussant, légèrement gras, détergence, parfum.
Pour le titoulet dit "bec de canard", je l'ai traité des l'arrivée du Dèf a la maison, par un bon coup de tenaille russe a mis hauteur......... Ce pb avait fait l'objet d'un article dans Land Mag en son temps.........
Pour la mise en boite d'Alex, j'ai oublié de préciser "mode joke on" ......... M'enfin !!!
Quoique les intoxications avec complications neurodégénératives pour cause d'exposition à faible débit de dose mais dans la durée, aux glycols, ne soit pas que de la littérature de groupuscule agro-bio

Pour le titoulet dit "bec de canard", je l'ai traité des l'arrivée du Dèf a la maison, par un bon coup de tenaille russe a mis hauteur......... Ce pb avait fait l'objet d'un article dans Land Mag en son temps.........
Pour la mise en boite d'Alex, j'ai oublié de préciser "mode joke on" ......... M'enfin !!!
Quoique les intoxications avec complications neurodégénératives pour cause d'exposition à faible débit de dose mais dans la durée, aux glycols, ne soit pas que de la littérature de groupuscule agro-bio
Pas de problème, j'avais comprisGabach a écrit :... Pour la mise en boite d'Alex, j'ai oublié de préciser "mode joke on" ......... M'enfin !!!
Quand aux aérosols, vu la conception du chauffage du Land - aucun récyclage, pas d'air stagnant -, je doute qu'ils soient d'une utilité qquconque ...
Pour que ça tourne rond, faut que ça soit carré ...
Vielle devise militaire ...
Vielle devise militaire ...
Je voudrais apporter ma modeste contribution a ce chef d'oeuvre.
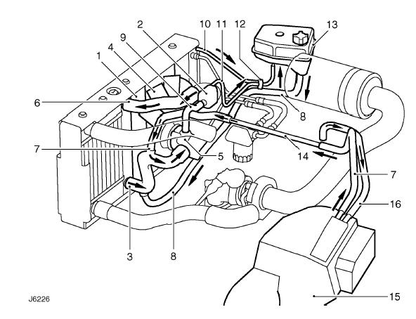
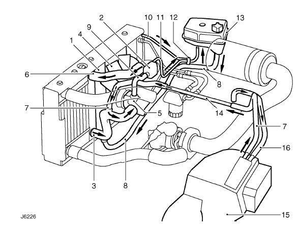
Tout d'abord le schéma général du système de refroidissement du Def 300 tdi ou l'on voit bien le passage continu de l'eau dans le radiateur de chauffage et donc l'obligation de court circuiter les durites de chauffage en cas de problème de radiateur afin de ne pas arrêter la circulation du liquide de refroidissement au niveau de la culasse avec toutes les conséquences néfastes imaginables. Bouchonage à PROSCRIRE! Même temporaire.

Le problème du bec de canard a été maintes fois expliqué sur Landmania et je m'étonne qu'un dinosaure nous fasse une si brillante Démo de ce qu'il ne faut pas faire....
Je note un manque d'assiduité de notre hélléne
Je pense (et je le fais) qu'il faut le nettoyer réguliérement et au moins une fois par an démonter les 8 vis de la grille d'aile pour faire le ménage.
Pour avoir eu cette panne au niveau du proccess je pense qu'il vaut mieux déconnecter les câbles des commandes et la prise électrique avant de déboulonner le boitier, ça évite de tirer dessus au moment ou tu le décolles. Attention au remontage à ne pas inverser les câbles(je l'ai fait
), ils ont la même longueur et viennent du même endroit, bien s'assurer que la commande chaud / froid soit en haut du boitier et le débit en bas. Sinon on peut avoir le ventilateur qui souffle et le volet en bas fermé.... Pour ma part j'ai eu plus de chance qu'Alexios car le boitier enfermant le radiateur est entierrement vissé avec une quantité de vis cruciformes auto-taraudeuses.
Enfin je voudrais profiter de ce topic (Mau tu déplaces si tu penses que c'est mieux ailleurs
) pour mettre quelque chiffres concernant l'éfficacité du chauffage des Defender. Ce n'est pas une étude scientifique mais un simple relevé que j'ai effectué cet hiver pour un topic sur Free Forum( ici )ou quelqu'un se plaignait de la m*rde de chaufferette LR. Les relevés sont effectués avec un petit thermometre digital et les Km sont relevés au compteur.
1° relevé:
Temp extérieure ~ 0/-1°C, quelques flocons de neige, vent nul, route départementale avec traversées de villages, vitesse route 90/100 et 50 en agglomération. Chauffage à fond et ventilation en 2° vitesse sur le trajet dès que l'aiguille température est montée répartition au milieu (PB+bouches en bas) . Thermometre fixé sur la tableau de bord sous les voyants coté gauche.

2° relevé:
j'ai fait un relevé en laissant la ventilation en 1° vitesse et en partant de -3°C, en prenant moins de points ce qui donne un aspect plus lissé.Effet conjugé d'un moindre débit d'air et d'une température extérieure plus faible la température finale est plus acceptable De même il est à noter que la vitesse à une incidence sur la courbe, a chaque fois que j'arrive dans un village je réduit ma vitesse pas 2 (90/100 -> 50) et la température intérieure fait un bond de 0,5 à 1°C et a la remise en vitesse sur l'accélération il s'en rajoute une louche alors qu'en régime stabilisé la température monte doucement.

Le thermometre utilisé.
Celà peut donner une indication générale. Si vraiment il y a une grosse différence il y a des questions à ce poser. L'étude est faite sur un 130-300tdi stock. Une chose importante non évoquée plus haut est la necessité de dégager la grille de ventilation car c'est la seule entrée d'air pour le chauffage (comme l'a noté Alexios il n'y a pas de position recyclage sur un def ) et en l'absence de débit point de chauffage. Je pense en particulier en hiver lorsqu'il y a une couche de neige ou de glace.. en plus celà évite d'en mettre dans tout le circuit.
Enfin pour le clin d'oeil à Alexios qui a eu la "chance" de ne plus avoir de chauffage en été et de pouvoir continuer à rouler en chemisette, j'ai claqué mon radiateur en plein mois de janvier dans l'est de la France et pendant une dizaine de jours j'ai roulé sans chauffage avec des T° négative... ben j'vous l'dit pas...c'est ...rafraîchissant!!!!!

Tout d'abord le schéma général du système de refroidissement du Def 300 tdi ou l'on voit bien le passage continu de l'eau dans le radiateur de chauffage et donc l'obligation de court circuiter les durites de chauffage en cas de problème de radiateur afin de ne pas arrêter la circulation du liquide de refroidissement au niveau de la culasse avec toutes les conséquences néfastes imaginables. Bouchonage à PROSCRIRE! Même temporaire.
Le problème du bec de canard a été maintes fois expliqué sur Landmania et je m'étonne qu'un dinosaure nous fasse une si brillante Démo de ce qu'il ne faut pas faire....
Pour avoir eu cette panne au niveau du proccess je pense qu'il vaut mieux déconnecter les câbles des commandes et la prise électrique avant de déboulonner le boitier, ça évite de tirer dessus au moment ou tu le décolles. Attention au remontage à ne pas inverser les câbles(je l'ai fait
Enfin je voudrais profiter de ce topic (Mau tu déplaces si tu penses que c'est mieux ailleurs
1° relevé:
Temp extérieure ~ 0/-1°C, quelques flocons de neige, vent nul, route départementale avec traversées de villages, vitesse route 90/100 et 50 en agglomération. Chauffage à fond et ventilation en 2° vitesse sur le trajet dès que l'aiguille température est montée répartition au milieu (PB+bouches en bas) . Thermometre fixé sur la tableau de bord sous les voyants coté gauche.
2° relevé:
j'ai fait un relevé en laissant la ventilation en 1° vitesse et en partant de -3°C, en prenant moins de points ce qui donne un aspect plus lissé.Effet conjugé d'un moindre débit d'air et d'une température extérieure plus faible la température finale est plus acceptable De même il est à noter que la vitesse à une incidence sur la courbe, a chaque fois que j'arrive dans un village je réduit ma vitesse pas 2 (90/100 -> 50) et la température intérieure fait un bond de 0,5 à 1°C et a la remise en vitesse sur l'accélération il s'en rajoute une louche alors qu'en régime stabilisé la température monte doucement.
Le thermometre utilisé.
Celà peut donner une indication générale. Si vraiment il y a une grosse différence il y a des questions à ce poser. L'étude est faite sur un 130-300tdi stock. Une chose importante non évoquée plus haut est la necessité de dégager la grille de ventilation car c'est la seule entrée d'air pour le chauffage (comme l'a noté Alexios il n'y a pas de position recyclage sur un def ) et en l'absence de débit point de chauffage. Je pense en particulier en hiver lorsqu'il y a une couche de neige ou de glace.. en plus celà évite d'en mettre dans tout le circuit.
Enfin pour le clin d'oeil à Alexios qui a eu la "chance" de ne plus avoir de chauffage en été et de pouvoir continuer à rouler en chemisette, j'ai claqué mon radiateur en plein mois de janvier dans l'est de la France et pendant une dizaine de jours j'ai roulé sans chauffage avec des T° négative... ben j'vous l'dit pas...c'est ...rafraîchissant!!!!!
Modifié en dernier par Ze Fifi le 03/06/2016 16:06, modifié 2 fois.
Franchement ... je n'en suis pas persuadé ... d'autant plus, qu'avec l'âge le bec durcit et il devient inopérant ... le débat est ouvertZe Fifi a écrit :Le problème du bec de canard a été maintes fois expliqué sur Landmania et je m'étonne qu'un dinosaure nous fasse une si brillante Démo de ce qu'il ne faut pas faire....Je note un manque d'assiduité de notre hélléne
Je pense (et je le fais) qu'il faut le nettoyer réguliérement et au moins une fois par an démonter les 8 vis de la grille d'aile pour faire le ménage.
Quand au chauffage en hiver, t'en fais pas, j'ai en souvenir un trajet Montpellier/Mazamet le mois de novembre je crois neige et verglas, à St. Pons arrêt obligatoire, je ne sentais plus mes doigts ... l'horreur ... la pièce était en commande, mais pas encore arrivée ...Ze Fifi a écrit :Enfin pour le clin d'oeil à Alexios qui a eu la "chance" de ne plus avoir de chauffage en été et de pouvoir continuer à rouler en chemisette, ...
Pour que ça tourne rond, faut que ça soit carré ...
Vielle devise militaire ...
Vielle devise militaire ...
- Gabach
- Habitué
- Messages : 1180
- Enregistré le : 20/07/2004 17:12
- Localisation : Grands Causses, Pays Templier
Enfin, sérieusement, a part les vapeurs de glycols (toxiques) et les odeurs hydrosulfurés ou de charognes qui pourraient se dévelloper dans un fond de boite a air devenue un cloaque putride (un jours j'ai retrouvé un vieux rat bien sec dans le cornet d'air d'admission, en aval du filtre à air
), le reste, c'est bon pour endurcir notre immunité hein.......
On est pas le genre à rouler avec des filtres à pollens non......................
Si, certains ici
A bon
On est pas le genre à rouler avec des filtres à pollens non......................
Si, certains ici
A bon
Je ne sais pas le mien n'est pas assez vieux , ou alors pas assez d'uv mais quand je gratouille les lévres elles sont encore élastiquesAlexios a écrit :Franchement ... je n'en suis pas persuadé ... d'autant plus, qu'avec l'âge le bec durcit et il devient inopérant ... le débat est ouvertZe Fifi a écrit :Le problème du bec de canard a été maintes fois expliqué sur Landmania et je m'étonne qu'un dinosaure nous fasse une si brillante Démo de ce qu'il ne faut pas faire....Je note un manque d'assiduité de notre hélléne
Je pense (et je le fais) qu'il faut le nettoyer réguliérement et au moins une fois par an démonter les 8 vis de la grille d'aile pour faire le ménage.
Ah bon toi aussi! Piece commandée chez un grand nom de l'adapatable LR (A......s) et c'est un feux arriére de Disco2 qui est arrivé pour la référence commandée!!!!!!! bilan 8 jour de rab de glaciéreAlexios a écrit :Quand au chauffage en hiver, t'en fais pas, j'ai en souvenir un trajet Montpellier/Mazamet le mois de novembre je crois neige et verglas, à St. Pons arrêt obligatoire, je ne sentais plus mes doigts ... l'horreur ... la pièce était en commande, mais pas encore arrivée ...Ze Fifi a écrit :Enfin pour le clin d'oeil à Alexios qui a eu la "chance" de ne plus avoir de chauffage en été et de pouvoir continuer à rouler en chemisette, ...
- Frédéric_Dept79
- Habitué
- Messages : 2396
- Enregistré le : 03/06/2004 16:49
- Localisation : Niort (79) - France
Fais comme moi, parka hiver, plus gants fourrés, plus bonnet de laine, j'ai jamais froid dans le 90", vitre entrouverte pour la buée en plusAlexios a écrit : .../...
Quand au chauffage en hiver, t'en fais pas, j'ai en souvenir un trajet Montpellier/Mazamet le mois de novembre je crois neige et verglas, à St. Pons arrêt obligatoire, je ne sentais plus mes doigts ... l'horreur ... la pièce était en commande, mais pas encore arrivée ...
Sinon Fifi, je sais pas comment tu fais pour supporter 25° (en partant avec 0° et sans arrêt pour adapter la tenue) dans ton 130...... moi l'hiver jusqu'a environ 10-12° dans l'habitacle je supporte après je tombe la veste, obligé
@+
(I was)Always in a Land Rover (1995-2012) Ayé il est parti 
Save the Planet, Kill an Ecologist
Save the Planet, Kill an Ecologist
Si je veux rouler emmitouflé, je prends la moto ... au moins, je sais pourquoi je me les gèle ...Frédéric_Dept79 a écrit :Fais comme moi, parka hiver, plus gants fourrés, plus bonnet de laine, j'ai jamais froid dans le 90", vitre entrouverte pour la buée en plus
En voiture, je ne conduis jamais avec un manteau/veste/blouson/autre (ça m'est arrivé, mais sous la contrainte) ... j'ai horreur de ça et en plus je trouve que ça nuit à la liberté des mouvements et ça endort ... bref ...
Quand aux gants ... je n'avais pas pris
Pour que ça tourne rond, faut que ça soit carré ...
Vielle devise militaire ...
Vielle devise militaire ...
- Frédéric_Dept79
- Habitué
- Messages : 2396
- Enregistré le : 03/06/2004 16:49
- Localisation : Niort (79) - France
Alexios a écrit :Si je veux rouler emmitouflé, je prends la moto ... au moins, je sais pourquoi je me les gèle ...Frédéric_Dept79 a écrit :Fais comme moi, parka hiver, plus gants fourrés, plus bonnet de laine, j'ai jamais froid dans le 90", vitre entrouverte pour la buée en plus
En voiture, je ne conduis jamais avec un manteau/veste/blouson/autre (ça m'est arrivé, mais sous la contrainte) ... j'ai horreur de ça et en plus je trouve que ça nuit à la liberté des mouvements et ça endort ... bref ...
Quand aux gants ... je n'avais pas pris
Un def qui fait du chauffage, qui sent pas le chien mouillé, qui fait pas de bruit, est il encore un vrai def ?
C'est honnêtement et sincèrement ce qui m'éclate le plus dans mon 90", son inconfort, devant ses capacités naturelles au franchissement et ses aptitudes utilitaires (pour sa taille).
@+
(I was)Always in a Land Rover (1995-2012) Ayé il est parti 
Save the Planet, Kill an Ecologist
Save the Planet, Kill an Ecologist
-
dominic violon
- Habitué
- Messages : 233
- Enregistré le : 02/06/2004 19:51
- Localisation : 75, 77 et 11
Très intéressant, m'étonne pas.Ze Fifi a écrit :Enfin je voudrais profiter de ce topic (Mau tu déplaces si tu penses que c'est mieux ailleurs) pour mettre quelque chiffres concernant l'éfficacité du chauffage des Defender. Ce n'est pas une étude scientifique mais un simple relevé que j'ai effectué cet hiver pour un topic sur Free Forum( ici )ou quelqu'un se plaignait de la m*rde de chaufferette LR. Les relevés sont effectués avec un petit thermometre digital et les Km sont relevés au compteur.
Une suggestion pour compléter le tableau : il aurait fallu ajouter une colone décibels pour rendre encore mieux compte de l'ambiance ...
Bons Paysages à tous
-
grain de sable
- Messages : 4
- Enregistré le : 26/07/2005 15:56
- Localisation : drôme
Alexios je me joins à tout le monde pour dire que ton reportage est véritable plaisir tant sur le fond que sur la forme ...
Je voudrais juste rajouter cette remarque incontournable que personne ne t'a encore faite
à se demander pourquoi ?????
je ne sais si ce sont les années, ou si ton photographe est un génie de l'exposition mais je te trouve de plus en plus beau !!!!!
je regrette de plus en plus amèrement de ne pas être venue aux vans ...
d'ailleurs, puisque je viens de te faire cette belle déclaration, j'ai un verrin sur le bureau pour toi, si tu veux bien me donner ton adresse par MP je te l'envoie ...
t'as vu le subterfuge !!
en tout cas merci encore pour ce reportage !!!
Je voudrais juste rajouter cette remarque incontournable que personne ne t'a encore faite
à se demander pourquoi ?????
je ne sais si ce sont les années, ou si ton photographe est un génie de l'exposition mais je te trouve de plus en plus beau !!!!!
je regrette de plus en plus amèrement de ne pas être venue aux vans ...
d'ailleurs, puisque je viens de te faire cette belle déclaration, j'ai un verrin sur le bureau pour toi, si tu veux bien me donner ton adresse par MP je te l'envoie ...
t'as vu le subterfuge !!
en tout cas merci encore pour ce reportage !!!
celui qui donne est celui qui reçoit le plus.
T'as pas répondu à ma question?TOUBA a écrit :Juste une petite question: la boite d'agraphes était elle là pour la déco?
Par ailleurs et regardant à nouveau de très près ces photos et en particulier le systéme moteur..celui ci ressemble étrangement -pour le boitier et moteur - à celui que l'on trouve sur une hotte aspirante.
bravo alex tres bonnes photos surtout les 2 ou tu poses a coté des 2 fauves terrassés.
restera t'il une pov piece d'origine sur l'enclume?pour le chauffage les boites de vitesse le font bien mais il est vrai surtout en été.sinon chapeau bas encore une fois pour la qualité de l'article et ton humour legendaire.
restera t'il une pov piece d'origine sur l'enclume?pour le chauffage les boites de vitesse le font bien mais il est vrai surtout en été.sinon chapeau bas encore une fois pour la qualité de l'article et ton humour legendaire.
- The Pater
- Modérateur
- Messages : 13981
- Enregistré le : 25/08/2004 8:19
- Localisation : 06°27'46"E 45°50'29"N
Alexios,
Mention très bien pour ton article.
J'ai découvert le clapet de purge et une quantité d'eau stagnante quand mon Def avait deux ou trois ans.
C'était en hivers, je roulais sans chauffage car le moteur peinait à atteindre sa température de fonctionnement.
Après plusieurs kilomètres, l'aiguille du manomètre de température ayant bougée, j'ai mis le chauffage à fond dirigé sur le parebrise. Je n'ai pas eu le temps de réagir que mon parebrise c'est couvert de bouée, masquant la route.
J'ai freiné fort, sans savoir où j'allais réellement.
Depuis je néttoie le clapet chaque an et il n'y a plus de trace d'eau stagnante.
Note, le fait qu'il dorme, depuis 5 ans, dans un garage diminue très fortement la présence de saletée au niveau du clapet.
Pour ce qui est de la lubrification du palier du moteur, je dirais que cela dépend fortement du matériaux utilisé pour le palier lisse. Et même si c'est du bronze, par exemple, il peut exister plusieurs modèles dans le besoin en lubrifiant (caratéristiques et quantité) sont bien différents.
Je ne pense pas que le WD40 (ou autre huile très fluide, antigrippante, hydrophobe etc...) convienne réellement car elle se "consommera" rapidement et a une trop faible viscosité.
Si vous n'avez pas de lubrifiant adéquate (en fonction de la nature du palier lisse) et que celui-ci ne soit pas autolubrifiant, je pense, AMHA, qu'une goutte ou deux (pas plus) d'huile moteur est une meilleure solution que le WD40.
A+
Mention très bien pour ton article.
J'ai découvert le clapet de purge et une quantité d'eau stagnante quand mon Def avait deux ou trois ans.
C'était en hivers, je roulais sans chauffage car le moteur peinait à atteindre sa température de fonctionnement.
Après plusieurs kilomètres, l'aiguille du manomètre de température ayant bougée, j'ai mis le chauffage à fond dirigé sur le parebrise. Je n'ai pas eu le temps de réagir que mon parebrise c'est couvert de bouée, masquant la route.
J'ai freiné fort, sans savoir où j'allais réellement.
Depuis je néttoie le clapet chaque an et il n'y a plus de trace d'eau stagnante.
Note, le fait qu'il dorme, depuis 5 ans, dans un garage diminue très fortement la présence de saletée au niveau du clapet.
Pour ce qui est de la lubrification du palier du moteur, je dirais que cela dépend fortement du matériaux utilisé pour le palier lisse. Et même si c'est du bronze, par exemple, il peut exister plusieurs modèles dans le besoin en lubrifiant (caratéristiques et quantité) sont bien différents.
Je ne pense pas que le WD40 (ou autre huile très fluide, antigrippante, hydrophobe etc...) convienne réellement car elle se "consommera" rapidement et a une trop faible viscosité.
Si vous n'avez pas de lubrifiant adéquate (en fonction de la nature du palier lisse) et que celui-ci ne soit pas autolubrifiant, je pense, AMHA, qu'une goutte ou deux (pas plus) d'huile moteur est une meilleure solution que le WD40.
A+
Ingénieur :
Personne faisant un travail divinatoire de précision basé sur des informations peu fiables données par des personnes peu qualifiées, voire ignorantes.
=>, magicien, devin, sorcier
Personne faisant un travail divinatoire de précision basé sur des informations peu fiables données par des personnes peu qualifiées, voire ignorantes.
=>, magicien, devin, sorcier
- Mauresque
- Webmaster
- Messages : 3825
- Enregistré le : 06/05/2004 12:53
- Localisation : Caromb, Vaucluse (84)
- Contact :
C'est d'autant plus dommage que la mise en scène a été savament calculée à chaque cliché : où va-t-on coller cette boite d'agrafes Jaky ???TOUBA a écrit :T'as pas répondu à ma question?TOUBA a écrit :Juste une petite question: la boite d'agraphes était elle là pour la déco?
J'aurais pensé que les dinosaures réagissent plus vite, vous molissez les gars (me pourrissez pas encore le topic SVP, je viens juste de faire le ménage
In a world without walls and fences, who needs Windows and Gates ?
- Gabach
- Habitué
- Messages : 1180
- Enregistré le : 20/07/2004 17:12
- Localisation : Grands Causses, Pays Templier
Au fait
Sur les Td5 MkII, la boite de chauffage est différente dans son organisation générale............ Les durites d'eau passent par le devant, flanc aile, et pas par l'arrière/coté central.
Sur les Td5 MkII, la boite de chauffage est différente dans son organisation générale............ Les durites d'eau passent par le devant, flanc aile, et pas par l'arrière/coté central.
Modifié en dernier par Gabach le 29/03/2006 16:01, modifié 1 fois.