Appoint ponts et pivots
Règles du forum
En naviguant sur le site http://www.landroverfaq.com vous reconnaissez avoir lu ses Conditions d’Utilisation, vous déclarez les comprendre et vous acceptez d’y être lié de manière inconditionnelle. Si tel n'est pas le cas, merci de quitter immédiatement ce site.
Vous pouvez joindre autant d'images que nécessaire à vos messages A LA CONDITION EXPRESSE d'utiliser l'hébergement fourni par le site.
L'administrateur effacera systématiquement tout message contenant des photos hébergées chez Imageschack, Casimage, Wistiti ou tout autre hébergeur tiers sans sommation ni justification.
En naviguant sur le site http://www.landroverfaq.com vous reconnaissez avoir lu ses Conditions d’Utilisation, vous déclarez les comprendre et vous acceptez d’y être lié de manière inconditionnelle. Si tel n'est pas le cas, merci de quitter immédiatement ce site.
Vous pouvez joindre autant d'images que nécessaire à vos messages A LA CONDITION EXPRESSE d'utiliser l'hébergement fourni par le site.
L'administrateur effacera systématiquement tout message contenant des photos hébergées chez Imageschack, Casimage, Wistiti ou tout autre hébergeur tiers sans sommation ni justification.
- Landiste63
- Habitué
- Messages : 73
- Enregistré le : 30/11/2009 11:01
Appoint ponts et pivots
Mon pivot gauche suintant légerement j'ai remplacé l'huile par de la graisse Britpart ce qui pour le moment semble avoir résolu le problème.
Le droit ne fuyait pas du tout mais il a fallu remettre 250 ml d'huile (car je voulais garder le 2eme berlingot de graisse pour le pivot gauche par sécurité). Bizarre, où est passée cette huile ?
Le pont lui était impeccablement à niveau
A l'arrière surprise il manque presque 3/4 de litre de 80w-90 dans le pont pourtant aucune fuite n'est visible nulle part.
La boite de transfert avait aussi besoin d'un appoint tout à fait normal au vu du suintement permanent au niveau de la paroi latérale inclinée à -45°.
La dernière vidange de ces organes date de 10 500 km, que pensez vous des disparitions mystérieuses ?
Le droit ne fuyait pas du tout mais il a fallu remettre 250 ml d'huile (car je voulais garder le 2eme berlingot de graisse pour le pivot gauche par sécurité). Bizarre, où est passée cette huile ?
Le pont lui était impeccablement à niveau
A l'arrière surprise il manque presque 3/4 de litre de 80w-90 dans le pont pourtant aucune fuite n'est visible nulle part.
La boite de transfert avait aussi besoin d'un appoint tout à fait normal au vu du suintement permanent au niveau de la paroi latérale inclinée à -45°.
La dernière vidange de ces organes date de 10 500 km, que pensez vous des disparitions mystérieuses ?
- The Pater
- Modérateur
- Messages : 13981
- Enregistré le : 25/08/2004 8:19
- Localisation : 06°27'46"E 45°50'29"N
Re: Appoint ponts et pivots
S'il n'y a aucune fuite, l'huile est passée soit dans le pont, soit dans le moyeu de roue, soit les deux.Landiste63 a écrit : Le droit ne fuyait pas du tout mais il a fallu remettre 250 ml d'huile (car je voulais garder le 2eme berlingot de graisse pour le pivot gauche par sécurité). Bizarre, où est passée cette huile ?
Passée dans les moyeux ?A l'arrière surprise il manque presque 3/4 de litre de 80w-90 dans le pont pourtant aucune fuite n'est visible nulle part.
Retire les main meneuses des demis arbres pour voir.
A+
Ingénieur :
Personne faisant un travail divinatoire de précision basé sur des informations peu fiables données par des personnes peu qualifiées, voire ignorantes.
=>, magicien, devin, sorcier
Personne faisant un travail divinatoire de précision basé sur des informations peu fiables données par des personnes peu qualifiées, voire ignorantes.
=>, magicien, devin, sorcier
- Landiste63
- Habitué
- Messages : 73
- Enregistré le : 30/11/2009 11:01
Re: Appoint ponts et pivots
Tu veux dire qu'une fois enlevées les mains meneuses il ne doit pas y avoir d'huile sinon c'est que la fuite est là ?The Pater a écrit :Landiste63 a écrit :Retire les main meneuses des demis arbres pour voir.
A+
A+ merci
Re: Appoint ponts et pivots
souvent l'usinage des demis arbres fait passer l'huile dans le pont
ou dans les moyeux effectivement !
110 300tdi , 110 V8 4.6L HT , 110 V8 4.6L short , commando SII 12v 2l1/4 D , commando 2l1/4 E . . .
- The Pater
- Modérateur
- Messages : 13981
- Enregistré le : 25/08/2004 8:19
- Localisation : 06°27'46"E 45°50'29"N
Re: Appoint ponts et pivots
Oui.Landiste63 a écrit :Tu veux dire qu'une fois enlevées les mains meneuses il ne doit pas y avoir d'huile sinon c'est que la fuite est là ?The Pater a écrit :Landiste63 a écrit :Retire les main meneuses des demis arbres pour voir.
A+
A+ merci
Note, il y a certains Land qui ont les roulements de roues arrières en contact avec l'huile de pont, par conception. Mais je ne pense pas que tu ais ce type de véhicule si tu perds 3/4 litre sans fuite.
A+
Ingénieur :
Personne faisant un travail divinatoire de précision basé sur des informations peu fiables données par des personnes peu qualifiées, voire ignorantes.
=>, magicien, devin, sorcier
Personne faisant un travail divinatoire de précision basé sur des informations peu fiables données par des personnes peu qualifiées, voire ignorantes.
=>, magicien, devin, sorcier
- Landiste63
- Habitué
- Messages : 73
- Enregistré le : 30/11/2009 11:01
Re: Appoint ponts et pivots
Merci. Dernière question les mains meneuses s'enlèvent et se remettent facilement ? Je demande cela parce que je fais ma mécanique sur le parking de mon immeuble et que ça ne plait pas à tout les résidents 
- The Pater
- Modérateur
- Messages : 13981
- Enregistré le : 25/08/2004 8:19
- Localisation : 06°27'46"E 45°50'29"N
Re: Appoint ponts et pivots
Oui, très facilement.Landiste63 a écrit :Merci. Dernière question les mains meneuses s'enlèvent et se remettent facilement ? Je demande cela parce que je fais ma mécanique sur le parking de mon immeuble et que ça ne plait pas à tout les résidents
Sur un Disco I, à l'arrière, la main meneuse est solidaire de l'arbre.
A l'avant, il y a un circlips a enlever, donc pince à circlips d'arbre en plus de la clef pour dévisser les vis.
Prévoit un joint papier (entre main meneuse et moyeu) de rechange.
A+
Ingénieur :
Personne faisant un travail divinatoire de précision basé sur des informations peu fiables données par des personnes peu qualifiées, voire ignorantes.
=>, magicien, devin, sorcier
Personne faisant un travail divinatoire de précision basé sur des informations peu fiables données par des personnes peu qualifiées, voire ignorantes.
=>, magicien, devin, sorcier
- Landiste63
- Habitué
- Messages : 73
- Enregistré le : 30/11/2009 11:01
Re: Appoint ponts et pivots
Dépose de la main meneuse droite, un peu d'eau mais en auvergne on passe beaucoup de gués alors je suppose que c'est normal.
Dépose de la MM gauche, un peu d'eau aussi puis lorsque je la sors de plus de 15cm plein de 80w-90 qui arrive. Du coup je n'ai pas osé la sortir en entier. Pour info le Land est en devers à gauche car il ne ne peut pas être à plat chez moi. C'est grave docteur ? Et surtout c'est compliqué à réparer ? merci
Dépose de la MM gauche, un peu d'eau aussi puis lorsque je la sors de plus de 15cm plein de 80w-90 qui arrive. Du coup je n'ai pas osé la sortir en entier. Pour info le Land est en devers à gauche car il ne ne peut pas être à plat chez moi. C'est grave docteur ? Et surtout c'est compliqué à réparer ? merci
- The Pater
- Modérateur
- Messages : 13981
- Enregistré le : 25/08/2004 8:19
- Localisation : 06°27'46"E 45°50'29"N
Re: Appoint ponts et pivots
Si cela concerne les mains meneuses arrières, ce n'est pas grave. Tu as simplement assez tiré l'arbre pour que le bossage servant de porté de joint (entre pont et fusée) ne soit plus sous le joint.... et l'huile de pont est sorti puisque tu es en dévers.Landiste63 a écrit :Dépose de la main meneuse droite, un peu d'eau mais en auvergne on passe beaucoup de gués alors je suppose que c'est normal.
Dépose de la MM gauche, un peu d'eau aussi puis lorsque je la sors de plus de 15cm plein de 80w-90 qui arrive. Du coup je n'ai pas osé la sortir en entier. Pour info le Land est en devers à gauche car il ne ne peut pas être à plat chez moi. C'est grave docteur ? Et surtout c'est compliqué à réparer ? merci
Pour éviter le problème de devers, tu peux faire monter le coté gauche sur une planche de bois inclinée (repose à une extrémité sur une brique par exemple). De toute façon il faut rajouter de la 80W90 et pour que le niveau soit correct il faut que le véhicule soit à plat. Sinon tu peux rouler doucement, pied léger, quelques km pour trouver un endroit plat.
Par contre, ce qui me gêne, c'est la présence d'eau. Gué ou pas, de l'eau dans les moyeux, c'est vraiment pas bon.
A+
Ingénieur :
Personne faisant un travail divinatoire de précision basé sur des informations peu fiables données par des personnes peu qualifiées, voire ignorantes.
=>, magicien, devin, sorcier
Personne faisant un travail divinatoire de précision basé sur des informations peu fiables données par des personnes peu qualifiées, voire ignorantes.
=>, magicien, devin, sorcier
- Landiste63
- Habitué
- Messages : 73
- Enregistré le : 30/11/2009 11:01
Re: Appoint ponts et pivots
Je vais essayer de mettre le Land à plat pour revoir ce qu'il en est de la MM gauche mais tu me rassures Pater, si je t'ai bien compris pour le pont arrière il suffit que je surveille très régulièrement le niveau d'huile et ça ira bien comme ça
Pour l'eau il y en avait très peu mais assez pour que dans les moyeux ce soit rouillé.
Pour l'eau il y en avait très peu mais assez pour que dans les moyeux ce soit rouillé.
Re: Appoint ponts et pivots
Aie..... dans cet état, je n'ose imaginer les roulements et la fusée... plus l'eau dans le corps de pont....
Bref, vidange du pont, dépose et vérification des moyeux, remplacement quasi certain des roulements, et remontage avec un joint étanche au niveau des mains meneuses...
Rien de difficile... mais à faire
Bref, vidange du pont, dépose et vérification des moyeux, remplacement quasi certain des roulements, et remontage avec un joint étanche au niveau des mains meneuses...
Rien de difficile... mais à faire
La boite à outils c'est aussi : LogMyGPS
- Landiste63
- Habitué
- Messages : 73
- Enregistré le : 30/11/2009 11:01
Re: Appoint ponts et pivots
Joints qui brillaient par leur absence. Bravo l'ancien proprio qui bossait chez Jaguar Land Rover !bisnouk a écrit :remontage avec un joint étanche au niveau des mains meneuses...
- The Pater
- Modérateur
- Messages : 13981
- Enregistré le : 25/08/2004 8:19
- Localisation : 06°27'46"E 45°50'29"N
Re: Appoint ponts et pivots
Normalement, oui. En espérant que l'eau n'est pas entrée dans le pont....Landiste63 a écrit :Je vais essayer de mettre le Land à plat pour revoir ce qu'il en est de la MM gauche mais tu me rassures Pater, si je t'ai bien compris pour le pont arrière il suffit que je surveille très régulièrement le niveau d'huile et ça ira bien comme ça![]()
Tes 3/4 de litres manquant....... tu n'aurais pas vérifié/fait l'appoint..... avec le véhicule sur un sol pas très plat ?
Vu la photo, tu es bon pour un démontage et changement des roulements/joints (et écrous et rondelles et peut être plus.....).Pour l'eau il y en avait très peu mais assez pour que dans les moyeux ce soit rouillé.
A+
Ingénieur :
Personne faisant un travail divinatoire de précision basé sur des informations peu fiables données par des personnes peu qualifiées, voire ignorantes.
=>, magicien, devin, sorcier
Personne faisant un travail divinatoire de précision basé sur des informations peu fiables données par des personnes peu qualifiées, voire ignorantes.
=>, magicien, devin, sorcier
- Landiste63
- Habitué
- Messages : 73
- Enregistré le : 30/11/2009 11:01
Re: Appoint ponts et pivots
Le changement des roulements n'étant pas possible avant aout j'ai quand même mis le véhicule à plat, vidangé l'huile de pont et sorti les mains meneuses.
De la 80W-90 neuve me semble une bonne idée parce que l'ancienne ne m'inspire pas trop. Sais tu à quoi les traces de portée slalomeuses sur les arbres sont elles dûes ?
De la 80W-90 neuve me semble une bonne idée parce que l'ancienne ne m'inspire pas trop. Sais tu à quoi les traces de portée slalomeuses sur les arbres sont elles dûes ?
- The Pater
- Modérateur
- Messages : 13981
- Enregistré le : 25/08/2004 8:19
- Localisation : 06°27'46"E 45°50'29"N
Re: Appoint ponts et pivots
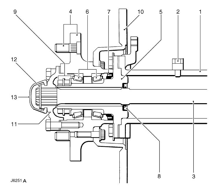
Les portées de lévres des joints entre pont et fusée. On voit d'ailleurs la position du contact lèvre arbre.Landiste63 a écrit : Sais tu à quoi les traces de portée slalomeuses sur les arbres sont elles dûes ?
Exemple sur un 110 (mains menseuses non solidaires de l'arbre), joint n°8 : A+
Ingénieur :
Personne faisant un travail divinatoire de précision basé sur des informations peu fiables données par des personnes peu qualifiées, voire ignorantes.
=>, magicien, devin, sorcier
Personne faisant un travail divinatoire de précision basé sur des informations peu fiables données par des personnes peu qualifiées, voire ignorantes.
=>, magicien, devin, sorcier
Re: Appoint ponts et pivots
tu fais bien de changer ton huile,elle est chargée d'eau,un petit coup d'œil au différentiel ne serait peut être pas de trop 
- disco200tdi
- Habitué
- Messages : 755
- Enregistré le : 16/11/2005 21:30
- Localisation : Meuse
Re: Appoint ponts et pivots
Le bossage est certainement obtenu par matriçage ou forgeage et sans grande précision. Une fois rectifié, on obtiens cette forme. Elle n'est pas voulue.Landiste63 a écrit :Sais tu à quoi les traces de portée slalomeuses sur les arbres sont elles dûes ?
Toujours vert, surtout dans les dévers.
- The Pater
- Modérateur
- Messages : 13981
- Enregistré le : 25/08/2004 8:19
- Localisation : 06°27'46"E 45°50'29"N
Re: Appoint ponts et pivots
Ouaf... je viens de me rendre compte que j'avais mal compris la question et que j'ai répondu à coté.....disco200tdi a écrit :Le bossage est certainement obtenu par matriçage ou forgeage et sans grande précision. Une fois rectifié, on obtiens cette forme. Elle n'est pas voulue.Landiste63 a écrit :Sais tu à quoi les traces de portée slalomeuses sur les arbres sont elles dûes ?
A+
Ingénieur :
Personne faisant un travail divinatoire de précision basé sur des informations peu fiables données par des personnes peu qualifiées, voire ignorantes.
=>, magicien, devin, sorcier
Personne faisant un travail divinatoire de précision basé sur des informations peu fiables données par des personnes peu qualifiées, voire ignorantes.
=>, magicien, devin, sorcier
- Landiste63
- Habitué
- Messages : 73
- Enregistré le : 30/11/2009 11:01
Re: Appoint ponts et pivots
Mais par où a t'elle bien pû passer cette eau de malheurOLIV29 a écrit :tu fais bien de changer ton huile,elle est chargée d'eau,un petit coup d'œil au différentiel ne serait peut être pas de trop
- disco200tdi
- Habitué
- Messages : 755
- Enregistré le : 16/11/2005 21:30
- Localisation : Meuse
Re: Appoint ponts et pivots
Landiste63 a écrit :Mais par où a t'elle bien pû passer cette eau de malheurOLIV29 a écrit :tu fais bien de changer ton huile,elle est chargée d'eau,un petit coup d'œil au différentiel ne serait peut être pas de tropCe n'est quand même pas l'absence de joints aux mains meneuses qui en a laissé passer autant...
Toujours vert, surtout dans les dévers.