Bonjour a tous .
Je vous rappelle que je posède un 90 2,5td que je remotorise en 200tdi ...
lorsque j'ai récupéré le moteur j'ai aussi pris le circuit électrique du moteur ! et donc j'ai les fils et connexions pour le préchauffage .
avec 1/ une énorme connexion assez particulière qui se branche sur le relai de temporisation du préchauffage
2/ la cosse qui va au + batterie
3/ la cosse qui va aux bougies de préchauffage
4/ et une connexion a 4 plots et 3 fils ( contact, voyant, ? ) qui se raccorde a coté du bloc chauffage et qui va vers les fusibles ...
Or sur le 2,5td je n'ai pas ce dernier bout de faisceau !
a votre avis je m'en confectionne un ou je laisse tomber la tempo de préchauffage et je me sert du l'ancien circuit. s'il est compatible avec le 200tdi ???
merci
connexions prechaufage 200tdi
Règles du forum
En naviguant sur le site http://www.landroverfaq.com vous reconnaissez avoir lu ses Conditions d’Utilisation, vous déclarez les comprendre et vous acceptez d’y être lié de manière inconditionnelle. Si tel n'est pas le cas, merci de quitter immédiatement ce site.
Vous pouvez joindre autant d'images que nécessaire à vos messages A LA CONDITION EXPRESSE d'utiliser l'hébergement fourni par le site.
L'administrateur effacera systématiquement tout message contenant des photos hébergées chez Imageschack, Casimage, Wistiti ou tout autre hébergeur tiers sans sommation ni justification.
En naviguant sur le site http://www.landroverfaq.com vous reconnaissez avoir lu ses Conditions d’Utilisation, vous déclarez les comprendre et vous acceptez d’y être lié de manière inconditionnelle. Si tel n'est pas le cas, merci de quitter immédiatement ce site.
Vous pouvez joindre autant d'images que nécessaire à vos messages A LA CONDITION EXPRESSE d'utiliser l'hébergement fourni par le site.
L'administrateur effacera systématiquement tout message contenant des photos hébergées chez Imageschack, Casimage, Wistiti ou tout autre hébergeur tiers sans sommation ni justification.
- LØLØ
- Modérateur
- Messages : 6209
- Enregistré le : 30/07/2006 15:41
- Localisation : guainville (28 )
- Contact :
Re: connexions prechaufage 200tdi
Salut,
Surtout, tu mets le relais de préchauffage du 200 à la poubelle.
Pour plusieurs raisons
Ton circuit d'alimentation du témoin de préchauffage, se fait par un +12V sur ton faisceau de TD, alors que l'allumage du voyant est validé par une masse commuté par le relais de préchauffage. Donc, cela t'oblige à trafiquer ton tableau de voyant. En rajoutant un petit
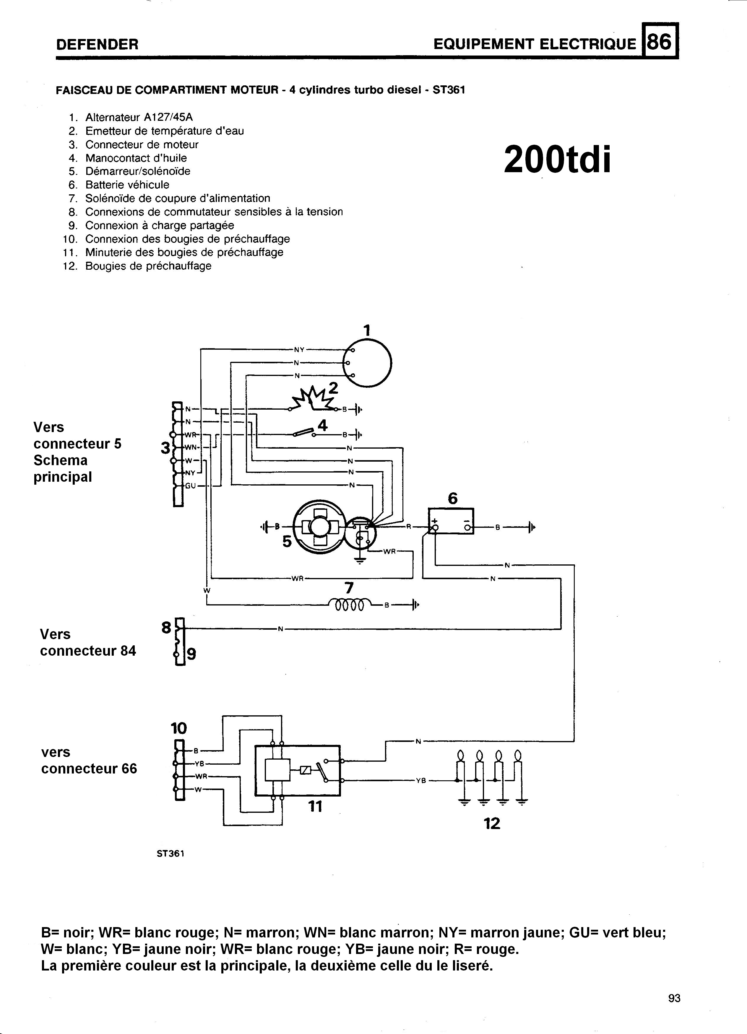
culot comme cela, avec +12V d'un coté et le fil de commande d’allumage provenant du relais de préchauffage de l'autre, donc à tirer si tu ne l'as pas. Le schéma du relais de préchauffage du 200tdi: Le connecteur du faisceau du 200tdi repère 10; pour la question 4: une masse, la commande voyant,un +12V après contact Le faisceau complet du système prévu dans le kit d'adaptation 200tdi qui à l'époque était fournis par Land Rover pour remplacer les TD (1994). Mais celui ci n'était jamais monté. Franchement le plus simple, le plus fiable, le plus rationnel, le plus mieux quoi... Tu raccordes directement le gros fil marron liseré rouge d'origine du préchauffage du TD sur la bougie N°4 et tu fais toi même la temporisation moteur chaud, pas de tempo en été à froid tu comptes: pomme pomme 1; pomme pomme 2; voir pomme pomme 3 et en Hivers pomme pomme 10; quand vraiment il fait très froid. Tout ça en maintenant la clef du neiman sur la position qui allume ton voyant, juste avant la position qui lance le démarreur. Car un détail aussi, tu n'as pas le bon Neiman.
Il faut que tu le changes pour un de 200 qui n'a pas la position de validation du préchauffage. Et si tu changes le Neiman, les cosses, du moins certaines ne correspondront plus au faisceau du TD. A gauche un neiman de D au centre une cartouche de TD, à droite une cartouche de 200tdi qui ne se monte pas dans le neiman du D ou TD
En écrivant ces lignes et en revoyant les photos, je me disais bien que le sujet avait déjà été abordé:
shema électrique land 110 200 Tdi de 1994
Changement tableau a fusible de def 2.5td
Branchement relais de préchauffage 200 TDI
En cherchant avec la fonction rechercher dans la rubrique électricité, tu devrais trouver des choses encore, car il me semble que j'avais le brochage aussi, mais je ne retrouve plus le thème.
Qu’appelles tu une énorme connexion ? Le support du relais de préchauffage?
Peux tu nous mettre les couleurs des fils en précisant la couleur des liserés, des fils qui te posent un problème?
A+
Surtout, tu mets le relais de préchauffage du 200 à la poubelle.
Pour plusieurs raisons
Ton circuit d'alimentation du témoin de préchauffage, se fait par un +12V sur ton faisceau de TD, alors que l'allumage du voyant est validé par une masse commuté par le relais de préchauffage. Donc, cela t'oblige à trafiquer ton tableau de voyant. En rajoutant un petit
culot comme cela, avec +12V d'un coté et le fil de commande d’allumage provenant du relais de préchauffage de l'autre, donc à tirer si tu ne l'as pas. Le schéma du relais de préchauffage du 200tdi: Le connecteur du faisceau du 200tdi repère 10; pour la question 4: une masse, la commande voyant,un +12V après contact Le faisceau complet du système prévu dans le kit d'adaptation 200tdi qui à l'époque était fournis par Land Rover pour remplacer les TD (1994). Mais celui ci n'était jamais monté. Franchement le plus simple, le plus fiable, le plus rationnel, le plus mieux quoi... Tu raccordes directement le gros fil marron liseré rouge d'origine du préchauffage du TD sur la bougie N°4 et tu fais toi même la temporisation moteur chaud, pas de tempo en été à froid tu comptes: pomme pomme 1; pomme pomme 2; voir pomme pomme 3 et en Hivers pomme pomme 10; quand vraiment il fait très froid. Tout ça en maintenant la clef du neiman sur la position qui allume ton voyant, juste avant la position qui lance le démarreur. Car un détail aussi, tu n'as pas le bon Neiman.
Il faut que tu le changes pour un de 200 qui n'a pas la position de validation du préchauffage. Et si tu changes le Neiman, les cosses, du moins certaines ne correspondront plus au faisceau du TD. A gauche un neiman de D au centre une cartouche de TD, à droite une cartouche de 200tdi qui ne se monte pas dans le neiman du D ou TD
shema électrique land 110 200 Tdi de 1994
Changement tableau a fusible de def 2.5td
Branchement relais de préchauffage 200 TDI
En cherchant avec la fonction rechercher dans la rubrique électricité, tu devrais trouver des choses encore, car il me semble que j'avais le brochage aussi, mais je ne retrouve plus le thème.
Qu’appelles tu une énorme connexion ? Le support du relais de préchauffage?
Peux tu nous mettre les couleurs des fils en précisant la couleur des liserés, des fils qui te posent un problème?
A+
Modifié en dernier par LØLØ le 18/09/2013 22:17, modifié 1 fois.
2 solutions: la bonne et l'Anglaise
LUCAS: Il n'y a pas de contact où il le faut et il y en a un où il ne faut pas
On ne peut aller loin en amitié, si on n'est pas disposé à se pardonner les uns aux autres les petits défauts.
www.eternal-vehicles.fr
LUCAS: Il n'y a pas de contact où il le faut et il y en a un où il ne faut pas
On ne peut aller loin en amitié, si on n'est pas disposé à se pardonner les uns aux autres les petits défauts.
www.eternal-vehicles.fr
Re: connexions prechaufage 200tdi
Salut .
Je n'avais pas pensé au neiman
Effectivement cela fait beaucoup de bidouille pour économiser la temporisation " humaine "
Donc si ca fonctionne je branche le préchauf du TD et basta
A +
Je n'avais pas pensé au neiman
Effectivement cela fait beaucoup de bidouille pour économiser la temporisation " humaine "
Donc si ca fonctionne je branche le préchauf du TD et basta
A +
- LØLØ
- Modérateur
- Messages : 6209
- Enregistré le : 30/07/2006 15:41
- Localisation : guainville (28 )
- Contact :
Re: connexions prechaufage 200tdi
Salutlomax a écrit : Effectivement cela fait beaucoup de bidouille pour économiser la temporisation " humaine "![]()
Donc si ca fonctionne je branche le préchauf du TD et basta
Ce sera très certainement beaucoup plus fiable dans le temps, plus facile et moins chère à dépanner.
A+
2 solutions: la bonne et l'Anglaise
LUCAS: Il n'y a pas de contact où il le faut et il y en a un où il ne faut pas
On ne peut aller loin en amitié, si on n'est pas disposé à se pardonner les uns aux autres les petits défauts.
www.eternal-vehicles.fr
LUCAS: Il n'y a pas de contact où il le faut et il y en a un où il ne faut pas
On ne peut aller loin en amitié, si on n'est pas disposé à se pardonner les uns aux autres les petits défauts.
www.eternal-vehicles.fr