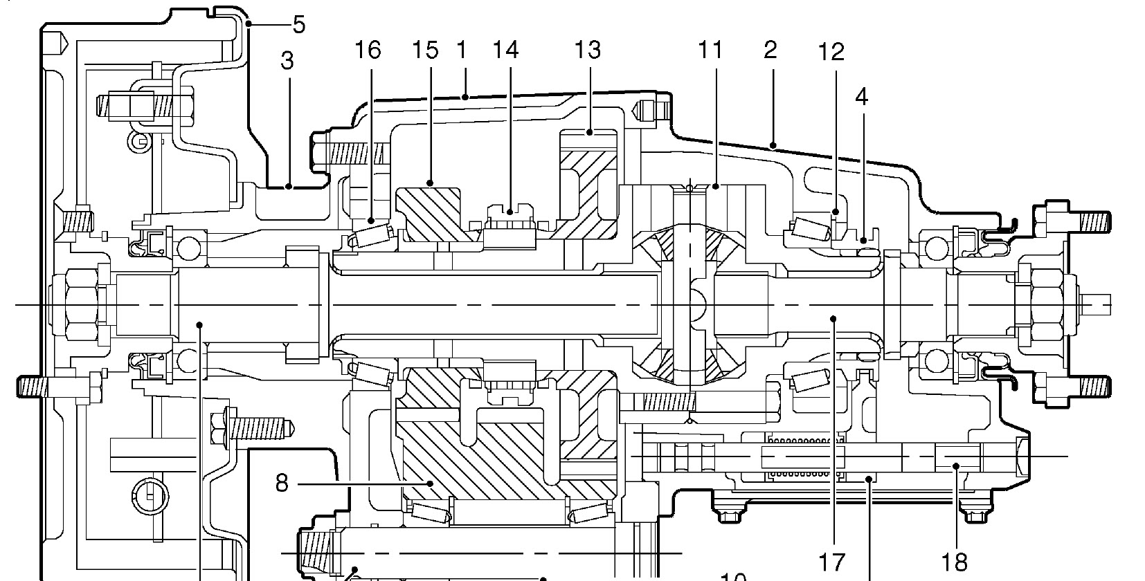
J'ai changé il y a quelque temps la tulipe de sortie AR de boite de transfert sur mon Defender 110 TD5. Ayant constaté une fuite au roulage, j'ai redémonté et je me suis rendu compte d'abord que je n'avais pas remis de rondelle en feutre et de 2, en mettant cette rondelle, je me suis rendu compte que j'avais monté la flasque pare poussière à l'envers...oui ok pas très malin. Je suis donc obligé de rechanger Spi et flasque. Ma question, est ce que quelqu'un peut me confirmer le sens de montage de la flasque pare poussière ? et que la rondelle feutre vient bien entre la rondelle metal et l'écrou de M20 ?
Est-il possible que j'ai abimé quelque chose en montant la flasque à l'envers (à part le spi) ? voilà plein de questions de débutant
Merci d'avance
