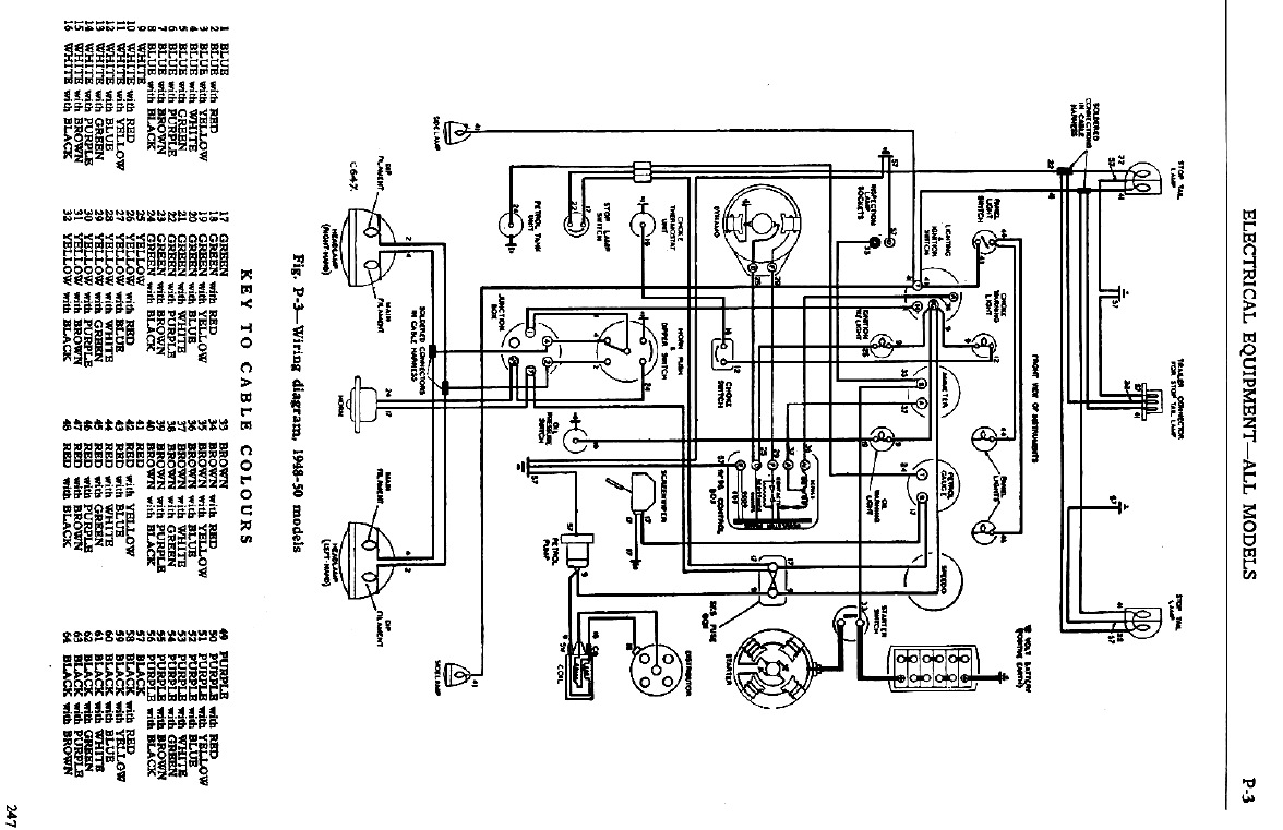
Ca pour moi, c'est de toute beauté. Chaque chose à sa place et chaque place a sa chose ! Dit M'sieur Cadbury, tu pourrais pas dire à Monsieur plus de le mettre entier le schémaDef e-Duck a écrit :
Extrait du schéma électrique 1948/1950 :
Couleur vert du logo Land Rover
Règles du forum
En naviguant sur le site http://www.landroverfaq.com vous reconnaissez avoir lu ses Conditions d’Utilisation, vous déclarez les comprendre et vous acceptez d’y être lié de manière inconditionnelle. Si tel n'est pas le cas, merci de quitter immédiatement ce site.
Vous pouvez joindre autant d'images que nécessaire à vos messages A LA CONDITION EXPRESSE d'utiliser l'hébergement fourni par le site.
L'administrateur effacera systématiquement tout message contenant des photos hébergées chez Imageschack, Casimage, Wistiti ou tout autre hébergeur tiers sans sommation ni justification.
En naviguant sur le site http://www.landroverfaq.com vous reconnaissez avoir lu ses Conditions d’Utilisation, vous déclarez les comprendre et vous acceptez d’y être lié de manière inconditionnelle. Si tel n'est pas le cas, merci de quitter immédiatement ce site.
Vous pouvez joindre autant d'images que nécessaire à vos messages A LA CONDITION EXPRESSE d'utiliser l'hébergement fourni par le site.
L'administrateur effacera systématiquement tout message contenant des photos hébergées chez Imageschack, Casimage, Wistiti ou tout autre hébergeur tiers sans sommation ni justification.
Re: Couleur vert du logo Land Rover
La boite à outils c'est aussi : LogMyGPS
- Def e-Duck
- Habitué
- Messages : 2098
- Enregistré le : 24/03/2008 19:22
- Localisation : boulogne dieppe
Re: Couleur vert du logo Land Rover
On reste sur 1948/1950 ?bisnouk a écrit :Ca pour moi, c'est de toute beauté. Chaque chose à sa place et chaque place a sa chose ! Dit M'sieur Cadbury, tu pourrais pas dire à Monsieur plus de le mettre entier le schémaDef e-Duck a écrit :
Extrait du schéma électrique 1948/1950 :
'Dire des idioties, de nos jours où tout le monde réfléchit profondément, c'est le seul moyen de prouver qu'on a une pensée libre et indépendante.' (Boris Vian)
- Def e-Duck
- Habitué
- Messages : 2098
- Enregistré le : 24/03/2008 19:22
- Localisation : boulogne dieppe
Re: Couleur vert du logo Land Rover
Je pense que les premiers Station Wagon, ceux en panneaux de bois faits par Tickford, datent de 1949. Or, on cherche quelque chose qui aurait existé dès 1948, non ? J'ai donc un doute pour la roof lamp.jean-yves 26 a écrit :une suggestion: pourquoi pas le plafonnier monté en option sur les versions de luxe ? c'est pour ça que je ne le vois pas, j'ai une bâchée
'Dire des idioties, de nos jours où tout le monde réfléchit profondément, c'est le seul moyen de prouver qu'on a une pensée libre et indépendante.' (Boris Vian)
Re: Couleur vert du logo Land Rover
Il serait intéressant de savoir si on trouve encore l'objet dans ces deux land modifiés(en arrière plan, ce sont également deux autres Def TD5)...
Modifié en dernier par bisnouk le 06/12/2011 10:44, modifié 1 fois.
La boite à outils c'est aussi : LogMyGPS
- LØLØ
- Modérateur
- Messages : 6210
- Enregistré le : 30/07/2006 15:41
- Localisation : guainville (28 )
- Contact :
Re: Couleur vert du logo Land Rover
Salut, je pense que Kébir aurait plié l'énigme en 2 temps trois mouvements, ou 2 indices 3 inters. Ou qu'il s'abstient pour d'autres raisons, je l'en remercie.jean-yves 26 a écrit :Y a un qui pourrai avoir de bonnes idées c'est Kébir...
Pater, là réponse est dans les indices. Mais perso, je ne sais pas trop évaluer comme ça, à vue on va dire 70%.
A+
2 solutions: la bonne et l'Anglaise
LUCAS: Il n'y a pas de contact où il le faut et il y en a un où il ne faut pas
On ne peut aller loin en amitié, si on n'est pas disposé à se pardonner les uns aux autres les petits défauts.
www.eternal-vehicles.fr
LUCAS: Il n'y a pas de contact où il le faut et il y en a un où il ne faut pas
On ne peut aller loin en amitié, si on n'est pas disposé à se pardonner les uns aux autres les petits défauts.
www.eternal-vehicles.fr
Re: Couleur vert du logo Land Rover
Salut à tous!
C'est tellement intrigant de voir qu'un sujet sur la couleur verte du logo Land Rover
fasse déjà 13 pages qu'on fini par le lire.
J'ai une question histoire de continuer de polluer le thème dans le même sens
_ A l'époque des série I, les tableaux de bord étaient-ils rétro éclairés?
C'est tellement intrigant de voir qu'un sujet sur la couleur verte du logo Land Rover
J'ai une question histoire de continuer de polluer le thème dans le même sens
_ A l'époque des série I, les tableaux de bord étaient-ils rétro éclairés?
" Quand le sage montre la lune; l'idiot regarde son doigt "
Re: Couleur vert du logo Land Rover
A la lecture du schéma posté plus haut, oui et commandé par un interrupteur placé sur la planche de bord.torero a écrit : _ A l'époque des série I, les tableaux de bord étaient-ils rétro éclairés?
La boite à outils c'est aussi : LogMyGPS
- Def e-Duck
- Habitué
- Messages : 2098
- Enregistré le : 24/03/2008 19:22
- Localisation : boulogne dieppe
Re: Couleur vert du logo Land Rover
Avec le faisceau (13) sur le dessin ci-dessous, il y a deux ampoules, répertoriées bulb panel lightbisnouk a écrit :A la lecture du schéma posté plus haut, oui et commandé par un interrupteur placé sur la planche de bord.torero a écrit : _ A l'époque des série I, les tableaux de bord étaient-ils rétro éclairés?
'Dire des idioties, de nos jours où tout le monde réfléchit profondément, c'est le seul moyen de prouver qu'on a une pensée libre et indépendante.' (Boris Vian)
- LØLØ
- Modérateur
- Messages : 6210
- Enregistré le : 30/07/2006 15:41
- Localisation : guainville (28 )
- Contact :
Re: Couleur vert du logo Land Rover
Ha? tiens Torero,
Salut, j'ai une question a te poser moi aussi:
. Donc après l'aveugle, l'archiviste, le rolling stones, oui parce que on est bien au temps du néolithique des lands et que le néolithique, c'est quand même le moment ou on a commencé à se soucier des états de surfaces
. On va passer à l'homme branché ou au courant.
L'indice du jour:
Un jour, un prof m'avais dit, du temps ou j'étais sur les bancs l'école:
Si vous avez la caractéristique U=f(I) d'un composant, vous devez être à même de le comprendre et de le mettre en œuvre... Ah?
PS:Je subodore, que nous attendons du trouveur, un magistral C.Q.F.D, avec preuves à l’appuies, dans lequel la majorité des indices seront démystifier. On ne saurait pas se contenter d'une vague hypothèse ou d'une nomenclature d'objets dans laquelle il faudrait faire son choix. Non?
A+
Salut, j'ai une question a te poser moi aussi:
Tu crois que ça marche avec autre chose que la lune aussi?torero a écrit :" Quand le sage montre la lune; l'idiot regarde son doigt "
A chacun son tour comme à confesse, j'aime bien ce mot la. Mais pas forcement dans le même sens que certainbisnouk a écrit :Ceux qui savent faire les calculs de rupture nous dirons peut être si les pièces 14/15/16 ne sont pas par hasard en laiton... Confirmation implicite que c'est bien dans le domaine électrique qu'il faut chercher. Enfin je crois !
L'indice du jour:
Un jour, un prof m'avais dit, du temps ou j'étais sur les bancs l'école:
Si vous avez la caractéristique U=f(I) d'un composant, vous devez être à même de le comprendre et de le mettre en œuvre... Ah?
A+
Modifié en dernier par LØLØ le 06/07/2012 22:11, modifié 1 fois.
2 solutions: la bonne et l'Anglaise
LUCAS: Il n'y a pas de contact où il le faut et il y en a un où il ne faut pas
On ne peut aller loin en amitié, si on n'est pas disposé à se pardonner les uns aux autres les petits défauts.
www.eternal-vehicles.fr
LUCAS: Il n'y a pas de contact où il le faut et il y en a un où il ne faut pas
On ne peut aller loin en amitié, si on n'est pas disposé à se pardonner les uns aux autres les petits défauts.
www.eternal-vehicles.fr
- Def e-Duck
- Habitué
- Messages : 2098
- Enregistré le : 24/03/2008 19:22
- Localisation : boulogne dieppe
Re: Couleur vert du logo Land Rover
Ça devrait être à la portée de l'Ohm néolithiqueLØLØ a écrit :Si vous avez la caractéristique U=f(I) d'un composant, vous devez être même de le comprendre et de le mettre en œuvre...
Bon, un fil conducteur qui s'échauffe sous l'effet d'une tension... un peu comme le fil de ce quiz avec l'échauffement des esprits
D'où possiblement la caractéristique intensité tension telle que tracée par cette courbe.
Et donc, dans le contexte du quiz, nous pourrions être en présence d'une lampe à incandescence
Parmi les matériaux, a-t-on du tungstène ?
'Dire des idioties, de nos jours où tout le monde réfléchit profondément, c'est le seul moyen de prouver qu'on a une pensée libre et indépendante.' (Boris Vian)
- jean-yves 26
- Habitué
- Messages : 2879
- Enregistré le : 06/11/2004 16:30
- Localisation : valence 26
Re: Couleur vert du logo Land Rover
vais l'appeler pour en avoir le coeur netLØLØ a écrit :Salut, je pense que Kébir aurait plié l'énigme en 2 temps trois mouvements, ou 2 indices 3 inters. Ou qu'il s'abstient pour d'autres raisons, je l'en remercie.jean-yves 26 a écrit :Y a un qui pourrai avoir de bonnes idées c'est Kébir...
A+
jean-yves 26
Re: Couleur vert du logo Land Rover
Même avis.... ou alors cela peut également être la courbe d'un galvanomètre à aiguilleDef e-Duck a écrit : Et donc, dans le contexte du quiz, nous pourrions être en présence d'une lampe à incandescence![]()
Mais si on parle d'une ampoule alors à 12V, on a 0,213 A soit 2,56 W, c'est beaucoup pour un voyant (puissance d'un feu de position / Plafonnier 5W)...
La boite à outils c'est aussi : LogMyGPS
- Def e-Duck
- Habitué
- Messages : 2098
- Enregistré le : 24/03/2008 19:22
- Localisation : boulogne dieppe
Re: Couleur vert du logo Land Rover
Je n'ai pas vérifié mais il me semble que l'alimentation du tableau était en 6V.bisnouk a écrit :Mais si on parle d'une ampoule alors à 12V, on a 0,213 A soit 2,56 W, c'est beaucoup pour un voyant (puissance d'un feu de position / Plafonnier 5W)...
'Dire des idioties, de nos jours où tout le monde réfléchit profondément, c'est le seul moyen de prouver qu'on a une pensée libre et indépendante.' (Boris Vian)
Re: Couleur vert du logo Land Rover
Oui peut être mais partant du principe que notre maître du jeu est aussi electro/electrotech/nicien, je ne pense pas qu'il ai tracé la courbe de transfert I/U à 200% des caractéristiques de l'objet. Il s'est arrêté à 15V soit juste au dessus de la tension de charge de l'alternateur donc j'en déduis que c'est un système prévu pour du 12 - 14,4 V.Def e-Duck a écrit : Je n'ai pas vérifié mais il me semble que l'alimentation du tableau était en 6V.
Ca, ça veut dire qu'on a approché l'objet dans nos conjectures, qu'on l'a cité indirectement dans un système complet.... Ca me rassure, parce que ça devenait insoluble...LØLØ a écrit : PS:Je subodore, que nous attendons du trouveur, un magistral C.Q.F.D, avec preuves à l’appuies, dans lequel la majorité des indices seront démystifier. On ne saurait pas se contenter d'une vague hypothèse ou d'une nomenclature d'objets dans laquelle il faudrait faire son choix. Non?![]()
A+
Bon ben reprenons ! Yaplukafoke
La boite à outils c'est aussi : LogMyGPS
Re: Couleur vert du logo Land Rover
Si je regarde le schéma que tu as posté, on a bien une batterie de 12V. un des éléments qu'on a pas disséqué et qui comporte d'après le schéma 3 plots, c'est la prise électrique pour connecter une remorque.
Ca pourrait coller avec l'indice
- des deux land en remorque
- les éléments : fer/laiton/plomb/etain/plastique/rondelles isolantes...
- la courbe de transfert pourrait être celle de la continuité électrique avec la résistance de surface... d'ou le dernier indice...
Par exemple :
‘54 to ‘57 Trailer socket and lead 3 pin ref lucas 809069 ref Rover 240696
Trailer plug and lead 3 pin 82011A
Reste à trouver un éclaté... mais j'affabule surement à force d'
Ca pourrait coller avec l'indice
- des deux land en remorque
- les éléments : fer/laiton/plomb/etain/plastique/rondelles isolantes...
- la courbe de transfert pourrait être celle de la continuité électrique avec la résistance de surface... d'ou le dernier indice...
Par exemple :
‘54 to ‘57 Trailer socket and lead 3 pin ref lucas 809069 ref Rover 240696
Trailer plug and lead 3 pin 82011A
Reste à trouver un éclaté... mais j'affabule surement à force d'

Modifié en dernier par bisnouk le 06/12/2011 11:22, modifié 1 fois.
La boite à outils c'est aussi : LogMyGPS
- The Pater
- Modérateur
- Messages : 13981
- Enregistré le : 25/08/2004 8:19
- Localisation : 06°27'46"E 45°50'29"N
Re: Couleur vert du logo Land Rover
Je croyais qu'un diamètre moyen de surface d'appuis se mesurait en mm, pas en %.....LØLØ a écrit : Pater, là réponse est dans les indices. Mais perso, je ne sais pas trop évaluer comme ça, à vue on va dire 70%.
A+
Ingénieur :
Personne faisant un travail divinatoire de précision basé sur des informations peu fiables données par des personnes peu qualifiées, voire ignorantes.
=>, magicien, devin, sorcier
Personne faisant un travail divinatoire de précision basé sur des informations peu fiables données par des personnes peu qualifiées, voire ignorantes.
=>, magicien, devin, sorcier
- Def e-Duck
- Habitué
- Messages : 2098
- Enregistré le : 24/03/2008 19:22
- Localisation : boulogne dieppe
Re: Couleur vert du logo Land Rover
Tu as raison, c'est un objet magnifiquebisnouk a écrit :Par exemple :
‘54 to ‘57 Trailer socket and lead 3 pin ref lucas 809069 ref Rover 240696
Trailer plug and lead 3 pin 82011A
Personnellement, je préfèrerais pour l'esthétique que ce soit un feu de position (12V 6W) les premiers avant de devenir plastique étaient cerclés métal, un peu comme ça :
'Dire des idioties, de nos jours où tout le monde réfléchit profondément, c'est le seul moyen de prouver qu'on a une pensée libre et indépendante.' (Boris Vian)
- Def e-Duck
- Habitué
- Messages : 2098
- Enregistré le : 24/03/2008 19:22
- Localisation : boulogne dieppe
Re: Couleur vert du logo Land Rover
Sur une serie II ou IIA, il me semble que l'on passe à 2 fusiblesjean-yves 26 a écrit :quand je vois le faisceau avec 1 fusiblemais en vrai c'est cauchemardesque de rouler la dedans
'Dire des idioties, de nos jours où tout le monde réfléchit profondément, c'est le seul moyen de prouver qu'on a une pensée libre et indépendante.' (Boris Vian)
- Def e-Duck
- Habitué
- Messages : 2098
- Enregistré le : 24/03/2008 19:22
- Localisation : boulogne dieppe
Re: Couleur vert du logo Land Rover
Un galvanomètre à aiguille. Il y aurait quoi, en dehors de l'ampèremètre (et de son shunt) ? Et pourquoi JY ne le verrait-il pas ?bisnouk a écrit :Même avis.... ou alors cela peut également être la courbe d'un galvanomètre à aiguilleDef e-Duck a écrit : Et donc, dans le contexte du quiz, nous pourrions être en présence d'une lampe à incandescence![]()
Reprenons le relevé intensité / voltage, en dehors d'un fil qui chauffe, d'un filament de lampe à incandescence, d'un système à aiguille de galvanomètre... cela pourrait être quoi d'autre encore ?
Il ne faut pas perdre de vue qu'il y avait tout un bazar électrique archaïque dans les premières series. Depuis le générateur au régulateur, au stabilisateur de tension, au pont de diodes, en passant par la boîte à 1 ou 2 fusibles, etc. Mais je ne saurais dire ce que tout cela donne, en fonction courant-tension...
Pour ma part, jusqu'à indice du contraire, ce qu'il nous a montré est la caractéristique d'une lampe à incandescence. Et je pense, avec une lentille blanche (en rapport avec les nuits blanches). Phare, veilleuse feu de position...
'Dire des idioties, de nos jours où tout le monde réfléchit profondément, c'est le seul moyen de prouver qu'on a une pensée libre et indépendante.' (Boris Vian)
Re: Couleur vert du logo Land Rover
Oui mais... je ne vois pas quel voyant répond aux indices... Ensuite la fonction de transfert i=f(U) n'est peut être pas la vocation première de l'objet mais la résultante dans le circuit.
J'ai beau décortiquer le schéma électrique, je cale.
J'ai beau décortiquer le schéma électrique, je cale.
La boite à outils c'est aussi : LogMyGPS