LT230 : Remontage et réglage
Règles du forum
En naviguant sur le site http://www.landroverfaq.com vous reconnaissez avoir lu ses Conditions d’Utilisation, vous déclarez les comprendre et vous acceptez d’y être lié de manière inconditionnelle. Si tel n'est pas le cas, merci de quitter immédiatement ce site.
Vous pouvez joindre autant d'images que nécessaire à vos messages A LA CONDITION EXPRESSE d'utiliser l'hébergement fourni par le site.
L'administrateur effacera systématiquement tout message contenant des photos hébergées chez Imageschack, Casimage, Wistiti ou tout autre hébergeur tiers sans sommation ni justification.
En naviguant sur le site http://www.landroverfaq.com vous reconnaissez avoir lu ses Conditions d’Utilisation, vous déclarez les comprendre et vous acceptez d’y être lié de manière inconditionnelle. Si tel n'est pas le cas, merci de quitter immédiatement ce site.
Vous pouvez joindre autant d'images que nécessaire à vos messages A LA CONDITION EXPRESSE d'utiliser l'hébergement fourni par le site.
L'administrateur effacera systématiquement tout message contenant des photos hébergées chez Imageschack, Casimage, Wistiti ou tout autre hébergeur tiers sans sommation ni justification.
LT230 : Remontage et réglage
Bonjour,
Ça y est, j’ai enfin pris le temps de trier les photos du remontage de ma LT230, et prends le temps de partager le remontage et réglage.
L’objectif de ce sujet n’est pas de détailler dans le détail le remontage, pour cela il y a le manuel qui est très bien fait. Le but de ce sujet et plutôt de montrer la manière de procéder aux différents réglages avec un outillage accessibles à tous.
1/ L’outillage
Voici l’outillage que j’ai été amené à utiliser :
- L’outil principal : le manuel de la LT230, que l’on peut se procurer facilement sur la toile !
- Outillage de métrologie. Je me suis procuré ces outils sur les sites marchands bien connus, et le tout à un prix très accessible.
o Pied à coulisse
o micromètre 0-25 mm pour mesurer les différentes cales de réglage
o micromètre 50-75mm qui m’a servie à mesurer l’entretoise de réglage de l’arbre intermédiaire
o comparateur et une base magnétique
o 1 support de perceuse, qui m’a servie de marbre et de support pour le comparateur (la tête d’une douille de 52mm pour les roulements de roue rentre pile poil dans le logement et sert de support à l’embase magnétique)
o Des pesons 0/1 kg et 0/10kg - Presse hydraulique 12T, elle aussi achetée à un prix très accessible sur la toile il y a quelques années, et déjà largement amortie ! En complément, j’ai recyclé un vielle planche à découper de cuisine en téflon, qui est très bien pour ne pas endommager les pièces lors de l’usage de la presse. - Une douille bricolée pour dévisser l’écrou plat d’assemblage des pignons sur le corps de différentiel. J’ai vu sur le net un autre exemple fabriqué à partir d’une douille de 52mm entaillée de chaque coté. - Une clef de blocage pour les tulipes - Une vieille bagues extérieure d’un roulement 6306, meulée sur l’extérieur, qui m’a servie de douille d’appuie pour emmancher les joints spi des arbres de sortie avant et arrière. - Un assortiment de douilles, tubes, vieilles bagues de roulements, etc. - 2 clefs dynamomètriques (une pour les petits couples, une pour les plus gros)
2/ Repérage au démontage
Au démontage, il faut tout repérer, et prendre un maximum de photos, cela évitera de se poser des questions lors du remontage. J’ai aussi pris un maximum de côtes (enfoncement des joints spi par exemple) et mesuré l’ensemble des cales de réglages.
J’ai repérer les pièces par ensemble, et les cales de réglages associées, avec des étiquettes accrochées avec des colliers plastiques.
Pour le différentiel, j’ai repérer la position des axes, satellites et planétaires en me servant des numéros apparaissant sur les satellites et planétaires.
La position angulaire des axes a été repérée avec un point. 3/Remontage/réglage du différentiel
Voici les différentes rondelles nécessaires. Pour le réglage, j’ai pris le parti de m’approvisionner avec plusieurs épaisseurs pour les rondelles de butées des planétaires. Je vous conseille de bien mesurer les rondelles que vous recevez, car il est probable qu’elles ne soient pas à la bonne épaisseur !
Dans mon cas :
- Référence FRC 9847 (épaisseur attendue 1.15 mm) : épaisseur mesurée 1.20mm
- FRC 9849 (1.25 mm) : 1.27 et 1.29 mm
- FRC 9851 (1.35 mm) : 1.40 mm Le réglage s’effectue par étape : d’abord le réglage du planétaire avant, puis ensuite le planétaire arrière, et enfin contrôle de l’ensemble. A chaque étape, il faut assembler le différentiel avec le planétaires à régler associée avec la rondelle choisie, serrer au couple les vis d’assemblage à 60 N.m (serrage en diagonal) puis mesurer l’effort de rotation nécessaire pour entrainer le différentiel en enroulant une ficelle autour du tambour de frein à main. Attention à bien aligner les repères, et à remonter les axes conformément aux repères réalisés lors du démontage. Mesure de l’effort de rotation : Attention à ne pas abimer les portés ou cannelures du corps de différentiel lors du serrage dans l’étau. J’ai protégé les zones sensibles avec du chatterton ou de la klingerite. Le réglage préconisé par le manuel est :
Avec un seul planétaire monté :
- Pignons usagés : effort = 0.45kg (en tournant « en douceur » citation du manuel)
- Pignons neufs : effort = 1.72 kg (en tournant avec des irrégularités)
Avec les deux planétaires montés :
- Pignons usagés : effort = 0.90kg (en tournant « en douceur » citation du manuel)
- Pignons neufs : effort = 3.44 kg (en tournant avec des irrégularités)
Mes rondelles au démontage faisaient entre 1.25mm et 1.35mm (mesures sur la partie non usée), j’ai donc essayé le réglage avec les FRC9849 (1.27 / 1.29mm) et FRC 9851 (1.40 mm).
Avec les FRC 9849, j’obtiens un effort de 0.25 kg sur chaque planétaire, et un effort global de 0.8 kg, et quelques irrégularités pour le faire tourner.
Avec les FRC 9851, j’obtiens un effort de 0.50 kg sur chaque planétaire, mais un effort global de plus de 5 kg et de très fortes irrégularités.
J’ai donc opté pour les rondelles FRC9849, même si l’effort de rotation et plus bas que la valeur demandée. A noter que si les FRC9851 avaient fait l’épaisseur nominale de 1.35, il est probable que mon réglage aurait pu être parfait…
Pour le montage finale, prendre soin de bien center les axes dans le corps de différentiel. L’assemblage des pignons ne pose pas de problème particulier en suivant le manuel. Le manuel préconise un jeu de 0.05 mm à 0.15 mm entre les pignons de courtes/longues et le crabot. Rien n’est précisé dans le manuel sur les diamètres et alésages… je vous communique pour info mes mesures et jeux associés : Soit des jeux :
- Arbre / douille de pignon de longues : entre 0.10 et 0.14 mm
- Pignon de longues / douille : entre 0.20 et 0.22 mm
- Arbre / pignon de courtes : 0.18 mm
Je n’ai pas de photo du serrage avec ma douille « bricolée », mais l’écrou d’assemblage doit être serré à 72N.m. Une fois l’ensemble monté, et les jeux axiaux contrôlés, ne pas oublier de freiner l’écrou d’assemblage.
4/Remontage / Réglage de l’arbre d’entrée
Pour monter les roulements, j’ai utilisé une bague intérieure d’un vieux roulement, coupée pour ne pas serrer sur l’arbre et ainsi pouvoir être retirée. Pour le réglage de la précharge, le manuel préconise de monter un cale de 3.15mm (la plus petit disponible), et de mesurer le jeu axial au comparateur. Sur les conseils de Pater, il faut réaliser plusieurs tours de l’arbre pour mettre les rouleaux en place. J’ai pu faire cela avec un gros manche de tournevis. La cale à monter, pour obtenir une précharge de 0.05mm doit être égale à : Je ne disposais pas de la cale de 3.15 mm. J’avais par contre une pochette de joint alors que ma boite n’en nécessite pas (montage à la pâte silicone). J’ai donc réalisé le réglage en montant un joint entre le boitier de roulement et le carter de boite. Le tout est de connaitre l’épaisse exact du joint une fois monté et serré. Pour cela, j’ai utilisé le comparateur en mesurant la hauteur H du croquis ci-dessous avec et sans le joint (montage serré au couple). L’épaisseur du joint serré est la différente entre les 2 valeurs H mesurées. Je pense que s’il s’agit d’une boite montée avec des joints, on doit pouvoir faire la même chose en superposant 2 joints l’un sur l’autre.
J’ai aussi profité de cette méthode pour réaliser la mesure sans silicone, et avec silicone. La mesure montre que l’épaisseur d’un joint de silicone n’est pas tout à fait nulle (entre 0.01 et 0.02mm).
Voici les mesures trouvées :
- Epaisseur du joint : 0.25 mm
- Mesure du jeu axial avec le joint monté : 0.15 mm, ce qui fait une précharge de 0.25-0.15=0.10 mm, soit 0.05mm de trop.
- Ma cale mesure 3.46mm (c’est sans doute une référence FRC9938), il faudrait donc monter une FRC9936 mesurant 3.40mm.
Etant donné que j’avais très envie de continuer mon montage, sans attendre l’approvisionnement d’une nouvelle cale, j’ai enlevé les quelques centièmes que j’avais en trop sur un papier au carborundum scotché sur un marbre de fortune (1 vitre arrière de 4L, mais un parebrise de Def fonctionnera aussi !) Contrôle au comparateur de la planéité de la cale après rectification (faire tourner la cale pour voir si le comparateur reste à 0) : Une fois le montage final réalisé, un contrôle final peut être réalisé en mesurant l’effort pour mettre en rotation l’arbre. Les valeurs suivantes proviennent d’un ancien manuel de LT230 :
Mini : 0.56 N.m
Maxi : 2.25 N.m
J’ai enroulé la ficelle (photo ci-dessous) sur un diamètre 50mm, cela correspond donc en effort de
Mini : 2.2 kg
Maxi : 9.2 kg J’ai obtenu entre 2.5kg et 3.5kg, j’ai donc validé le montage.
5/Remontage de l’arbre de sortie avant et arrière
Le manuel préconise de chauffer les carters à 100°C avant d’y poser les roulements à billes.
J’ai placé les pièces pendant quelques minutes dans le four chauffé à 120°C puis test du crachat ! Si ça bouillonne, c’est bon ! Le roulement est rentré tout seul, même pas besoin de presse. Lors de la pose du circlip, attention à ne pas faire de marques dans le logement, ce qui pourrait causer des défauts d’étanchéité du joint spi. Pour monter les arbres, il faut faire attention à ne pas marquer la piste du roulement. Il ne faut donc pas que l’effort passe par les billes. Une douille doit donc être utilisée pour s’appuyer sur la bague intérieure des roulements. Pour le montage des joints spi, j’ai utilisé la bague de roulement 6306, sur laquelle j’ai reporté un repère pour la profondeur d’insertion (cote relevé au démontage). Pour le boitier avant, l’assemblage doit être fait après avoir déterminé la précharge des roulements coniques de différentiel.
6/Remontage / Réglage des roulements coniques de différentiel
Pour cette étape, la bague de roulement doit être placée dans le carter principal, et le carter de sortie arrière doit être monté. Prendre soin de respecter l’enfoncement de la bague préconisée dans le manuel (1mm), cela garanti que c’est le carter arrière qui viendra pousser la bague dans sa position définitive.
De même, il faut monter la cale de réglage, et le bague dans le carter de sortie avant. Après montage des bagues, il peut être pas mal de vérifier que la bague et bien en butée et essayant d’y passer un cale de 0.05mm. Sur la photo ci-dessous, ce n’était pas le cas ! La méthode de réglage préconisée par Land Rover est une méthode par comparaison, nécessitant un outillage spécifique que je n’ai pas. J’ai donc adapté une méthode par comparaison avec des moyens de fortune. Comme je n’étais pas certains de mon coup, j’ai aussi contrôlé les valeurs en appliquant la même technique que pour l’arbre d’entrée (mesure du jeu axial en intercalant un joint pour créer le jeu nécessaire). Je vais donc détailler les 2 méthodes :
6.1 / Méthode par comparaison
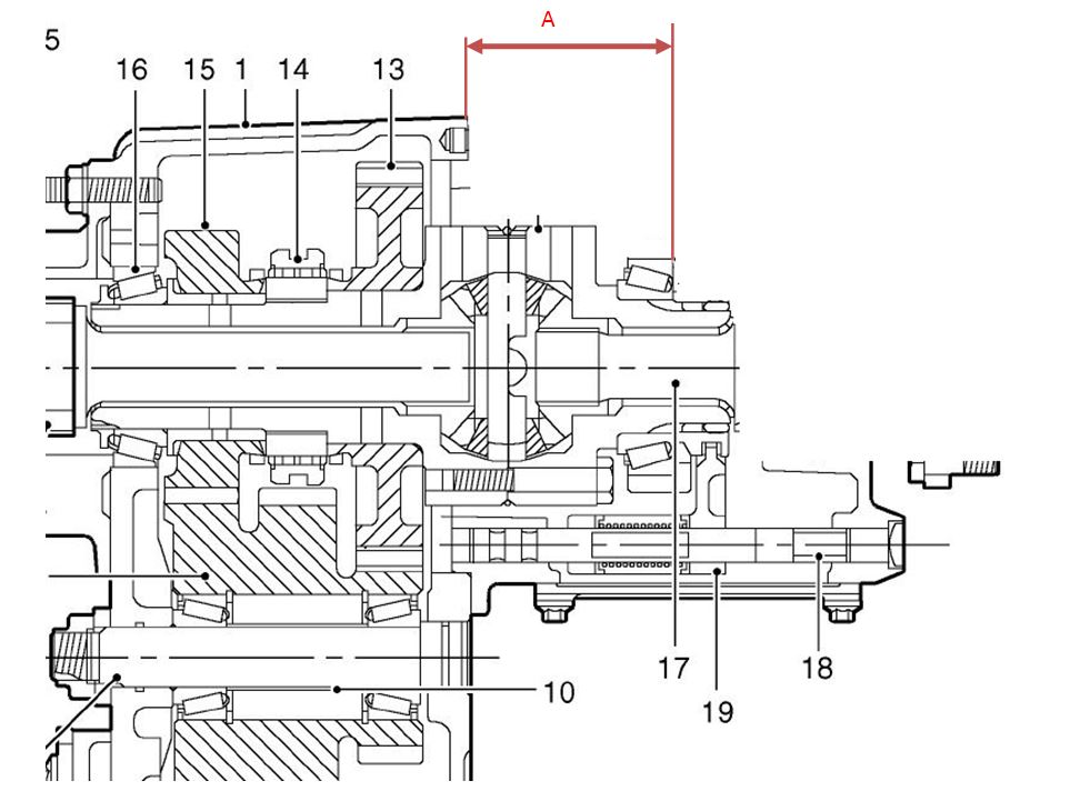
Le principe consiste à comparer les cotes repérées A et B sur les schémas suivants. La cote B doit être inférieure de 0.05 mm à la cote A. Le plus dur a été de trouver l’empilement de pièces en tout genre qui m’a servi de référence. En effet, ces pièces, douilles, etc doivent s’empiler sur des surface usinées ou rectifiées, sans quoi l’empilement va être bancal et la mesure impossible.
Ci-dessous photo de la mesure avec l’ensemble différentiel placé dans le carter principal. A noter que si votre BT est équipée de joint, celui-ci doit être placé sous la pièce de référence pour prendre en compte son épaisseur. La même mesure a ensuite été réalisée en plaçant l’empilement de référence dans le carter de sortie avant, en prenant soit d’y placer la cale de réglage.
Voici les mesures trouvée:
A = REF-9.05
B=REF-9.15
Donc précharge = 0.10 mm, soit 0.05 mm de trop.
Ma cale doit donc être diminuée de 0.05 mm.
6.2 / Méthode par mesure du jeu axial
La première chose à faire est de monter un joint entre le carter avant et le carter principal (ou 2 joints si votre BT est équipé de joints) et d’évaluer l’épaisseur du joint une fois le carter serré au couple, selon la même technique que pour le réglage de l’arbre d’entrée.
Ensuite, il faut mesurer le débattement au comparateur après avoir fait faire plusieurs tours à l’ensemble pour mettre en place les rouleaux. Pour effecteur le débattement, on peut prendre un gros tournevis (ou un démonte pneu) et faire levier entre le pignon de courtes et le carter.
A noter que si vous avez sous le coude plusieurs cales de réglage , le plus simple est de monter la cale la plus petite pour réaliser cette mesure.
Les mesures trouvées sont :
- Epaisseur du joint : 0.25mm
- Débattement : 0.15 mm
- Donc une précharge de 0.25-0.15 = 0.10 mm ! La même valeur qu’avec la première méthode !
Une fois l’ensemble assemblé définitivement, on peut contrôler l’effort de rotation nécessaire pour entrainer l’ensemble. La tolérance est :
Mini : 1.36kg
Maxi : 4.53 kg
J’ai obtenu 2.5kg, le montage est donc validé ! 7/ Remontage / Réglage de l’arbre intermédiaire
NB : La méthode décrite ici ne s’applique que pour les entretoises non déformables !
Première étape : montage des bagues de roulements dans l’ensemble pignon intermédiaires.
J’ai utilisé un vieux roulement qui avait le bon diamètre pour pousser les bagues à la presse. Ici aussi, contrôler que les bagues sont bien en butée, en essayant de passer une cale de 0.05mm entre le circlips et la bague. Je ne sais pas si cela est primordiale, mais j’ai repérer les roulements (côté courtes, et côtés longues) pour ne pas tous mélanger. La méthode de réglage préconisée est ici aussi une méthode par comparaison. J’ai tenté la méthode de mesure du jeu axial, sans succès (voir discussion avec The Pater ici https://www.landroverfaq.com/viewtopic.php?f=26&t=7193), probablement du fait du petit diamètre des roulements.
Ici aussi, je n’ai pas le matériel préconisé… La méthode adoptée consiste à comparer :
- La cote de l’empilement des roulements et de l’ensemble pignons intermédiaire sans l’entretoise --> régler le comparateur à 0
- La cote de l’empilement des bagues intérieures et de l’entretoise qui doit être plus courte que la valeur précédente de 0.05 mm --> la valeur lue sur le comparateur est directement la précharge.
Sur les photos :
- Les deux vieilles bagues cerclées en rouges ne servent qu’à faciliter la mesure avec le comparateur.
- Le vieux roulement cerclé en bleu sert d’embase car l’empilement n’est pas très stable. La mesure est assez délicate, et j’ai répété et moyenné un grand nombre de mesures pour minimiser les erreurs.
Les mesures effectuées dans mon cas ont montré que mon entretoise était trop grande. J'avais en effet 0.01mm de jeu, à la place des 0.05mm de précharge. Mon entretoise a donc été ajustée, toujours au papier de verre sur un marbre. La mesure finale me donne une précharge de 0.06mm.
En vérification finale, le couple d’entrainement doit se situer entre :
Mini 0.56 N.m
Maxi : 1.69 N.m
La ficelle étant enroulée sur un diamètre 103 mm, cela donne en effort :
Mini = 1.1 Kg
Maxi : 3.35 Kg
Ma mesure me donne 2.2 kg, c’est donc OK 8/ Remontage des autres éléments
La suite du remontage ne présente pas de difficultés particulières. Il suffit de suivre le manuel.
La seule chose sur laquelle je me suis fait avoir : le manuel préconise de remontage de l’axe et de la fourchette du sélecteur de blocage de différentiel après avoir réassemblé le carter sur la boite. Mais pour cela il faudrait enlever la pastille ci-dessous. Le mieux est donc de remonter l’axe et la fourchette en passant par l’autre coté avant de réassembler le carter sur la boite. Les commentaires sont les bienvenus, j’éditerai, compléterai, corrigerai si cela est nécessaire !
A bientôt
Ça y est, j’ai enfin pris le temps de trier les photos du remontage de ma LT230, et prends le temps de partager le remontage et réglage.
L’objectif de ce sujet n’est pas de détailler dans le détail le remontage, pour cela il y a le manuel qui est très bien fait. Le but de ce sujet et plutôt de montrer la manière de procéder aux différents réglages avec un outillage accessibles à tous.
1/ L’outillage
Voici l’outillage que j’ai été amené à utiliser :
- L’outil principal : le manuel de la LT230, que l’on peut se procurer facilement sur la toile !
- Outillage de métrologie. Je me suis procuré ces outils sur les sites marchands bien connus, et le tout à un prix très accessible.
o Pied à coulisse
o micromètre 0-25 mm pour mesurer les différentes cales de réglage
o micromètre 50-75mm qui m’a servie à mesurer l’entretoise de réglage de l’arbre intermédiaire
o comparateur et une base magnétique
o 1 support de perceuse, qui m’a servie de marbre et de support pour le comparateur (la tête d’une douille de 52mm pour les roulements de roue rentre pile poil dans le logement et sert de support à l’embase magnétique)
o Des pesons 0/1 kg et 0/10kg - Presse hydraulique 12T, elle aussi achetée à un prix très accessible sur la toile il y a quelques années, et déjà largement amortie ! En complément, j’ai recyclé un vielle planche à découper de cuisine en téflon, qui est très bien pour ne pas endommager les pièces lors de l’usage de la presse. - Une douille bricolée pour dévisser l’écrou plat d’assemblage des pignons sur le corps de différentiel. J’ai vu sur le net un autre exemple fabriqué à partir d’une douille de 52mm entaillée de chaque coté. - Une clef de blocage pour les tulipes - Une vieille bagues extérieure d’un roulement 6306, meulée sur l’extérieur, qui m’a servie de douille d’appuie pour emmancher les joints spi des arbres de sortie avant et arrière. - Un assortiment de douilles, tubes, vieilles bagues de roulements, etc. - 2 clefs dynamomètriques (une pour les petits couples, une pour les plus gros)
2/ Repérage au démontage
Au démontage, il faut tout repérer, et prendre un maximum de photos, cela évitera de se poser des questions lors du remontage. J’ai aussi pris un maximum de côtes (enfoncement des joints spi par exemple) et mesuré l’ensemble des cales de réglages.
J’ai repérer les pièces par ensemble, et les cales de réglages associées, avec des étiquettes accrochées avec des colliers plastiques.
Pour le différentiel, j’ai repérer la position des axes, satellites et planétaires en me servant des numéros apparaissant sur les satellites et planétaires.
La position angulaire des axes a été repérée avec un point. 3/Remontage/réglage du différentiel
Voici les différentes rondelles nécessaires. Pour le réglage, j’ai pris le parti de m’approvisionner avec plusieurs épaisseurs pour les rondelles de butées des planétaires. Je vous conseille de bien mesurer les rondelles que vous recevez, car il est probable qu’elles ne soient pas à la bonne épaisseur !
Dans mon cas :
- Référence FRC 9847 (épaisseur attendue 1.15 mm) : épaisseur mesurée 1.20mm
- FRC 9849 (1.25 mm) : 1.27 et 1.29 mm
- FRC 9851 (1.35 mm) : 1.40 mm Le réglage s’effectue par étape : d’abord le réglage du planétaire avant, puis ensuite le planétaire arrière, et enfin contrôle de l’ensemble. A chaque étape, il faut assembler le différentiel avec le planétaires à régler associée avec la rondelle choisie, serrer au couple les vis d’assemblage à 60 N.m (serrage en diagonal) puis mesurer l’effort de rotation nécessaire pour entrainer le différentiel en enroulant une ficelle autour du tambour de frein à main. Attention à bien aligner les repères, et à remonter les axes conformément aux repères réalisés lors du démontage. Mesure de l’effort de rotation : Attention à ne pas abimer les portés ou cannelures du corps de différentiel lors du serrage dans l’étau. J’ai protégé les zones sensibles avec du chatterton ou de la klingerite. Le réglage préconisé par le manuel est :
Avec un seul planétaire monté :
- Pignons usagés : effort = 0.45kg (en tournant « en douceur » citation du manuel)
- Pignons neufs : effort = 1.72 kg (en tournant avec des irrégularités)
Avec les deux planétaires montés :
- Pignons usagés : effort = 0.90kg (en tournant « en douceur » citation du manuel)
- Pignons neufs : effort = 3.44 kg (en tournant avec des irrégularités)
Mes rondelles au démontage faisaient entre 1.25mm et 1.35mm (mesures sur la partie non usée), j’ai donc essayé le réglage avec les FRC9849 (1.27 / 1.29mm) et FRC 9851 (1.40 mm).
Avec les FRC 9849, j’obtiens un effort de 0.25 kg sur chaque planétaire, et un effort global de 0.8 kg, et quelques irrégularités pour le faire tourner.
Avec les FRC 9851, j’obtiens un effort de 0.50 kg sur chaque planétaire, mais un effort global de plus de 5 kg et de très fortes irrégularités.
J’ai donc opté pour les rondelles FRC9849, même si l’effort de rotation et plus bas que la valeur demandée. A noter que si les FRC9851 avaient fait l’épaisseur nominale de 1.35, il est probable que mon réglage aurait pu être parfait…
Pour le montage finale, prendre soin de bien center les axes dans le corps de différentiel. L’assemblage des pignons ne pose pas de problème particulier en suivant le manuel. Le manuel préconise un jeu de 0.05 mm à 0.15 mm entre les pignons de courtes/longues et le crabot. Rien n’est précisé dans le manuel sur les diamètres et alésages… je vous communique pour info mes mesures et jeux associés : Soit des jeux :
- Arbre / douille de pignon de longues : entre 0.10 et 0.14 mm
- Pignon de longues / douille : entre 0.20 et 0.22 mm
- Arbre / pignon de courtes : 0.18 mm
Je n’ai pas de photo du serrage avec ma douille « bricolée », mais l’écrou d’assemblage doit être serré à 72N.m. Une fois l’ensemble monté, et les jeux axiaux contrôlés, ne pas oublier de freiner l’écrou d’assemblage.
4/Remontage / Réglage de l’arbre d’entrée
Pour monter les roulements, j’ai utilisé une bague intérieure d’un vieux roulement, coupée pour ne pas serrer sur l’arbre et ainsi pouvoir être retirée. Pour le réglage de la précharge, le manuel préconise de monter un cale de 3.15mm (la plus petit disponible), et de mesurer le jeu axial au comparateur. Sur les conseils de Pater, il faut réaliser plusieurs tours de l’arbre pour mettre les rouleaux en place. J’ai pu faire cela avec un gros manche de tournevis. La cale à monter, pour obtenir une précharge de 0.05mm doit être égale à : Je ne disposais pas de la cale de 3.15 mm. J’avais par contre une pochette de joint alors que ma boite n’en nécessite pas (montage à la pâte silicone). J’ai donc réalisé le réglage en montant un joint entre le boitier de roulement et le carter de boite. Le tout est de connaitre l’épaisse exact du joint une fois monté et serré. Pour cela, j’ai utilisé le comparateur en mesurant la hauteur H du croquis ci-dessous avec et sans le joint (montage serré au couple). L’épaisseur du joint serré est la différente entre les 2 valeurs H mesurées. Je pense que s’il s’agit d’une boite montée avec des joints, on doit pouvoir faire la même chose en superposant 2 joints l’un sur l’autre.
J’ai aussi profité de cette méthode pour réaliser la mesure sans silicone, et avec silicone. La mesure montre que l’épaisseur d’un joint de silicone n’est pas tout à fait nulle (entre 0.01 et 0.02mm).
Voici les mesures trouvées :
- Epaisseur du joint : 0.25 mm
- Mesure du jeu axial avec le joint monté : 0.15 mm, ce qui fait une précharge de 0.25-0.15=0.10 mm, soit 0.05mm de trop.
- Ma cale mesure 3.46mm (c’est sans doute une référence FRC9938), il faudrait donc monter une FRC9936 mesurant 3.40mm.
Etant donné que j’avais très envie de continuer mon montage, sans attendre l’approvisionnement d’une nouvelle cale, j’ai enlevé les quelques centièmes que j’avais en trop sur un papier au carborundum scotché sur un marbre de fortune (1 vitre arrière de 4L, mais un parebrise de Def fonctionnera aussi !) Contrôle au comparateur de la planéité de la cale après rectification (faire tourner la cale pour voir si le comparateur reste à 0) : Une fois le montage final réalisé, un contrôle final peut être réalisé en mesurant l’effort pour mettre en rotation l’arbre. Les valeurs suivantes proviennent d’un ancien manuel de LT230 :
Mini : 0.56 N.m
Maxi : 2.25 N.m
J’ai enroulé la ficelle (photo ci-dessous) sur un diamètre 50mm, cela correspond donc en effort de
Mini : 2.2 kg
Maxi : 9.2 kg J’ai obtenu entre 2.5kg et 3.5kg, j’ai donc validé le montage.
5/Remontage de l’arbre de sortie avant et arrière
Le manuel préconise de chauffer les carters à 100°C avant d’y poser les roulements à billes.
J’ai placé les pièces pendant quelques minutes dans le four chauffé à 120°C puis test du crachat ! Si ça bouillonne, c’est bon ! Le roulement est rentré tout seul, même pas besoin de presse. Lors de la pose du circlip, attention à ne pas faire de marques dans le logement, ce qui pourrait causer des défauts d’étanchéité du joint spi. Pour monter les arbres, il faut faire attention à ne pas marquer la piste du roulement. Il ne faut donc pas que l’effort passe par les billes. Une douille doit donc être utilisée pour s’appuyer sur la bague intérieure des roulements. Pour le montage des joints spi, j’ai utilisé la bague de roulement 6306, sur laquelle j’ai reporté un repère pour la profondeur d’insertion (cote relevé au démontage). Pour le boitier avant, l’assemblage doit être fait après avoir déterminé la précharge des roulements coniques de différentiel.
6/Remontage / Réglage des roulements coniques de différentiel
Pour cette étape, la bague de roulement doit être placée dans le carter principal, et le carter de sortie arrière doit être monté. Prendre soin de respecter l’enfoncement de la bague préconisée dans le manuel (1mm), cela garanti que c’est le carter arrière qui viendra pousser la bague dans sa position définitive.
De même, il faut monter la cale de réglage, et le bague dans le carter de sortie avant. Après montage des bagues, il peut être pas mal de vérifier que la bague et bien en butée et essayant d’y passer un cale de 0.05mm. Sur la photo ci-dessous, ce n’était pas le cas ! La méthode de réglage préconisée par Land Rover est une méthode par comparaison, nécessitant un outillage spécifique que je n’ai pas. J’ai donc adapté une méthode par comparaison avec des moyens de fortune. Comme je n’étais pas certains de mon coup, j’ai aussi contrôlé les valeurs en appliquant la même technique que pour l’arbre d’entrée (mesure du jeu axial en intercalant un joint pour créer le jeu nécessaire). Je vais donc détailler les 2 méthodes :
6.1 / Méthode par comparaison
Le principe consiste à comparer les cotes repérées A et B sur les schémas suivants. La cote B doit être inférieure de 0.05 mm à la cote A. Le plus dur a été de trouver l’empilement de pièces en tout genre qui m’a servi de référence. En effet, ces pièces, douilles, etc doivent s’empiler sur des surface usinées ou rectifiées, sans quoi l’empilement va être bancal et la mesure impossible.
Ci-dessous photo de la mesure avec l’ensemble différentiel placé dans le carter principal. A noter que si votre BT est équipée de joint, celui-ci doit être placé sous la pièce de référence pour prendre en compte son épaisseur. La même mesure a ensuite été réalisée en plaçant l’empilement de référence dans le carter de sortie avant, en prenant soit d’y placer la cale de réglage.
Voici les mesures trouvée:
A = REF-9.05
B=REF-9.15
Donc précharge = 0.10 mm, soit 0.05 mm de trop.
Ma cale doit donc être diminuée de 0.05 mm.
6.2 / Méthode par mesure du jeu axial
La première chose à faire est de monter un joint entre le carter avant et le carter principal (ou 2 joints si votre BT est équipé de joints) et d’évaluer l’épaisseur du joint une fois le carter serré au couple, selon la même technique que pour le réglage de l’arbre d’entrée.
Ensuite, il faut mesurer le débattement au comparateur après avoir fait faire plusieurs tours à l’ensemble pour mettre en place les rouleaux. Pour effecteur le débattement, on peut prendre un gros tournevis (ou un démonte pneu) et faire levier entre le pignon de courtes et le carter.
A noter que si vous avez sous le coude plusieurs cales de réglage , le plus simple est de monter la cale la plus petite pour réaliser cette mesure.
Les mesures trouvées sont :
- Epaisseur du joint : 0.25mm
- Débattement : 0.15 mm
- Donc une précharge de 0.25-0.15 = 0.10 mm ! La même valeur qu’avec la première méthode !
Une fois l’ensemble assemblé définitivement, on peut contrôler l’effort de rotation nécessaire pour entrainer l’ensemble. La tolérance est :
Mini : 1.36kg
Maxi : 4.53 kg
J’ai obtenu 2.5kg, le montage est donc validé ! 7/ Remontage / Réglage de l’arbre intermédiaire
NB : La méthode décrite ici ne s’applique que pour les entretoises non déformables !
Première étape : montage des bagues de roulements dans l’ensemble pignon intermédiaires.
J’ai utilisé un vieux roulement qui avait le bon diamètre pour pousser les bagues à la presse. Ici aussi, contrôler que les bagues sont bien en butée, en essayant de passer une cale de 0.05mm entre le circlips et la bague. Je ne sais pas si cela est primordiale, mais j’ai repérer les roulements (côté courtes, et côtés longues) pour ne pas tous mélanger. La méthode de réglage préconisée est ici aussi une méthode par comparaison. J’ai tenté la méthode de mesure du jeu axial, sans succès (voir discussion avec The Pater ici https://www.landroverfaq.com/viewtopic.php?f=26&t=7193), probablement du fait du petit diamètre des roulements.
Ici aussi, je n’ai pas le matériel préconisé… La méthode adoptée consiste à comparer :
- La cote de l’empilement des roulements et de l’ensemble pignons intermédiaire sans l’entretoise --> régler le comparateur à 0
- La cote de l’empilement des bagues intérieures et de l’entretoise qui doit être plus courte que la valeur précédente de 0.05 mm --> la valeur lue sur le comparateur est directement la précharge.
Sur les photos :
- Les deux vieilles bagues cerclées en rouges ne servent qu’à faciliter la mesure avec le comparateur.
- Le vieux roulement cerclé en bleu sert d’embase car l’empilement n’est pas très stable. La mesure est assez délicate, et j’ai répété et moyenné un grand nombre de mesures pour minimiser les erreurs.
Les mesures effectuées dans mon cas ont montré que mon entretoise était trop grande. J'avais en effet 0.01mm de jeu, à la place des 0.05mm de précharge. Mon entretoise a donc été ajustée, toujours au papier de verre sur un marbre. La mesure finale me donne une précharge de 0.06mm.
En vérification finale, le couple d’entrainement doit se situer entre :
Mini 0.56 N.m
Maxi : 1.69 N.m
La ficelle étant enroulée sur un diamètre 103 mm, cela donne en effort :
Mini = 1.1 Kg
Maxi : 3.35 Kg
Ma mesure me donne 2.2 kg, c’est donc OK 8/ Remontage des autres éléments
La suite du remontage ne présente pas de difficultés particulières. Il suffit de suivre le manuel.
La seule chose sur laquelle je me suis fait avoir : le manuel préconise de remontage de l’axe et de la fourchette du sélecteur de blocage de différentiel après avoir réassemblé le carter sur la boite. Mais pour cela il faudrait enlever la pastille ci-dessous. Le mieux est donc de remonter l’axe et la fourchette en passant par l’autre coté avant de réassembler le carter sur la boite. Les commentaires sont les bienvenus, j’éditerai, compléterai, corrigerai si cela est nécessaire !
A bientôt
- The Pater
- Modérateur
- Messages : 13982
- Enregistré le : 25/08/2004 8:19
- Localisation : 06°27'46"E 45°50'29"N
Re: LT230 : Remontage et réglage
Ah, dommage, j'ai zappé ce sujet.
Quel manuel d'atelier as tu utilisé ?
J'ai ceux des LT230 Q, R et T et il ne semble pas que tu suives ceux-là.
A+
Quel manuel d'atelier as tu utilisé ?
J'ai ceux des LT230 Q, R et T et il ne semble pas que tu suives ceux-là.
A+
Ingénieur :
Personne faisant un travail divinatoire de précision basé sur des informations peu fiables données par des personnes peu qualifiées, voire ignorantes.
=>, magicien, devin, sorcier
Personne faisant un travail divinatoire de précision basé sur des informations peu fiables données par des personnes peu qualifiées, voire ignorantes.
=>, magicien, devin, sorcier
Re: LT230 : Remontage et réglage
Salut,
J'ai utilisé :
- le manuel de la LT230T,
- un vieux manuel LT230 range rover de 1987, qui m'a servi pour avoir les couples d'entrainement des roulements car,à l'époque la procédure de réglage pour les différentes précharges des roulements passait par une mesure de l'effort d'entrainement.
a+
J'ai utilisé :
- le manuel de la LT230T,
- un vieux manuel LT230 range rover de 1987, qui m'a servi pour avoir les couples d'entrainement des roulements car,à l'époque la procédure de réglage pour les différentes précharges des roulements passait par une mesure de l'effort d'entrainement.
a+
Re: LT230 : Remontage et réglage
Merci pour ce magnifique tuto que je viens de le découvrir car j'ai démonté une boite de transfert . Je suis en train de confectionner des outils spécifiques pour le démontage, remontage et justement je me posais la question comment faire la précharge des roulements quand on ne dispose pas de l'outillage spécifique . j'étais en train plancher sur la précharge des roulements de l'arbre intermédiaire , le moins évident à faire donc j'ai plus à me casser la tête. Les autres précharges ça va c'est pas trop difficile. J'ai à peu près tout ce qu'il faut , presse, décolle roulement, plusieurs micromètres dont un de profondeur + intérieur , comparateur ça devrait bien se passer.
Juste une petite question concernant les roulements 6207 . Sur un autre tuto j'ai lu que le Pater parlait d'un jeu C3 pour ces roulements . Je les ai déposé , j'ai trouvé des SKF en jeu normal (boite de Td5).
Marquage : SKF 6207 320152A EXPLORER. Alors C3 ou jeu normal?
Juste une petite question concernant les roulements 6207 . Sur un autre tuto j'ai lu que le Pater parlait d'un jeu C3 pour ces roulements . Je les ai déposé , j'ai trouvé des SKF en jeu normal (boite de Td5).
Marquage : SKF 6207 320152A EXPLORER. Alors C3 ou jeu normal?
Re: LT230 : Remontage et réglage
Bonjour
Merci, et content que le sujet serve.
J'ai eu la même chose sur le roulement 6207 de la BT de mon td5 (origine en jeu normal, pièce de remplacement en jeu c3). J'avais échangé avec Pater dans le sujet sur l'autopsie de la lt230. J'ai remonté les roulements en jeux c3, et tout va bien après plusieurs milliers de km ! Ne t'inquiète donc pas de ce côté là jeu normal ou C3 ça fonctionne.
Bon courage et n'hésite pas à rajouter ton retour d'expérience.
A plus
Merci, et content que le sujet serve.
J'ai eu la même chose sur le roulement 6207 de la BT de mon td5 (origine en jeu normal, pièce de remplacement en jeu c3). J'avais échangé avec Pater dans le sujet sur l'autopsie de la lt230. J'ai remonté les roulements en jeux c3, et tout va bien après plusieurs milliers de km ! Ne t'inquiète donc pas de ce côté là jeu normal ou C3 ça fonctionne.
Bon courage et n'hésite pas à rajouter ton retour d'expérience.
A plus
Re: LT230 : Remontage et réglage
O.K. merci , on va laisser en jeu normal comme la monte d'origine. Les bagues externes ne sont pas montées serrées et les températures de fonctionnement ne doivent pas êtres si élevées que ça, de toute façon ça ne changera pas grand chose.
- The Pater
- Modérateur
- Messages : 13982
- Enregistré le : 25/08/2004 8:19
- Localisation : 06°27'46"E 45°50'29"N
Re: LT230 : Remontage et réglage
Il date de quand ton Td5 ?Escanogat a écrit : 19/09/2020 15:03 Juste une petite question concernant les roulements 6207 . Sur un autre tuto j'ai lu que le Pater parlait d'un jeu C3 pour ces roulements . Je les ai déposé , j'ai trouvé des SKF en jeu normal (boite de Td5).
Marquage : SKF 6207 320152A EXPLORER. Alors C3 ou jeu normal?
A+
Ingénieur :
Personne faisant un travail divinatoire de précision basé sur des informations peu fiables données par des personnes peu qualifiées, voire ignorantes.
=>, magicien, devin, sorcier
Personne faisant un travail divinatoire de précision basé sur des informations peu fiables données par des personnes peu qualifiées, voire ignorantes.
=>, magicien, devin, sorcier
Re: LT230 : Remontage et réglage
J'en sais rien , je n'ai pas posé la question, il est reparti avec autre boite de transfert. Je pensai pouvoir la refaire mais tout est pratiquement mort . Donc je récupère quelques éléments pour faire des outils de montage et aussi je garde le carter principal pour le fretter , le carte de sortie AR (l'avant est fendu) tout le reste part à la ferraille.
- The Pater
- Modérateur
- Messages : 13982
- Enregistré le : 25/08/2004 8:19
- Localisation : 06°27'46"E 45°50'29"N
Re: LT230 : Remontage et réglage
Pour info si la BT n'avait jamais été ouverte et d'origine sur véhicule, alors le véhicule daterait de 2004 ou 2005.
Si le véhicule date d'avant, alors il aurait déjà eu des réparations faites sur la BT.
A+
Ingénieur :
Personne faisant un travail divinatoire de précision basé sur des informations peu fiables données par des personnes peu qualifiées, voire ignorantes.
=>, magicien, devin, sorcier
Personne faisant un travail divinatoire de précision basé sur des informations peu fiables données par des personnes peu qualifiées, voire ignorantes.
=>, magicien, devin, sorcier
Re: LT230 : Remontage et réglage
A première vue pour moi la boite n'avait jamais été ouverte . Elle a rendu l'âme suite à un manque d'huile sans toutefois être bloquée . le Timken d'entrée de boite H.S. cage des rouleaux à moitié désintégrée sans que les rouleaux se fassent la malle , la piste intérieure a tourné sur l'arbre , ça devait tourner à peu près rond grâce à l'arbre de sortie de boite. . Les pignons marqués par des bouts de cage . Plus de coupelle bronze sur les satellites avec un jeu très importants sur les axes, les demi-coquilles bien entendu marquées donc H.S. etc....un carnage. La B.T. pissait l'huile par l'axe de l'intermédiaire . Le proprio ne devais jamais faire les niveaux. Elles sont quand même solides ces B.T.

Je suis en train de confectionner quelques "outils" maison avec des éléments de "récup" pour pouvoir démonter et remonter les B.T.. Il ne me reste plus qu' a faire un montage le plus simple possible pour le réglage de l'intermédiaire. Là c'est pas gagné va falloir faire plusieurs tests. Coté démontage c'est tout bon , rien de bien sorcier . Je ne me casse même pas la tête à mettre une épingle + vérin (vis ou hydraulique) sur le décolle roulement , c'est direct à la presse avec le décolle roulement ça passe sans problème.
A plus .
Je suis en train de confectionner quelques "outils" maison avec des éléments de "récup" pour pouvoir démonter et remonter les B.T.. Il ne me reste plus qu' a faire un montage le plus simple possible pour le réglage de l'intermédiaire. Là c'est pas gagné va falloir faire plusieurs tests. Coté démontage c'est tout bon , rien de bien sorcier . Je ne me casse même pas la tête à mettre une épingle + vérin (vis ou hydraulique) sur le décolle roulement , c'est direct à la presse avec le décolle roulement ça passe sans problème.
A plus .
Re: LT230 : Remontage et réglage
Confection des quelques outils pour régler les BT.
Pour l'arbre intermédiaire soit réglage par comparaison ou mesure de jeu.
Le support pour fixer l'arbre et le comparateur:
Récupération d'un ancien arbre , taraudage M10 pour la fixation, coupage du bout d'arbre et taraudage M8 sur le dessus pour maintenir une légère pression sur le roulement.
Assemblage arbre / support:
Montage ensemble pignon roulements avec entretoise ou sans entretoise suivant mode de réglage utilisé. Soit on monte une entretoise assez longue et on prend le jeu . Soit on mesure par comparaison en dévissant l'arbre par le dessous (vis M10) en faisant glisser l'arbre du support pour faire une mesure avec entretoise et sans entretoise . Attention à soulever délicatement le palpeur du comparateur pour ne pas le dérégler quand on sort l'arbre et quand on le replace.
Prise du jeu à l'aide d'une pince à talon :
Confection d'une plaque acier support de comparateur . Cette plaque se fixe par 3 boulons sur le carter de boite. Mesure du jeu de l'arbre du différentiel.
Confection de divers mandrin pour le montage des pistes des Timken (coupage et soudage au tig d'ancienne piste et rallonges les cas échéant)
Confection d'un extracteur pour les spi des sortie avant et arrière.
Confection d'un mandrin pour replacer ces spi soit à la presse ou à l'aide des écrous des accouplements.
Tout ces outils sont fait avec de la récupération.
Pour l'arbre intermédiaire soit réglage par comparaison ou mesure de jeu.
Le support pour fixer l'arbre et le comparateur:
Récupération d'un ancien arbre , taraudage M10 pour la fixation, coupage du bout d'arbre et taraudage M8 sur le dessus pour maintenir une légère pression sur le roulement.
Assemblage arbre / support:
Montage ensemble pignon roulements avec entretoise ou sans entretoise suivant mode de réglage utilisé. Soit on monte une entretoise assez longue et on prend le jeu . Soit on mesure par comparaison en dévissant l'arbre par le dessous (vis M10) en faisant glisser l'arbre du support pour faire une mesure avec entretoise et sans entretoise . Attention à soulever délicatement le palpeur du comparateur pour ne pas le dérégler quand on sort l'arbre et quand on le replace.
Prise du jeu à l'aide d'une pince à talon :
Confection d'une plaque acier support de comparateur . Cette plaque se fixe par 3 boulons sur le carter de boite. Mesure du jeu de l'arbre du différentiel.
Confection de divers mandrin pour le montage des pistes des Timken (coupage et soudage au tig d'ancienne piste et rallonges les cas échéant)
Confection d'un extracteur pour les spi des sortie avant et arrière.
Confection d'un mandrin pour replacer ces spi soit à la presse ou à l'aide des écrous des accouplements.
Tout ces outils sont fait avec de la récupération.
Modifié en dernier par Escanogat le 09/10/2020 14:18, modifié 1 fois.
- The Pater
- Modérateur
- Messages : 13982
- Enregistré le : 25/08/2004 8:19
- Localisation : 06°27'46"E 45°50'29"N
Re: LT230 : Remontage et réglage
Il y a quelque problèmes avec les photos.....
A+
Confection de divers mandrin pour le montage des pistes des roulements à rouleaux coniquesEscanogat a écrit : 08/10/2020 11:41 Confection de divers mandrin pour le montage des pistes des Timken
A+
Ingénieur :
Personne faisant un travail divinatoire de précision basé sur des informations peu fiables données par des personnes peu qualifiées, voire ignorantes.
=>, magicien, devin, sorcier
Personne faisant un travail divinatoire de précision basé sur des informations peu fiables données par des personnes peu qualifiées, voire ignorantes.
=>, magicien, devin, sorcier
Re: LT230 : Remontage et réglage
Oui effectivement pourtant j'ai mis les bonnes photos et j'ai fait un aperçu c'était bon.
Donc nouvel essais:
Donc nouvel essais:
Re: LT230 : Remontage et réglage
Salut,
Beau outils, chapeau, même si effectivement, il semble y avoir un mic mac entre les photos et les légendes
Pour l'arbre intermédiaire, seule la mesure par comparaison avait donné des résultats satisfaisants dans mon cas, mais j'ai du multiplier le nombre de mesures et faire une moyenne.
La mesure par la méthode du jeu ne donnait pas de bon résultat, voir ce sujet
viewtopic.php?f=26&t=7193&p=103802&hilit=casa#p103802
A+
Beau outils, chapeau, même si effectivement, il semble y avoir un mic mac entre les photos et les légendes
Pour l'arbre intermédiaire, seule la mesure par comparaison avait donné des résultats satisfaisants dans mon cas, mais j'ai du multiplier le nombre de mesures et faire une moyenne.
La mesure par la méthode du jeu ne donnait pas de bon résultat, voir ce sujet
viewtopic.php?f=26&t=7193&p=103802&hilit=casa#p103802
A+
Re: LT230 : Remontage et réglage
Par méthode de jeu avec le support que j'ai fait il n'y a aucun problème de mesure c'est certainement plus fiable que par comparaison ou tu bouges comparateur et pièce à mesurer ce qui multiplie les erreurs.
Mon support (bloqué dans un étau) est extrêmement rigide, le fait de bloquer en translation axiale l'empilage plus une poussée avec la pince à talon donne de très bon résultats. La seul chose à prévoir étant une entretoise calibrée de dimension inférieures à l'entretoise finale.
J'ai éditer pour mettre de l'ordre dans les photos .

Mon support (bloqué dans un étau) est extrêmement rigide, le fait de bloquer en translation axiale l'empilage plus une poussée avec la pince à talon donne de très bon résultats. La seul chose à prévoir étant une entretoise calibrée de dimension inférieures à l'entretoise finale.
J'ai éditer pour mettre de l'ordre dans les photos .
Re: LT230 : Remontage et réglage
Escanogat a écrit : 09/10/2020 14:11 Par méthode de jeu avec le support que j'ai fait il n'y a aucun problème de mesure c'est certainement plus fiable que par comparaison ou tu bouges comparateur et pièce à mesurer ce qui multiplie les erreurs.
Mon support (bloqué dans un étau) est extrêmement rigide, le fait de bloquer en translation axiale l'empilage plus une poussée avec la pince à talon donne de très bons résultats. La seul chose à prévoir étant une entretoise calibrée de dimension inférieures à l'entretoise finale.
J'ai éditer pour mettre de l'ordre dans les photos .![]()
![]()
Re: LT230 : Remontage et réglage
BonsoirEscanogat a écrit : 09/10/2020 14:11 Par méthode de jeu avec le support que j'ai fait il n'y a aucun problème de mesure c'est certainement plus fiable que par comparaison ou tu bouges comparateur et pièce à mesurer ce qui multiplie les erreurs.
Mon support (bloqué dans un étau) est extrêmement rigide, le fait de bloquer en translation axiale l'empilage plus une poussée avec la pince à talon donne de très bon résultats. La seul chose à prévoir étant une entretoise calibrée de dimension inférieures à l'entretoise finale.
J'ai éditer pour mettre de l'ordre dans les photos .![]()
![]()
Ce n'ai pas la précision de la mesure qui est incriminée mais la mesure elle même. Voir ce que Pater avait dit dans le sujet qui me concernait :
viewtopic.php?p=103860#p103860
Avec cette mesure, je trouvais des valeurs farfelues qui m'auraient conduit à une entretoise dont la longueur n'existait pas....
Mais je suis preneur de ton retour d'expérience.
A bientôt
Modifié en dernier par casa le 10/10/2020 11:34, modifié 1 fois.
Re: LT230 : Remontage et réglage
Justement avec l'outil que j'ai fait tu n'as pas ce problème car tu peux serrer légèrement l'empilage et le faire tourner pour que les roulements prennent leur place. Par ailleurs un montage à la verticale facilite la prise de jeu (pour de petits éléments) contrairement à un montage horizontal ou c'est plus délicat .
Dans peu de temps je vais déposer ma BT pour la réviser et y monter un différentiel à glissement limité et aussi pour pour monter ça:
Dans peu de temps je vais déposer ma BT pour la réviser et y monter un différentiel à glissement limité et aussi pour pour monter ça:
- The Pater
- Modérateur
- Messages : 13982
- Enregistré le : 25/08/2004 8:19
- Localisation : 06°27'46"E 45°50'29"N
Re: LT230 : Remontage et réglage
Ingénieur :
Personne faisant un travail divinatoire de précision basé sur des informations peu fiables données par des personnes peu qualifiées, voire ignorantes.
=>, magicien, devin, sorcier
Personne faisant un travail divinatoire de précision basé sur des informations peu fiables données par des personnes peu qualifiées, voire ignorantes.
=>, magicien, devin, sorcier
-
RR VM 1992
Re: LT230 : Remontage et réglage
Pour les fragilités du TD4 à traiter LOLO nous apporte des éléments de réponse ici :
viewtopic.php?f=26&t=6579&p=109538&hili ... D4#p109538
Nota : la LT 230 montée sur le DEF TD5 a aussi ses fragilités à "soigner" ; voir ici :
viewtopic.php?t=7193