Ouïes aspiration air moteur sur def Wolf

Bidouilles & bricolages qui facilitent la vie...

Modérateurs : LØLØ, The Pater

Règles du forum
En naviguant sur le site http://www.landroverfaq.com vous reconnaissez avoir lu ses Conditions d’Utilisation, vous déclarez les comprendre et vous acceptez d’y être lié de manière inconditionnelle. Si tel n'est pas le cas, merci de quitter immédiatement ce site.

Vous pouvez joindre autant d'images que nécessaire à vos messages A LA CONDITION EXPRESSE d'utiliser l'hébergement fourni par le site.

L'administrateur effacera systématiquement tout message contenant des photos hébergées chez Imageschack, Casimage, Wistiti ou tout autre hébergeur tiers sans sommation ni justification.
trophymen
Habitué
Messages : 311
Enregistré le : 11/03/2006 13:56
Localisation : Rhône Alpes
Contact :

Ouïes aspiration air moteur sur def Wolf

Message non lu par trophymen »

Bonsoir à tous, depuis quelques temps je me pose des questions sur les fameux systèmes de grilles qui sont apposés sur les ouïes d'aspiration des véhicules militaires dit " Wolf" ... en effet ces land rover équipés de moteurs 300 tdi sont pourvus des deux côtés de grilles bien larges sur les orifices d'aspiration d'air pour le moteur. Chaque véhicule est équipé de ce système de chaque côté, hors comment font-ils pour branché les conduits d'air sachant que la boite à air est dès plus standard et qu'en plus il est dit que ce système empêche l'entrée d'eau dans le circuit d'air lors de franchissement de gués, car c'est bien connu les militaires franchissent de biais et non jamais de face ..

Donc est ce que quelqu'un connait ce système et serait capable de me l'expliquer ... merci
Lrwolf2.jpg
MOD_Wolf_replica_91.JPG
membre du Camel Trophy Owners Club UK
Avatar du membre
Feub
Habitué
Messages : 3928
Enregistré le : 25/11/2004 11:29
Localisation : Saint Jean la Bussière

Re: Ouïes aspiration air moteur sur def Wolf

Message non lu par Feub »

J'avais lu je ne sais plus ou, que c'était un genre de clapet a flotteur... si l'eau monte, le clapet se ferme... donc, vaut mieux sortir de l'eau vite fais... :mrgreen:
Avatar du membre
Mauresque
Webmaster
Messages : 3825
Enregistré le : 06/05/2004 12:53
Localisation : Caromb, Vaucluse (84)
Contact :

Re: Ouïes aspiration air moteur sur def Wolf

Message non lu par Mauresque »

Tiens, j'ai eu une autre version de la part d'un landiste qui verse dans le militaria - et donc m'a assuré bien connaitre son sujet : ces grilles particulières permettraient d'après lui d'atténuer la signature thermique du véhicule. J'ai de sérieux doutes, vu que sur une entrée d'air il n'y a en théorie aucun dégagement de chaleur...
In a world without walls and fences, who needs Windows and Gates ?
trophymen
Habitué
Messages : 311
Enregistré le : 11/03/2006 13:56
Localisation : Rhône Alpes
Contact :

Re: Ouïes aspiration air moteur sur def Wolf

Message non lu par trophymen »

en effet Mau, je suis d'accord avec toi, car à la caméra thermique un bon tireur milan par exemple, est capable de te dire quel type de véhicule il a en face rien qu'a la signature émise par le moteur et sa ligne d'échappement ...

Pour Feub, je pense que tu as raison sur ce système, pourrais tu retrouver tes infos s'il te plait.

Merci
membre du Camel Trophy Owners Club UK
Avatar du membre
rover17
Habitué
Messages : 483
Enregistré le : 16/04/2005 10:54

Re: Ouïes aspiration air moteur sur def Wolf

Message non lu par rover17 »

Amha , il y en a un pour l'air moteur et l'autre pour l'air du chauffage ... :mrgreen:
110 200tdi afrik 2 arb , rrc VM TT 2 truetrac , rrc 300tdi mixte 1 traction control
Avatar du membre
jean-yves 26
Habitué
Messages : 2879
Enregistré le : 06/11/2004 16:30
Localisation : valence 26

Re: Ouïes aspiration air moteur sur def Wolf

Message non lu par jean-yves 26 »

Mauresque a écrit :Tiens, j'ai eu une autre version de la part d'un landiste qui verse dans le militaria - et donc m'a assuré bien connaitre son sujet : ces grilles particulières permettraient d'après lui d'atténuer la signature thermique du véhicule. J'ai de sérieux doutes, vu que sur une entrée d'air il n'y a en théorie aucun dégagement de chaleur...
ça doit être vrai, il y a tellement de retour au carbu sur les séries, que ça finis par se voir...... :mrgreen:
jean-yves 26
trophymen
Habitué
Messages : 311
Enregistré le : 11/03/2006 13:56
Localisation : Rhône Alpes
Contact :

Re: Ouïes aspiration air moteur sur def Wolf

Message non lu par trophymen »

rover17 a écrit :Amha , il y en a un pour l'air moteur et l'autre pour l'air du chauffage ... :mrgreen:
pas idiot ton idée, mais pourquoi alors il y a des snows covers sur les def militaires !!! mais je retiens ton idée, car c'est pas bête :D
membre du Camel Trophy Owners Club UK
Avatar du membre
torero
Habitué
Messages : 2521
Enregistré le : 26/07/2004 14:49
Localisation : Poulx 30

Re: Ouïes aspiration air moteur sur def Wolf

Message non lu par torero »

Salut à tous!

Je tiens l'info d'un (très) vieux Land Mag.En fait c'est bien un clapet qui se fermerait quand l'eau monte trop haut.Il y en a un de chaque côté car LR aurait considéré qu'un Def n'est jamais droit lors d'un passage à gué, il y a toujours un dévers dans un sens ou dans l'autre.Donc quand un clapet est fermé l'autre est ouvert.
" Quand le sage montre la lune; l'idiot regarde son doigt "
trophymen
Habitué
Messages : 311
Enregistré le : 11/03/2006 13:56
Localisation : Rhône Alpes
Contact :

Re: Ouïes aspiration air moteur sur def Wolf

Message non lu par trophymen »

ça me semble en effet plus logique !!! mais lorsque je regarde les photos des ouïes en question, je ne vois pas ou peux se trouver le clapet en question, de plus il faut créer deux circuit d'air pour une seule boite à air ... pas simple à faire si l'on veut que ça soit étanche à minima :D
membre du Camel Trophy Owners Club UK
trophymen
Habitué
Messages : 311
Enregistré le : 11/03/2006 13:56
Localisation : Rhône Alpes
Contact :

Re: Ouïes aspiration air moteur sur def Wolf

Message non lu par trophymen »

Bon après quelques recherches et surtout par le fait que j'ai pu obtenir ces fameuses ouïes pour Def, il ressort qu'il n'y a pas de clapets, mais simplement la pièce est en deux parties, et cela forme une poche d'air qui permet au moteur d'être alimenté, mais ce n'est pas tout ... au point le plus bas de la pièce se trouve un orifice qui évacue l'eau, donc avec le mouvement créer par l'avance du véhicule, l'air est toujours absorbée par le moteur, l'eau n'ayant pas le temps de montée plus haut que le point d'entrée de l'air, vu que l'orifice d'évacuation fait office de chasse et donc le véhicule avance toujours !!! mais il faut également dire, que les def de l'armée Anglaise sont équipés de deux ouïes, et que le niveau d'eau est toujours plus bas d'un côté ou de l'autre lors du passage à gué ...

Maintenant le plus compliqué reste à trouvé la tubulure en Y pour ces deux ouïes et ainsi les reliées à la boite à air ...

j'essaierai demain de faire des photos de ces fameuses ouïes !!! :D
membre du Camel Trophy Owners Club UK
Avatar du membre
rover17
Habitué
Messages : 483
Enregistré le : 16/04/2005 10:54

Re: Ouïes aspiration air moteur sur def Wolf

Message non lu par rover17 »

Si c'est ça , je trouve ça bien plus compliqué qu'un simple schnorkel , ne trouvez-vous pas ?
110 200tdi afrik 2 arb , rrc VM TT 2 truetrac , rrc 300tdi mixte 1 traction control
trophymen
Habitué
Messages : 311
Enregistré le : 11/03/2006 13:56
Localisation : Rhône Alpes
Contact :

Re: Ouïes aspiration air moteur sur def Wolf

Message non lu par trophymen »

compliqué non dans le principe, par contre au niveau montage oui ça se complique en effet !!! mais d'un autre côté tu n'as pas cette perte de puissance due au schnorchel !! et ça c'est un luxe pour le franchissement ... par contre en effet tu ne franchira jamais comme un véhicule équipé du tuba c'est sur :wink: :sm11:
membre du Camel Trophy Owners Club UK
Avatar du membre
rover17
Habitué
Messages : 483
Enregistré le : 16/04/2005 10:54

Re: Ouïes aspiration air moteur sur def Wolf

Message non lu par rover17 »

En diam 80 je n'ai pas remarqué de perte , autant sur VM que 200

je ne pense pas que ce soit un critère important chez les militaires d'ailleurs

par contre les pertes de charge occasionnées par ces deux systèmes en // me laisse dubitatif , sans compter les doubles tuyauteries + couplage sous le capot , ça ne va pas dans la simplicité

doit y avoir explication autre amha , faudrait trouver une photo sous capot de ces def mili
110 200tdi afrik 2 arb , rrc VM TT 2 truetrac , rrc 300tdi mixte 1 traction control
trophymen
Habitué
Messages : 311
Enregistré le : 11/03/2006 13:56
Localisation : Rhône Alpes
Contact :

Re: Ouïes aspiration air moteur sur def Wolf

Message non lu par trophymen »

j'ai beau chercher je n'en trouve pas ... ça permettrait en effet de mieux comprendre ce système :roll:
membre du Camel Trophy Owners Club UK
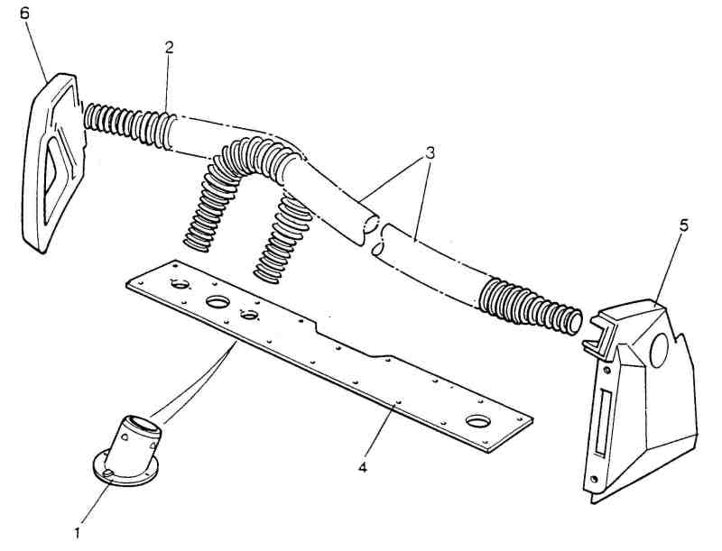
craziland

Re: Ouïes aspiration air moteur sur def Wolf

Message non lu par craziland »

bonsoir a tous :sm6:
je viens de trouver ça
Fichiers joints
PartsDiag.jpg
Avatar du membre
torero
Habitué
Messages : 2521
Enregistré le : 26/07/2004 14:49
Localisation : Poulx 30

Re: Ouïes aspiration air moteur sur def Wolf

Message non lu par torero »

Arf! :D

Visiblement les conduits de chauffage sur un Def conduite à droite.On voit la poignée côté passager, et l'entourage des comandes de chauffage côté conducteur.
" Quand le sage montre la lune; l'idiot regarde son doigt "
trophymen
Habitué
Messages : 311
Enregistré le : 11/03/2006 13:56
Localisation : Rhône Alpes
Contact :

Re: Ouïes aspiration air moteur sur def Wolf

Message non lu par trophymen »

c'est effectivement ça ... ça permet de ne plus avoir de buée à hauteur des vitres des portières, simple et ingénieux .... :D
membre du Camel Trophy Owners Club UK
Avatar du membre
torero
Habitué
Messages : 2521
Enregistré le : 26/07/2004 14:49
Localisation : Poulx 30

Re: Ouïes aspiration air moteur sur def Wolf

Message non lu par torero »

En fouillant un peu j'ai trouvé ce site:
http://www.thexmod.com
On y voit ça
544-1.jpg
1051-1.jpg
3945-1.jpg
J'ai apris aussi que "wolf" n'était pas une appellation officielle, en tous cas au départ.L'appellation officielle étant mod,pour les militaires, ou XD (extra duty) pour Land Rover.Mais le soldat de base en voyant le véhicule avec sa roue de secour sur le côté l'aurait baptisé "wolf" pour "Whell On Left Face".
" Quand le sage montre la lune; l'idiot regarde son doigt "
trophymen
Habitué
Messages : 311
Enregistré le : 11/03/2006 13:56
Localisation : Rhône Alpes
Contact :

Re: Ouïes aspiration air moteur sur def Wolf

Message non lu par trophymen »

Merci pour ces infos, et pour le site... MOD étant "ministère of defence" souvent représenter par une flèche verticale avec le trigramme MOD ... :D
membre du Camel Trophy Owners Club UK
Avatar du membre
rover17
Habitué
Messages : 483
Enregistré le : 16/04/2005 10:54

Re: Ouïes aspiration air moteur sur def Wolf

Message non lu par rover17 »

Image

On dirait bien un Té de jonction effectivement , trophy tu sembles avoir raison donc :sm6:


Peut-être que les militaires ont refusé le schnorkel à cause d'un angle mort dangereux dans leur métier ... ?
110 200tdi afrik 2 arb , rrc VM TT 2 truetrac , rrc 300tdi mixte 1 traction control
Répondre

Retourner vers « Améliorations • Aménagements • Accessoires »